Magna Concursos

Foram encontradas 2.689 questões.

302080 Ano: 2012
Disciplina: Engenharia Civil
Banca: CESGRANRIO
Orgão: Petrobrás
Uma bomba de deslocamento positivo alimenta uma linha de óleo com vazão de 0,04 m3/s. A linha alimenta as câmaras de avanço de dois atuadores lineares, cujas áreas de êmbolo são iguais e valem 0,005 m2.
Sendo a velocidade de avanço de um dos atuadores igual a 5 m/s, a do segundo atuador, em m/s, será de
 

Provas

Questão presente nas seguintes provas
302079 Ano: 2012
Disciplina: Engenharia Eletrônica
Banca: CESGRANRIO
Orgão: Petrobrás
Deseja-se construir um contador digital binário de dois bits com um sinal de controle Z, onde a contagem é crescente quando Z = 1 e decrescente quando Z = 0, conforme ilustrado no diagrama de estados.
Enunciado 302079-1
Para implementar esse contador, foram empregados dois flip-flops tipo D, conforme mostrado na figura abaixo, onde QX representa o bit mais significativo, e QY, o menos significativo.
Enunciado 302079-2
Assim, o circuito combinacional a ser empregado para produzir o sinal de comando DX deve realizar a seguinte função lógica:
 

Provas

Questão presente nas seguintes provas
302019 Ano: 2012
Disciplina: Engenharia Eletrônica
Banca: CESGRANRIO
Orgão: Petrobrás
Deseja-se obter um circuito lógico combinacional que realiza a função lógica descrita pelo mapa de Karnaugh.
WX\YZ 00 01 11 10
00 0 X 0 0
01 0 0 1 X
11 X 0 X 1
10 1 X 0 1
Entretanto, dispõe-se apenas de circuitos integrados 74HC00 (NAND).
Dessa forma, o circuito que realiza a função lógica descrita no mapa é
 

Provas

Questão presente nas seguintes provas
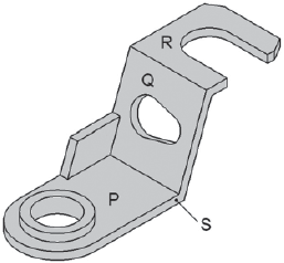
302018 Ano: 2012
Disciplina: Engenharia Mecânica
Banca: CESGRANRIO
Orgão: Petrobrás
Enunciado 302018-1
O desenho é a representação em vista isométrica, no primeiro diedro, de uma peça.
Para representá-la corretamente no primeiro diedro, segundo as normas de desenho técnico, é preciso desenhar, pelo menos, as vistas
 

Provas

Questão presente nas seguintes provas
302013 Ano: 2012
Disciplina: Engenharia Eletrônica
Banca: CESGRANRIO
Orgão: Petrobrás
Na figura, é apresentado o circuito de uma porta lógica digital CMOS complementar, onde a rede abaixadora (pull-down) está faltando.
Enunciado 302013-1
O circuito correto para a rede abaixadora dessa porta lógica é
 

Provas

Questão presente nas seguintes provas
302012 Ano: 2012
Disciplina: Engenharia Mecânica
Banca: CESGRANRIO
Orgão: Petrobrás
Sobre os seguintes conceitos de vistas aplicados em desenho técnico, as peças simétricas podem ser representadas da seguinte forma:
I – por uma parte do todo, e as linhas de simetria são identificadas com dois traços estreitos, curtos e paralelos, traçados perpendicularmente nas extremidades da linha de simetria.
II – pela metade, quando a linha de simetria dividir a vista em duas partes iguais.
III – pela quarta parte, quando as linhas de simetria dividirem a vista em quatro partes iguais.
Está correto o que se afirma em
 

Provas

Questão presente nas seguintes provas
302011 Ano: 2012
Disciplina: Engenharia Mecânica
Banca: CESGRANRIO
Orgão: Petrobrás
Enunciado 302011-1
O joelho a 90º, representado em vista isométrica no primeiro diedro, possui dois flanges circulares em suas extremidades, um com seis furos igualmente espaçados e outro com quatro furos igualmente espaçados, todos com o mesmo diâmetro.
A representação em corte total obtida a partir da vista lateral esquerda, no primeiro diedro, é
 

Provas

Questão presente nas seguintes provas
302010 Ano: 2012
Disciplina: Engenharia Eletrônica
Banca: CESGRANRIO
Orgão: Petrobrás
A figura apresenta um filtro de Sallen-Key, com os valores dos componentes normalizados, cuja resposta em frequência possui uma banda passante que vai até 1,0 rad/s.
Enunciado 302010-1
Em seguida, é apresentada uma versão escalada desse filtro.
Enunciado 302010-2
Qual é, em rad/s, o limite da banda passante do filtro escalado?
 

Provas

Questão presente nas seguintes provas
302009 Ano: 2012
Disciplina: Engenharia Eletrônica
Banca: CESGRANRIO
Orgão: Petrobrás
No circuito da figura, o amplificador operacional é polarizado de modo que os limites máximo e mínimo de excursão de sinal na saída vo sejam + 10 V e – 10 V, respectivamente. Além disso, um sinal senoidal de amplitude igual a 10 V e frequência de 1 kHz é aplicado à entrada vi, conforme mostrado na figura.
Enunciado 302009-1
Desprezando os atrasos devidos à resposta em frequência do amplificador operacional, o instante de tempo td, em milissegundos, apresentado no gráfico da tensão na saída vo, vale
 

Provas

Questão presente nas seguintes provas
302008 Ano: 2012
Disciplina: Engenharia Eletrônica
Banca: CESGRANRIO
Orgão: Petrobrás
No circuito da figura, considere que os diodos apresentam uma queda de tensão VD = 0,7 V quando estão conduzindo corrente e que não apresentam corrente de fuga quando estão em corte.
Enunciado 302008-1
Assim, quando a chave S1 for fechada, a tensão na saída VX, em volts, será
 

Provas

Questão presente nas seguintes provas