Foram encontradas 3.478 questões.
Analise as três amostras de aço carbono reproduzidas abaixo, que foram obtidas por micrografia.

Considerando os aços eutetoide, hipoeutetoide e hipereutetoide, apresentados nesta ordem, a sequência que corresponde às amostras é, respectivamente,
Provas
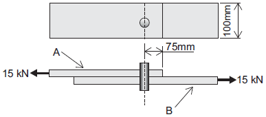
Duas chapas de espessura igual a 20 mm são unidas por um pino de diâmetro igual a 25 mm, sendo as demais informações descritas na figura abaixo.

O valor da maior tensão normal aplicada nas chapas, em MPa, é igual a
Provas
Uma barra de seção quadrada, com 10 mm de lado e comprimento igual a 0,2 m, é submetida a um esforço axial de 1 kN, aplicado no centroide da seção. Se o alongamento obtido for igual a 0,02 mm, o valor do módulo de elasticidade do material da barra, em GPa, será
Provas
Um extensômetro instalado em um vaso de pressão esférico de paredes finas fornece uma leitura de deformação igual a 200 x 10-6. O material do vaso de pressão possui módulo de elasticidade igual a 210 GPa e coeficiente de Poisson igual 0,3. O diâmetro do vaso de pressão é igual a 0,6 m e sua espessura igual a 10 mm. O valor da pressão interna, em MPa, será igual a
Provas
No processo de beneficiamento do minério de ferro, NÃO é considerado um método de aglomeração a
Provas

Considerando a figura e os dados acima, qual a diferença de pressão entre A e B, sabendo-se que o líquido manométrico é o óleo e tem-se água em A e B?
Dados:
densidade do óleo = 0,8
h1 = 200 mm
h2 = 100 mm
h3 = 400 mm
Provas

Qual a representação, em 1º diedro, das vistas frontal, lateral esquerda e superior da peça ilustrada acima?
Provas
Qual a potência consumida para um desprendimento de cavaco de 1 mm2 de secção, usinando duralumínio em uma máquina nova, com rendimento de 85% e utilizando uma ferramenta de aço rápido? Dados:
• Pressão específica de corte = 80 kgf/mm2
• Velocidade de corte = 220 m/min
• 1 CV = 0,736 KW.
Provas

As medidas indicadas nos instrumentos ilustrados nas figuras acima são:
|
Micrômetro |
Paquímetro | Goniômetro |
Relógio Comparador |
Provas

Para a viga mostrada acima, o valor do momento fletor aplicado no engaste A em N . m é igual a
Provas
Caderno Container