Foram encontradas 100 questões.
Assinale a opção que completa corretamente as lacunas da sentença abaixo com relação à formação da Perlita.
A perlita é uma mistura especifica de fases, formada pela transformação da de composição eutedoide, em ferrita e
Provas
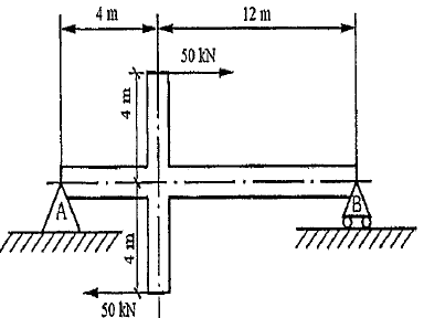
Analise a figura abaixo.

Considerando que a viga representada na figura acima se encontra em equilíbrio, calcule as reações nos apoios A e B para a viga solicitada por forças paralelas com sentidos opostos e assinale a opção correta.
Provas
As válvulas hidráulicas dividem-se em quatro grupos. Sendo assim, assinale a opção que apresenta somente válvulas controladoras de pressão.
Provas
Observe as figuras abaixo:

As figuras acima representam tipos de juntas soldadas. Assinale a opção que apresenta, respectivamente, a nomenclatura correta de cada uma.
Provas
Analise as vistas ortográficas abaixo.

Sobre a figura acima, é correto afirmar que:
Provas
Observe a figura abaixo.

As engrenagens 1 e 2 utilizadas no sistema de transmissão de movimento mostrado na figura acima possuem diâmetros primitivos de 24 cm e 10 cm, respectivamente. Quando a engrenagem 1 gira a 500 rpm, a engrenagem 3 gira a 600 rpm. No Caso da engrenagem 2 ser substituída por outra de 16 cm de diâmetro primitivo, o giro da engrenagem 3, em rpm, deverá ser de:
Provas
Observe a figura a seguir.

Segundo Fialho (2004), de acordo com a norma ANSI (American National Standards lnstitute), a simbologia hidráulica acima representa a válvula:
Provas
Seja !$ \mathfrak{R}(Z) !$ e !$ \mathfrak{F}(Z) !$ respectivamente as partes real e complexa de um número complexo 2 qualquer e 2 seu respectivo conjugado. Analise as afirmações abaixo e assinale a opção correta.
I) !$ Z + \bar{Z} = 2 *\mathfrak{R}(Z) !$
II)!$ Z * \bar{Z} + |Z|^2 = 2 * \mathfrak{R} (Z)^2 !$
III)!$ Z - \bar{Z} = 2 * \mathfrak{F}(Z) !$
Provas
Analise a figura abaixo que apresenta uma medição realizada com um micrômetro.

Assinale a opção que apresenta o valor correto da leitura da medida no micrômetro representado na figura acima.
Provas
Analise a figura abaixo.

O diagrama de tensão x deformação mostrado na figura acima foi obtido de uma máquina de ensaio de tração para um corpo de prova de aço e indica uma região em que a tensão não é proporcional à deformação. Uma barra de aço com área de seção transversal de 1,5 cm2 deve ser solicitada axialmente por uma carga de tração de 27 kN. Sendo assim, considerando a curva mostrada na figura acima, é correto afirmar que essa barra será:
Provas
Caderno Container