Foram encontradas 996 questões.
Converta o número binário 111012 para o sistema de numeração decimal e assinale a opção correta.
Provas
No amplificador, o ganho de tensão de saída é dividida pela
Provas
Analise a tabela abaixo.
| TTL 7420 | |
| Parâmetros | Valores |
| Valor Corrente (máxima) no terminal de entrada, quando é aplicado o nível 0. (IIL) | 1,6 mA |
| Valor Corrente (máxima) no terminal de saída, que a saída ode receber quando em nível 0. (IOL) | 16 mA |
| Valor Corrente (máxima) no termninal de entrada, quando é aplicado o nível 1. (IIH) | 40 !$ \mu A !$ |
| Valor Corrente (máxima) no terminal de saída, quando em nível 1. (IOH) | 0,4 mA |
Utilizando os valores especificados no manual TTL, vistos na tabela acima, calcule os valores de Fan-Out de nível 1 (alto) e assinale a opção correta.
Provas
Observe a tabela abaixo.
| A | B | C | S |
| 0 | 0 | 0 | 1 |
| 0 | 0 | 1 | 1 |
| 0 | 1 | 0 | 1 |
| 0 | 1 | 1 | 1 |
| 1 | 0 | 0 | 1 |
| 1 | 0 | 1 | 0 |
| 1 | 1 | 0 | 1 |
| 1 | 1 | 1 | 1 |
A tabela da verdade acima representa qual expressão booleana?
Provas
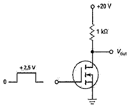
Observe o circuito abaixo.

Determine o valor aproximado da corrente de saturação no Dreno !$ (I_{D(SAT)}) !$ e a região em que o circuito acima está polarizado, respectivamente, quando a tensão na porta for alta e assinale a opção correta.
Dados:
VGS(lig) = 2,5 V
ID(lig) = 100 m A
RDS(lig)=10 !$ Ω !$
Provas
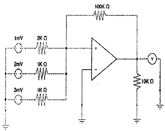
Analise o circuito abaixo.

Assinale a opção que identifica corretamente o tipo de circuito acima apresentado e a tensão indicada no voltímetro V, respectivamente.
Provas
Converta o número decimal 32510 no sistema de numeração binário e assinale a opção correta.
Provas
Observe o circuito abaixo.

Determine o valor da tensão coletor-emissor (VCE) do transistor de silício do circuito acima e assinale a opção correta.
Dado: !$ \alpha ≈ 1 !$ tensão base-emissor (VBE) !$ ≈ !$ 0,7 V
Provas
Converta o número 32410 para o sistema de numeração hexadecimal e assinale a opção correta.
Provas
Assinale a opção que apresenta um tipo de memória volátil.
Provas
Caderno Container