Foram encontradas 100 questões.
A fim de evitar as perdas por histerese nos núcleos de máquinas elétricas de corrente alternada, devem ser utilizados, na construção destes núcleos, materiais com
Provas
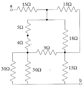
Observe a figura a seguir.

De acordo com o circuito representado acima, qual é o valor da resistência da carga Rc que deve ser colocada entre os terminais a e b, a fim de se obter a máxima transferência de potência entre a fonte de tensão V e a carga?
Provas
Em relação a um circuito RLC série, é correto afirmar que:
Provas
Observe as figuras a seguir.

As figuras acima apresentam os circuitos de força e de comando de um motor elétrico de indução trifásico.
Em relação a estas figuras, assinale a opção correta.
Provas
Observe a figura a seguir.

Qual a resistência equivalente entre os terminais "a" e "b" do circuito acima?
Provas
Ao efetuar a ligação de geradores de corrente alternada em paralelo, é necessário, dentre outras condições, que estes geradores apresentem as mesmas:
Provas
Assinale a opção que apresenta uma forma de atenuar a ocorrência de correntes parasitas em núcleos de transformadores e máquinas elétricas, sem prejudicar o funcionamento destes equipamentos.
Provas
Qual das opções abaixo apresenta a correta classificação da memória RAM (Random-Access Memory)?
Provas
Observe a figura a seguir.

O esquema acima representa um ohmímetro medindo nos pontos A e B a resistência equivalente do circuito formado por dois resistores de valor 2R e um resistor variável Rx. Sendo V, G e R, respectivamente, a tensão entre os terminais da bateria interna, o galvanômetro com escala em ohms e a resistência interna do ohmímetro, determine o valor de Rx para que o ponteiro da escala tenha uma deflexão correspondente à metade da deflexão máxima, e, em seguida, assinale a opção correta.
Provas
Assinale a opção que completa corretamente as lacunas abaixo.
O capacitor em circuitos elétricos armazena energia em seu campo ____ , comportando-se como um para níveis cc em regime permanente, e sua tensão abruptamente.
Provas
Caderno Container