Foram encontradas 879 questões.
1433175
Ano: 2007
Disciplina: Engenharia Ambiental e Sanitária
Banca: CESGRANRIO
Orgão: INEA-RJ
Disciplina: Engenharia Ambiental e Sanitária
Banca: CESGRANRIO
Orgão: INEA-RJ
Provas:
Nos últimos tempos, cresceram as discussões sobre esgotamento dos recursos naturais, e a escassez de água já se apresenta como grande preocupação. O diagrama abaixo representa um sistema de abastecimento de água alternativo, com reciclagem.

Avaliando esse tipo de sistema, conclui-se que
Provas
Questão presente nas seguintes provas
Diversos elementos de captação e transporte fazem parte dos sistemas de galerias de águas pluviais, entre eles aquele responsável por conduzir as águas captadas nas bocas de lobo até os poços de visita, conhecido como
Provas
Questão presente nas seguintes provas
A escala de trabalho de uma imagem de satélite vai determinar a escala final do mapa produzido a partir da interpretação da imagem. Com a disponibilidade de sensores como o AVHRR do NOAA, o MODIS, o CCD do CBERS 2, o ETM+ do Landsat 7 e o Ikonos II, dentre muitos outros, há a possibilidade de se escolher o sensor mais adequado à escala do trabalho. A máxima para se trabalhar com uma imagem é afetada pela(s) resolução(ões)
Provas
Questão presente nas seguintes provas
Abaixo está ilustrado um esquema de adensamento de lodo através de processo de flotação por ar dissolvido.

O líquido supersaturado em ar (pressão~400kPa) entra no tanque no ponto A com a finalidade de
Provas
Questão presente nas seguintes provas
O convívio de humanos com aves silvestres confinadas no ambiente familiar, como animais de estimação, coloca os humanos em risco de infecção por zoonoses de importância em saúde pública, como
Provas
Questão presente nas seguintes provas
Área ou Bacia de Drenagem é a área plana e horizontal de contribuição de precipitação para um determinado ponto (exutório). O tempo necessário para que toda a bacia de drenagem esteja contribuindo para a vazão neste ponto é denominado tempo de
Provas
Questão presente nas seguintes provas
A receita pública, dentro da estrutura do sistema orçamentário, é subdividida em:
Provas
Questão presente nas seguintes provas
Os elementos de fotointerpretação são utilizados em separado ou em conjunto para a identificação de objetos em fotos aéreas. Sobre os elementos utilizados na fotointerpretação analise as afirmações a seguir.
I - Áreas de desmatamento recente podem ser identificadas pela forma, textura e cor, que são diferentes entre floresta e desmatamento, mas o padrão é o mesmo para ambos os casos (floresta e desmatamento).
II - A textura de uma floresta e de um plantio de soja devem ser iguais devido à forte influência da resposta espectral da vegetação.
III - A cor é afetada pela resposta espectral do alvo e a sensitividade do sensor ou filme.
É(São) correta(s) a(s) afirmação(ões)
Provas
Questão presente nas seguintes provas
1432921
Ano: 2007
Disciplina: Engenharia Ambiental e Sanitária
Banca: CESGRANRIO
Orgão: INEA-RJ
Disciplina: Engenharia Ambiental e Sanitária
Banca: CESGRANRIO
Orgão: INEA-RJ
Provas:

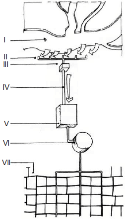
MASCARO, Juan L. e YOSHINAGA, Mário. Infra-Estrutura Urbana. Porto Alegre: Editora +4. 2005.
A imagem acima representa o esquema de uma rede de abastecimento de água e as diferentes etapas e/ou elementos que garantem o funcionamento do sistema.
Estes elementos do sistema correspondem a:
Provas
Questão presente nas seguintes provas
No processo de lodos ativados, empregado para o tratamento das águas residuárias, verifica-se que a(o)
Provas
Questão presente nas seguintes provas
Cadernos
Caderno Container