Foram encontradas 225 questões.
Analise a Figura 16, que apresenta a tela de um osciloscópio ajustado para 2V/div e 1ms/div, e assinale a alternativa correta.

Provas
Provas
A Figura 15 apresenta o diagrama unifilar de um novo laboratório a ser criado na capital:

Ao analisar o diagrama, pode-se afirmar que:
I. Não existem tomadas no projeto, então não está corretamente elaborado.
II. Não existem pontos de luz no projeto, então não está corretamente elaborado.
III. Existe chegada ao Quadro de Distribuição (QD) vindo do Quadro de Medidores (QM).
IV. Não foi previsto um chuveiro, ou torneira elétrica, no banheiro do projeto.
Quais estão INCORRETAS?
Provas
Provas
Coluna 1 1. Chuveiro: 6000W/220V. 2. Torneira de água quente: 4400W/220V. 3. Tomada: 1000W/120V. 4. Luminárias: 240W/120V.
Coluna 2 ( ) Condutor de 2,5mm2, disjuntor monofásico de 10A. ( ) Condutor de 2,5mm2, disjuntor bifásico de 30A. ( ) Condutor de 2,5mm2, disjuntor bifásico de 25A. ( ) Condutor de 1,5mm2, disjuntor monofásico de 5A.
A ordem correta de preenchimento dos parênteses, de cima para baixo, é:
Provas
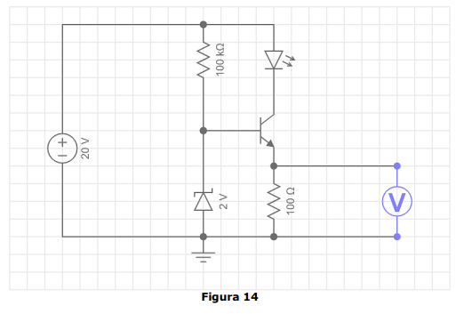
Observe o circuito da Figura 14, que exibe um regulador de tensão corrente constante:

Com base no funcionamento do circuito, determine o valor aproximado da leitura do voltímetro.
Provas

Provas

Com base nas informações da placa, determine qual é a corrente de sobrecarga quando o motor estiver trabalhando em rede de 60Hz e fase 220.
Provas
I. Classe A: fogo em materiais combustíveis sólidos, que queimam em superfície e profundidade através do processo de pirólise, deixando resíduos. II. Classe B: fogo em combustíveis sólidos que se liquefazem por ação do calor, como graxas, substâncias líquidas que evaporam e gases inflamáveis, que queimam somente em superfície, podendo ou não deixar resíduos. III. Classe C: fogo em materiais plásticos, polipropileno e parafinas.
Quais estão corretas?
Provas

Provas
Caderno Container