Foram encontradas 90 questões.
Um tubo fino de um material transparente e termicamente indilatável é adaptado a um recipiente de vidro. Esse recipiente é preenchido com um líquido, à temperatura ambiente \( ϴ \), que, além de enchê-lo completamente, ainda ocupa 2 cm3 do tubo, como ilustrado na figura 1. Provoca-se um decréscimo \( Δ \)\( ϴ \) na temperatura do conjunto até que, quando o volume do recipiente se torna igual a 250 cm3, o líquido fique totalmente nele contido, como ilustra a figura 2.

O coeficiente de dilatação do líquido \( γ_L \) = 181x10-6 ºC-1 e o coeficiente de dilatação linear do vidro \( α_V \) = 7x10-6 ºC-1. O decréscimo \( Δϴ \) na temperatura foi de:
Provas
Um carrinho aproxima-se com velocidade \( v_o \) de outro carrinho de mesma massa que se encontra em repouso nos mesmos trilhos. Após a colisão os carrinhos ficam encaixados e passam a se deslocar, juntos, com velocidade v.

Suponha os atritos desprezíveis. Calcule a razão \( ^{E_c`}/_{E_c} \) entre as energias cinéticas do sistema constituído pelos dois carrinhos depois da colisão (\( E_c \)`) e antes da colisão (\( E_c \)).
Provas
Uma superfície plana, articulada em uma de suas extremidades ao piso horizontal de uma sala, é mantida inclinada, em relação ao piso, por um calço vertical. Um bloco é abandonado sobre a superfície e passa a deslizar sobre ela, como ilustra a figura.

Sendo o coeficiente de atrito de deslizamento entre o bloco e a superfície 0,25, para que o bloco, uma vez iniciado o deslizamento, passe a descer com movimento uniforme, a distância X do calço à extremidade articulada deve valer:
Provas
A figura representa o gráfico posição-tempo de uma partícula animada por um movimento uniformemente variado.

A velocidade escalar da partícula no instante t=0 era:
Provas
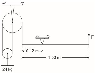
Com relação ao sistema mostrado na figura, a alavanca e a roldana móvel têm pesos desprezíveis, são também desprezíveis os atritos no eixo da roldana fixa e os fios são ideais.

Considere g=10 m/s2. O módulo da força vertical \( \vec{F} \) capaz de manter o sistema em equilíbrio com a alavanca na horizontal é
Provas
Em uma pequena classe de Francês, havia apenas 4 alunos cujas idades são 14, 15, 16 e 18 anos. Com a chegada de um 5º aluno, a média das idades dos integrantes da classe foi alterada e agora vale 15.
Se, antes da chegada do novo aluno, o desvio-padrão do conjunto das idades era 1,48, é correto afirmar que, com a inclusão do novo estudante, essa medida de dispersão
Provas
Uma caixa contém exclusivamente 4 bolas brancas, 5 bolas azuis e algumas bolas pretas. N bolas serão retiradas dessa caixa, simultaneamente. Para que se possa garantir que, entre as bolas retiradas, haverá pelo menos uma de cada cor, N deve valer, no mínimo, 10. Entretanto, se houvesse uma bola preta a mais, o valor mínimo de N para garantir essa condição seria 11.
A quantidade original de bolas pretas na caixa antes da retirada é um número
Provas
Os seres vivos que compõem uma comunidade sofrem influência de seu ambiente, mas também atuam sobre ele, provocando alterações locais. A modificação da estrutura da comunidade ao longo do tempo é denominada sucessão ecológica. Analise a representação da sucessão em um campo abandonado:

LOPES, S. Biologia. Volume I. 3ª ed. São Paulo: Saraiva, 2016.
A imagem representa uma sucessão
Provas
Observe a imagem da divisão de células animais, a seguir.

LINHARES, S. et al. Biologia hoje. Volume I. São Paulo: Ática, 2016.
A imagem apresenta o processo de divisão celular do tipo
Provas
Leia o trecho a seguir.
Quem achou que os efeitos das mudanças climáticas só seriam sentidos pelas próximas gerações, e que aumentar em um ou dois graus a temperatura do planeta não ia fazer diferença, perdeu a aposta. A maior frequência de eventos como secas, enchentes, incêndios, a incidência de doenças antes tipicamente tropicais em áreas de clima temperado, tudo isso deixa claro que os efeitos do aquecimento global já estão aqui.
(O Globo, 28/08/2023)
Com relação ao aquecimento global, analise as afirmativas a seguir e assinale (V) para a verdadeira e (F) para a falsa.
( ) O aquecimento global decorre das alterações na camada de ozônio, responsável por controlar a entrada de radiação ultravioleta que, convertida em calor, aquece em excesso o planeta.
( ) O aquecimento global é o responsável pelo problema da acidificação da água dos oceanos.
( ) O Protocolo de Kyoto estabeleceu que os países industrializados deveriam, dentro de um determinado prazo, reduzir suas emissões de gases que contribuem para o efeito estufa.
As afirmativas são, respectivamente,
Provas
Caderno Container