Magna Concursos

Foram encontradas 60 questões.

1288695 Ano: 2019
Disciplina: Biologia
Banca: Consulplan
Orgão: FASEH
Provas:
Todos os mamíferos são dioicos, com fecundação interna e desenvolvimento direto. O tipo de desenvolvimento embrionário é um aspecto que diferencia a classe Mammalia em três grupos: Prototheria, Metatheria e Eutheria. Em relação às características desses grupos, analise as afirmativas a seguir.
I. Único grupo ovíparos, onde a fêmea choca os ovos até o nascimento.
II. As fêmeas possuem uma bolsa de pele no ventre, o marsúpio, onde os filhotes completam o seu desenvolvimento.
III. O desenvolvimento embrionário é no interior do útero materno, ligado à parede uterina por meio da placenta.
IV. Após chocar os ovos, as fêmeas alimentam os seus filhotes com leite produzido pelas glândulas mamárias.
V. Placenta é o órgão onde o embrião recebe nutrientes e gás oxigênio do sangue da mãe.
VI. O desenvolvimento embrionário é no interior do útero materno, sendo, portanto vivíparos.
São características do grupo Prototheria apenas
 

Provas

Questão presente nas seguintes provas
1288566 Ano: 2019
Disciplina: Biologia
Banca: Consulplan
Orgão: FASEH
Provas:
A síndrome de Klinefelter ocorre quando uma pessoa do sexo masculino apresenta um cromossomo X a mais em seu cariótipo. Essa síndrome não é uma doença rara, sendo uma das condições genéticas mais comuns do mundo.
Aproximadamente uma em cada 660 pessoas do sexo masculino apresenta a doença. Portanto, ao analisar o cariótipo de um indivíduo com essa síndrome, o geneticista encontrará no resultado quantos cromossomos?
 

Provas

Questão presente nas seguintes provas
1288438 Ano: 2019
Disciplina: Física
Banca: Consulplan
Orgão: FASEH
Provas:
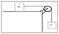
Dois corpos, A e B, de massas diferentes mA = 3 mB são unidos por um fio de massa desprezível e inextensível que passa por uma roldana ideal. O corpo B se encontra apoiado sobre uma superfície de coeficiente de atrito 0,5. De acordo com o esquema, é possível afirmar que a aceleração do sistema vale:
enunciado 2078897-1
 

Provas

Questão presente nas seguintes provas
1288342 Ano: 2019
Disciplina: Física
Banca: Consulplan
Orgão: FASEH
Provas:
O físico Carnot, em seus estudos, descobriu que as máquinas térmicas teriam maior rendimento mediante:
 

Provas

Questão presente nas seguintes provas
1288287 Ano: 2019
Disciplina: Biologia
Banca: Consulplan
Orgão: FASEH
Provas:
Mariana apresenta o fator Rh e foi mãe pela primeira vez de uma criança Rh+. Anos depois da primeira gravidez, ela se encontra novamente em gestação. Se o segundo filho apresentar fator Rh no sangue, o que poderá acontecer?
 

Provas

Questão presente nas seguintes provas
1287353 Ano: 2019
Disciplina: Biologia
Banca: Consulplan
Orgão: FASEH
Provas:
O conjunto de processos que começa da ingestão do alimento até a sua assimilação pelas células é conhecido por nutrição. A espécie humana, diferente de muitas outras espécies, é conhecida por apresentar nutrição heterótrofa e onívora, pois:
 

Provas

Questão presente nas seguintes provas
1287349 Ano: 2019
Disciplina: Matemática Financeira
Banca: Consulplan
Orgão: FASEH
Provas:
Pedro quer fazer uma viagem para o exterior; para isso, ele precisa de R$ 25.000,00. Pedro tem R$ 17.000,00 e vai aplicar todo o seu dinheiro a uma taxa de juros simples de 2,5% ao mês, durante 1 ano e meio. Com bases nessas informações, é correto afirmar que no final da aplicação o montante final é:
 

Provas

Questão presente nas seguintes provas
1287188 Ano: 2019
Disciplina: Português
Banca: Consulplan
Orgão: FASEH
Provas:
Vida pós-Zika
Com ajuda de mães, estudo descobre imunidade após contato com o vírus.
Um estudo feito em parceria com 50 mães que tiveram Zika durante a gravidez concluiu que a maior parte delas — e de seus filhos — desenvolveu imunidade ao vírus. A descoberta, feita por pesquisadores da Fiocruz e do Hospital Universitário Antônio Pedro, da Universidade Federal Fluminense, será apresentada hoje às mães.
As mulheres, que participam da pesquisa voluntariamente, tiveram a infecção durante a gestação e são acompanhadas desde 2016, ao lado de seus filhos. Alguns deles nasceram com a síndrome da Zika Congênita, caracterizada principalmente pela microcefalia; outros têm alterações neurológicas, embora não possuam a síndrome; e o último grupo é assintomático.
No Hospital Antônio Pedro, 36 profissionais fazem o acompanhamento clínico em que avaliam e estimulam o desenvolvimento das crianças, moradoras de Niterói, São Gonçalo, Maricá e Itaboraí. Ali, coletam o sangue que é estudado por 22 cientistas da Fiocruz. Há três principais linhas de pesquisa, sendo a de maior impacto para a população a que resultou na descoberta sobre a imunidade.
Segundo Luzia Maria de Oliveira Pinto, pesquisadora do Laboratório de Imunologia Viral do Instituto Oswaldo Cruz, que coordena os estudos, os dados finais ainda estão sendo concluídos, mas já se pode cravar que a maioria das pessoas pesquisadas desenvolveu, sim, imunidade ao vírus.
Outros dois estudos estão sendo finalizados: um avalia se a intensidade da resposta inflamatória do organismo para combater o vírus na gravidez tem impacto no desfecho clínico do bebê; e o outro verifica se as células podem produzir proteínas e anticorpos contra o vírus.
— Sem essas mães não conseguiríamos fazer as pesquisas. A consequência da infecção já aconteceu. Por isso é um ato que não vai ajudá-las diretamente, mas pode ajudar outras famílias, até porque podem ocorrer novas epidemias — enfatiza a pesquisadora.
Mesmo sem poder se beneficiar diretamente do impacto das pesquisas, nenhuma mãe atendida pelo Hospital Antônio Pedro se recusou a colaborar com os cientistas.
— Por isso quisemos dar uma resposta a elas, mostrar: “olha como vocês contribuíram para a ciência”. A maioria dessas mães era produtiva, tinha emprego, e tudo mudou completamente. A vida delas é dedicada às crianças. Levam os filhos de duas a três vezes por semana para estimulação com fisioterapia, psicologia, fonoaudióloga… São lutadoras — afirma a coordenadora do projeto, Claudete Araújo Cardoso, infectologista pediátrica da Faculdade de Medicina da UFF.
A pesquisadora conta ainda que pretende acompanhar os casos até os bebês crescerem:
— Essas crianças vão ter que continuar sendo estimuladas. Como protocolo de pesquisa, o Ministério da Saúde orienta acompanhá-las por três anos, e decidimos acompanhar por cinco. Mas vou acompanhá-las até virarem adultas.
Na mesma semana em que descobriu que estava grávida, manchas vermelhas apareceram no corpo de Kamila Mitidieri, de 23 anos. Era Zika. Sophia nasceu com a síndrome.
Agora tem 2 anos e 9 meses e faz fisioterapia motora e respiratória e frequenta a fonoaudióloga.
— Ela está se desenvolvendo bem melhor. Aprendeu até a falar “mãe”. Eu sempre soube que ela precisaria de um cuidado maior do que uma criança que não tem nada. Há três meses consegui um emprego, mas tive que sair porque a dona do salão não aceitava que eu levasse minha filha ao médico.
Apesar das dificuldades do dia a dia, ela não hesita em ajudar nas pesquisas e enfrenta seus temores:
— Realmente eu odeio tirar sangue, mas toda vez que me pedem eu tiro. Tenho vontade de ter outro filho, mas tenho medo.
Logo depois que Elisangela Patricia, de 37 anos, recebeu o diagnóstico de Zika, descobriu que estava grávida. Na hora, os médicos disseram que seu filho teria microcefalia, mas não foi o que aconteceu. Ele nasceu sem sintomas, mas, com o passar do tempo, alterações foram sendo descobertas.
Samuel Travassos, de 2 anos e 10 meses, tem pequenos cistos no cérebro, atraso no desenvolvimento e suspeita de autismo.
— Fico com ele o tempo todo, 24 horas por dia. É cansativo, não consigo cuidar de mim, tenho pressão alta e bronquite, mas ele precisa mais que eu. É grudado em mim, toma meu tempo todo, mas eu sempre participo de tudo. Se dizem que tem uma pesquisa, eu ajudo, mesmo não sabendo o que é. Tem que estudar, que pesquisar. Eles ajudam a gente, e a gente ajuda eles.
(TATSCH, Constança. O Globo. 05 de outubro de 2019.)
A expressão do discurso informal e suas características podem ser vistas em alguns trechos do texto. Indica-se um exemplo de construção representativa da linguagem coloquial em:
“Há três meses consegui um emprego, [...]”
“Eles ajudam a gente, e a gente ajuda eles.”
“É cansativo, não consigo cuidar de mim, [...]”
 

Provas

Questão presente nas seguintes provas
1287154 Ano: 2019
Disciplina: Literatura Brasileira e Estrangeira
Banca: Consulplan
Orgão: FASEH
Provas:
“Iluminismo” é a denominação dada ao conjunto das tendências ideológicas, filosóficas e científicas desenvolvidas no século XVIII, como consequência da recuperação de um espírito experimental, racional, que buscava o saber enciclopédico. O Iluminismo foi uma forte influência para a estética literária designada:
 

Provas

Questão presente nas seguintes provas
1286870 Ano: 2019
Disciplina: Literatura Brasileira e Estrangeira
Banca: Consulplan
Orgão: FASEH
Provas:
“O _______________________ contou com importantes cronistas, que documentaram a modernização do país e seus contrastes. Um deles foi ____________________, autor de “Triste fim de Policarpo Quaresma.” Assinale a alternativa que completa correta e sequencialmente a afirmativa anterior.
 

Provas

Questão presente nas seguintes provas