Foram encontradas 320 questões.
Um engenheiro avaliou a necessidade de se disponibilizar um total de 20 sanitários em uma edificação pública a ser construída. A edificação possui um pavimento e, do total de sanitários, metade atenderá pessoas do sexo feminino e a outra metade atenderá pessoas do sexo masculino.
Assim, considerando os critérios de acessibilidade indicados na NBR 9050: 2020, o número total mínimo de sanitários para atender portadores de necessidades especiais nessa edificação é
Provas
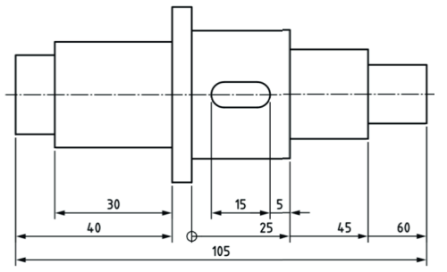
Observe o método de cotagem aplicado na peça a seguir.

(Adaptada de NBR 17068)
Nele, combinam-se os métodos de cotagem conhecidos como cotagem
Provas
A Portaria nº 2.073, de 31 de agosto de 2011, regulamenta o uso de padrões de interoperabilidade e informação em saúde para sistemas de informação em saúde no âmbito do Sistema Único de Saúde (SUS) nos níveis Municipal, Distrital, Estadual e Federal e para os sistemas privados e do setor de saúde suplementar.
Com base no catálogo de padrões de informação presente na portaria, avalie as afirmativas a seguir.
I. Os padrões são definidos em nível lógico e não no nível físico de arquivamento de bancos de dados. Esses padrões documentam propriedades de exibição, enquanto os sistemas legados podem ter suas respostas para integração e interoperação encapsuladas em arquivos JSON aderentes aos padrões do CMD, de forma que, mesmo sem obedecer internamente ao padrão catalogado, possam comunicar-se fazendo uso dele, por meio de JSON Schemas dinâmicos.
II. Para a definição do Registro Eletrônico em Saúde (RES) será utilizado o modelo de referência OpenEHR que define como representar o conhecimento clínico de forma estruturada e computável.
III. Para estabelecer a interoperabilidade entre sistemas, com vistas à integração dos resultados e solicitações de exames, será utilizado o padrão HL7 e possui formatos pré-definidos para a troca de dados de saúde sob a forma de mensagens que são transmitidos entre diversos sistemas.
Está correto somente o que se afirma em
Provas
A Política Nacional de Atenção Básica (PNAB) é resultado da experiência acumulada por conjunto de atores envolvidos historicamente com o desenvolvimento e a consolidação do Sistema Único de Saúde (SUS), como movimentos sociais, usuários, trabalhadores e gestores das três esferas de governo.
A Estratégia Saúde da Família prevê
Provas
A figura a seguir apresenta a vista isométrica de um sólido tridimensional.

(Adaptada de NBR 17006)
Assinale a opção que apresenta três vistas ortográficas principais dispostas segundo o 1º diedro.
Provas
Observe a figura a seguir.

O esquema de modelagem multidimensional usado é do tipo
Provas
- Ataques e Golpes e AmeaçasMalwaresBackdoor
- Ataques e Golpes e AmeaçasMalwaresBot e Botnet
- Ataques e Golpes e AmeaçasMalwaresCavalo de Troia (Trojan)
Aplicativos de software ou scripts que executam tarefas sob comando de terceiros, permitindo que um invasor assuma remotamente o controle total do computador afetado, em que a máquina comprometida também pode ser chamada de zumbi são rotulados pelo termo:
Provas
- Modelo TCP/IPModelo TCP/IP: Camada de Aplicação
- Protocolos e ServiçosInternet e EmailHTTP: Hyper Text Transfer Protocol
Analise a mensagem request HTTP exibida a seguir.
GET /somedir/page.html HTTP/1.1
Host: www.someschool.edu.br
Connection: close
User-agent: Mozilla/5.0
Accept-language: br
Considerando a pilha de protocolos TCP/IP, é correto afirmar que, de acordo com a mensagem, o protocolo nela indicado é da camada de
Provas
A Portaria nº 198/GM instituiu, em 13 de fevereiro de 2004, a Política Nacional de Educação Permanente em Saúde como estratégia do Sistema Único de Saúde para a formação e o desenvolvimento de trabalhadores para o setor e dá outras providências.
De acordo com a referida portaria, é correto afirmar que
Provas
- Segurança de RedesAutenticação de Rede
- Segurança de RedesPolíticas de Segurança de Rede
- Segurança de RedesRBAC: Role-based Access Control
Apache Web Server (versão 2.4) oferece importantes recursos de autenticação de usuários que tentam acessar uma aplicação Web e autorização para que o usuário tenha permissão de realização a ação desejada.
Ele oferece aos administradores três grupos de controles para operacionalizar os processos de autenticação e autorização e cada grupo possui diversos módulos.
Os módulos do grupo authentication type são
Provas
Caderno Container