Magna Concursos

Foram encontradas 555 questões.

3022798 Ano: 2023
Disciplina: Engenharia Mecânica
Banca: VUNESP
Orgão: DPE-SP
Provas:

A figura mostra o esquema básico de funcionamento de um elevador com contrapeso.

Enunciado 3482822-1

Dados: Massa do elevador: 800 kg
Massa do contrapeso: 400 kg
Aceleração da gravidade: 10 m/s2
Desprezar as força de atrito.

A potência necessária do motor elétrico na subida do elevador, com uma velocidade constante de 1,5 m/s, é:

 

Provas

Questão presente nas seguintes provas
3022797 Ano: 2023
Disciplina: Engenharia Mecânica
Banca: VUNESP
Orgão: DPE-SP
Provas:

Os sistemas de ar-condicionado necessitam passar por limpeza e manutenção periódicas para se evitar a contaminação do ar que entra nas edificações. Algumas instalações, segundo a Portaria nº 3.523, de 28 de agosto de 1998, necessitam de um plano de manutenção, operação e controle (PMOC). Por essa resolução, as instalações que necessitam desse plano são aquelas com capacidade de refrigeração de, no mínimo,

 

Provas

Questão presente nas seguintes provas
3022796 Ano: 2023
Disciplina: Engenharia Mecânica
Banca: VUNESP
Orgão: DPE-SP
Provas:

Muitos materiais que são utilizados nos projetos mecânicos devem passar pelo ensaio de impacto. Um dos objetivos do ensaio de impacto é

 

Provas

Questão presente nas seguintes provas
3022795 Ano: 2023
Disciplina: Engenharia Mecânica
Banca: VUNESP
Orgão: DPE-SP
Provas:

A utilização de variadores de frequência em motores elétricos de corrente alternada para controle da rotação tem se tornado cada vez mais frequente. Um variador foi instalado em um motor de 4 polos, e deseja-se alterar a rotação para 1 200 rpm. Para essa condição, qual deve ser a frequência a ser ajustada no inversor?

 

Provas

Questão presente nas seguintes provas
3022794 Ano: 2023
Disciplina: Engenharia Mecânica
Banca: VUNESP
Orgão: DPE-SP
Provas:

As instalações de condicionamento de ar devem ser dimensionadas atendendo a necessidades de temperatura e umidade de cada ambiente. Para esse dimensionamento, deve ser calculada a vazão eficaz de ar exterior, conforme a norma NBR 16401. A vazão eficaz corresponde à vazão de ar relacionada

 

Provas

Questão presente nas seguintes provas
3022793 Ano: 2023
Disciplina: Engenharia Mecânica
Banca: VUNESP
Orgão: DPE-SP
Provas:

No projeto de instalações hidráulicas, é necessário o correto levantamento da curva característica da instalação (CCI). A CCI sobreposta à curva característica da bomba (CCB) determina

 

Provas

Questão presente nas seguintes provas
3022792 Ano: 2023
Disciplina: Desenho Técnico e Industrial
Banca: VUNESP
Orgão: DPE-SP
Provas:

O Autocad é um dos softwares de CAD mais utilizados no desenvolvimento de projetos. Ele apresenta uma série de comandos que servem para facilitar a realização do desenho.

Enunciado 3482816-1

Quando se deseja criar múltiplas cópias de um elemento do desenho tanto em disposição linear quanto em circular, o comando utilizado no Autocad 2016 é:

 

Provas

Questão presente nas seguintes provas
3022791 Ano: 2023
Disciplina: Engenharia Mecânica
Banca: VUNESP
Orgão: DPE-SP
Provas:

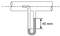
Um tubo de Pitot é um instrumento de medição muito utilizado para medir a velocidade de escoamento de gases. Um tubo de Pitot foi colocado juntamente com um manômetro diferencial em uma tubulação de escoamento de ar, conforme mostra a figura.

Enunciado 3482815-1

Sabendo-se que o fluido utilizado no manômetro diferencial é água com peso específico igual a 10 000 N/m3 e que o peso específico do ar é igual a 10 N/m3, qual a velocidade de escoamento do ar no ponto de medição do interior do tubo em m/s?

Adotar g = 10 m/s2

 

Provas

Questão presente nas seguintes provas
3022790 Ano: 2023
Disciplina: Direito Administrativo
Banca: VUNESP
Orgão: DPE-SP
Provas:

A Lei nº 8.666/93 estabelece as normas gerais sobre as licitações e contratos pertinentes a obras, serviços, compras, alienações e locações no âmbito dos poderes da União, dos Estados e dos Munícipios. No caso de compras, a licitação é dispensável para obras e serviços caso o valor não supere qual porcentagem dos valores limites colocados na lei?

 

Provas

Questão presente nas seguintes provas
3022789 Ano: 2023
Disciplina: Engenharia Mecânica
Banca: VUNESP
Orgão: DPE-SP
Provas:

Utilize a figura para responder a questão.

Enunciado 3482813-1

Se as engrenagens desse sistema são de dentes retos e possuem módulo igual a 2, qual a distância entre centros das engrenagens solar e planetária?

 

Provas

Questão presente nas seguintes provas