Foram encontradas 580 questões.
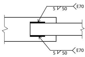
A figura a seguir ilustra uma ligação soldada de duas barras chatas, a respectiva simbologia e descrições.

Essa ligação consiste em solda:
Provas

Provas
Para realizar a construção de um aeroporto com pista de 4 km de comprimento, uma empresa desenvolveu um projeto em CAD no qual a pista apresentava comprimento de 2 cm.
A escala desse projeto é:
Provas
João é o engenheiro civil responsável pela elaboração do projeto e pela execução da obra de construção de um prédio de três pavimentos. O projeto estava eivado de falhas técnicas e a execução das obras não contou com as cautelas previstas nas normas de regência. Assim, em razão da conduta imperita do engenheiro, no curso da obra, a construção entrou em colapso e desabou, ocasionando a morte do pedreiro José.
No caso em tela, João:
Provas
A ABNT fornece diretrizes para a execução de pinturas em edificações não industriais, estabelecendo uma preparação para cada tipo de superfície, que deve ser realizada antes da aplicação do acabamento.
Lavar com solução de água e detergente neutro, enxaguar e aguardar a secagem é a preparação necessária a uma superfície (em bom estado) para alvenaria do tipo:
Provas
A execução de alvenaria de tijolos e blocos cerâmicos, sem função estrutural, é muito empregada nas edificações. Com relação às condições de execução estabelecidas pela ABNT, analise as afirmativas a seguir.
I. As alvenarias apoiadas em alicerces devem ser executadas no mínimo 48 horas após a impermeabilização dos alicerces.
II. Recomenda-se chapiscar a face da estrutura que fica em contato com a alvenaria.
III. No caso de alvenaria de blocos de vedação, estes devem ser usados com furos na vertical, exceto em disposições construtivas particulares.
Está correto o que se afirma em:
Provas
Uma tubulação vertical de 200 mm de diâmetro apresenta, em um pequeno trecho, uma seção contraída de 100 mm no diâmetro. Nesse ponto II, a pressão é de 10,3 mca (1 atm). Em uma seção I, situada 2 m acima da seção contraída II, a pressão é de 11,3 mca.

Desprezando as perdas internas por atrito, a velocidade na seção I é de:
Use Bernoulli e g = 10 m/s2 .
Provas
Provas
Provas
- Lei de Responsabilidade FiscalDívida e Endividamento (arts. 29 ao 42)Operações de Crédito (arts. 32 ao 39)
Com o objetivo de ampliar o controle sobre o endividamento dos entes públicos, a Lei de Responsabilidade Fiscal (LRF) estabeleceu uma série de disposições para auxiliar na identificação e no controle da dívida pública.
O item a seguir que se equipara às operações de crédito é o(a):
Provas
Caderno Container