Foram encontradas 70 questões.
Em uma garrafa pet são feitos três pequenos orifícios nos pontos A, B e C, conforme representado na figura 1. Em seguida a garrafa é preenchida com certa quantidade de água, fechada e colocada na posição horizontal com os orifícios voltados para baixo, como representado na figura 2.

Diante do exposto, assinale a afirmativa correta.
Provas
A jangada representada na figura a abaixo é constituída por 6 toras de madeira de 80 kg cada e densidade 0,6 g/cm3.

Ao ser posta para navegar em água doce, cuja densidade vale 1000 kg/m3, assinale a alternativa que apresenta a carga máxima que pode ser colocada sobre ela sem que afunde.
Provas
Para esta questão, considere a aceleração da gravidade local igual a 10 m/s2. Um dispositivo encontrado em diversos quartéis é o "poste de bombeiro". Esse equipamento é um poste vertical, geralmente de metal, que agiliza a descida de bombeiros entre os andares do prédio utilizado para suas instalações. Se um bombeiro de 90 kg, incluindo suas roupas e equipamentos, encontra-se no segundo andar do prédio, a uma altura de 4,5 m do chão e após descer por um desses postes chega ao chão com uma velocidade de 5 m/s, assinale a alternativa que apresenta a energia dissipada pelos atritos durante a descida.
Provas
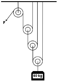
Um exercício de treinamento de salvamento consiste em erguer uma pessoa utilizando cordas e roldanas ideais, como indicado na figura abaixo.

Considere a aceleração da gravidade local igual a 10 m/s2 e assinale a alternativa que apresenta valor da força F constante que deve ser realizado na extremidade da corda para que o corpo de 60kg seja erguido com uma aceleração constante de 0,2 m/s2.
Provas
No circuito elétrico representado abaixo, temos uma fonte de força eletromotriz de 12 V associada a três resistores ôhmicos ligados por fios ideais. O resistor representado por R’ pode ter sua resistência ajustada entre 2 k\( Ω \) e 16 k\( Ω \) e “r” vale 6 k\( Ω \). A condição de máxima transferência de potência para o trecho entre os pontos A e B se dá na situação que a resistência equivalente entre esses pontos é igual à resistência interna (r) da fonte. Dessa forma, assinale a alternativa que apresenta o valor de R’ que leva à condição de máxima transferência de potência e o valor da corrente elétrica no resistor 2.r nesse momento, respectivamente.

Provas
Um medicamento deve ser transportado no interior de uma caixa térmica adiabática a uma temperatura ideal de 263 K, no entanto, no interior dessa caixa térmica foram colocados 1,26 kg de um gel térmico a –30°C. Para atingir a temperatura ideal, devemos colocar no interior da caixa térmica uma determinada massa de água inicialmente a 20 °C. Considerando que o transporte da caixa térmica ocorra ao nível do mar e que as trocas de calor ocorram exclusivamente entre o gel e a água, a massa m de água deverá ser: ______.
Assinale a alternativa que preencha corretamente a lacuna.
(Dados: calor específico do gelo = calor específico do gel térmico = 0,5 cal/g.°C; calor específico da água = 1 cal/g.°C; calor latente de fusão do gelo = 80 cal/g; calor latente de vaporização da água = 540 cal/g; densidade da água = 1 g/cm3).
Provas
Um condutor de uma viatura do corpo de bombeiros precisa atender a um chamado de emergência, necessitando ir do ponto A do mapa a seguir ao ponto B no menor intervalo de tempo possível. O condutor sabe que se executar o trajeto ACB, a velocidade média que consegue desenvolver entre os pontos A e C é de 100 km/h e entre os pontos C e B essa velocidade média cai para 50 km/h. Já indo pelo trajeto ADB, sabe que a velocidade média que consegue desenvolver entre A e D vale 60 km/h e entre D e B essa velocidade média aumenta para 84 km/h. Sabendo que os trechos AD, DB e CB são iguais e que o trecho AC é a metade do trecho AD, o caminho que o condutor deve escolher será:
Provas
Devido ao prolongado tempo de uso, um termômetro de mercúrio líquido está com parte de sua escala apagada, sendo possível aferir apenas alguns valores. Com o auxílio de uma régua foi possível determinar que a 3 cm do centro do bulbo do termômetro a marcação visível era de 28 °C e que a 9 cm acima do centro do bulbo a temperatura indicada era de 40 °C. Assinale a alternativa que apresenta a distância do centro do bulbo à temperatura de 37 °C.
Provas
O corpo de bombeiros está organizando um treinamento para suas equipes. Para isso, eles precisam distribuir três tipos de equipamentos (x, y, z) entre as equipes, seguindo as seguintes regras.
1. A soma total de equipamentos distribuídos deve ser igual a 30.
2. O número de equipamentos do tipo x deve ser o dobro do número de equipamentos do tipo y.
3. O número de equipamentos do tipo z deve ser igual à soma dos equipamentos dos tipos x e y.
Com base nessas informações, determine quantos equipamentos de cada tipo foram distribuídos.
Provas
O corpo de bombeiros registrou o tempo (em minutos) gasto para atender a 5 chamadas emergenciais em um determinado período. Os tempos registrados foram:
12,15,18, 20, 25
Diante do exposto, assinale a alternativa que apresenta a variância populacional do tempo de atendimento.
Provas
Caderno Container