Magna Concursos

Foram encontradas 1.172 questões.

2624544 Ano: 2023
Disciplina: Engenharia Mecânica
Banca: FUMARC
Orgão: AL-MG
Usando o diagrama de transformação isotérmica para uma liga ABNT 1080 (Figura 6), especifique a dureza em HRC e a resistência à tração para o ciclo térmico abaixo. Utilize a Tabela 2 (INSERIR TABELA DA QUESTÃO 42) de conversão de dureza, e considere: Limite de Resistência = Dureza (HB) / 3 (a) Aquecimento a 800 °C a uma taxa de aquecimento de 2 °C/s, manutenção nessa temperatura por 1 hora, e, em seguida, resfriamento rápido até a temperatura ambiente (25 °C), e, em seguida, aquecimento a 500 °C em forno com manutenção por 1 hora, e então resfriamento em água até a temperatura ambiente (Figura 7).
Enunciado 3168696-1

A dureza em HRC e a resistência à tração para o ciclo térmico são, respectivamente:
 

Provas

Questão presente nas seguintes provas
2624543 Ano: 2023
Disciplina: Engenharia Mecânica
Banca: FUMARC
Orgão: AL-MG
Mediu-se a dureza Brinell no centro de um eixo de aço ABNT 4140 após austenitização a 900 °C, têmpera em óleo seguido de revenimento na temperatura de 580 °C por 2 h foi resfriado em forno até a temperatura ambiente. Mediu-se a dureza na escala Brinell na temperatura ambiente. A carga (P) utilizada foi de 187,5 kgf com diâmetro do penetrador de 2,5 mm e diâmetro da calota de 0,90 mm. Calcule a relação de carga e a dureza Brinell do eixo. Utilize a relação de carga P/D2 ; Enunciado 3168695-1

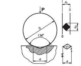
Na Figura 5, apresentam-se duas impressões de dureza (macrodureza) na superfície polida do aço ABNT 4140 temperado e revenido (285 HB). Abaixo, encontra-se o perfil de uma seção reta nesta região. Pergunta-se: a) Calcule a diagonal da impressão, a partir da conversão na Tabela da Figura 5 abaixo, sabendo que a carga utilizada na dureza Vickers foi de 30 kgf.
HV = 1,854 P/d2
Figura 5: Desenho esquemático dos ensaios Brinell e Vickers.
Enunciado 3168695-2

Tabela 2: Conversão de Dureza Rockwell ( C; A; D) ; Vickers ; Shore e Brinell com diâmetro do indentador de 10 mm.

Enunciado 3168695-3

A relação de carga e a dureza Brinell do eixo são, respectivamente:
 

Provas

Questão presente nas seguintes provas
2624542 Ano: 2023
Disciplina: Engenharia Mecânica
Banca: FUMARC
Orgão: AL-MG
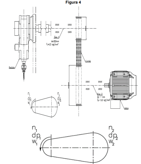
Determine o diâmetro do eixo de interligação do motor (Eixo 2), tomando como referência o eixo das juntas como no esquema abaixo (Figura 4):
Enunciado 3168694-1

Observações:

1- Considere o cálculo do eixo à torção. 2- ⌀: Diâmetros, T: Torque e τ:Tensões de Cisalhamento são variáveis. 3- Considere η:100%.
 

Provas

Questão presente nas seguintes provas
2624541 Ano: 2023
Disciplina: Engenharia Mecânica
Banca: FUMARC
Orgão: AL-MG
Um ciclo de refrigeração por compressão de vapor é um ciclo termodinâmico que objetiva a extração de calor de um meio através de um trocador de calor percorrido pelo fluido de trabalho enquanto este evapora. Para promover a circulação do fluido, podem ser usados diferentes tipos de compressores. É uma afirmativa verdadeira sobre os diferentes tipos de compressores:
 

Provas

Questão presente nas seguintes provas
2624540 Ano: 2023
Disciplina: Engenharia Mecânica
Banca: FUMARC
Orgão: AL-MG
Um ciclo de refrigeração por compressão de vapor extrai calor de um meio a -3 °C e rejeita calor para a atmosfera externa a 27 °C. O diagrama mostrado representa a evolução da temperatura com a entropia e o ciclo e a tabela fornecida contém as entalpias para cada estado do ciclo (Figura 3) (Tabela 1).
Enunciado 3168692-1

A alternativa que apresenta o valor mais próximo da razão do coeficiente de desempenho do ciclo de refrigeração pelo coeficiente de desempenho de um ciclo de refrigeração de Carnot, operando entre os mesmos meios, é:
 

Provas

Questão presente nas seguintes provas
2624539 Ano: 2023
Disciplina: Engenharia Mecânica
Banca: FUMARC
Orgão: AL-MG
Um tanque para transportar amônia líquida (NH3) na temperatura ≤ 50 °C sofreu uma fratura brusca durante seu esvaziamento a uma pressão de 1,83 MPa (Figura 2). Utilizando o critério de mecânica da fratura, determine o valor de tenacidade à fratura KC, considere:
Enunciado 3168691-1
 

Provas

Questão presente nas seguintes provas
2624538 Ano: 2023
Disciplina: Engenharia Mecânica
Banca: FUMARC
Orgão: AL-MG
Considere um elevador hidráulico com massa de carga nominal de 1000 kg, cuja massa do carro vazio e demais componentes é de 400 kg e possui 4 dispositivos apoiadores. Considere que os dispostivos apoiadores são fornecidos com amortecedor do tipo dissipação de energia. Assinale a alternativa que MELHOR indica a força vertical total sobre os batentes fixos imposta durante a operação do dispositivo apoiador.
 

Provas

Questão presente nas seguintes provas
2624537 Ano: 2023
Disciplina: Engenharia Mecânica
Banca: FUMARC
Orgão: AL-MG
Os cabos de aço são amplamente usados em máquinas de elevação, como órgãos flexíveis de elevação. Quando comparado às correntes possuem como vantagens a maior leveza, menor suscetibilidade a danos, operação silenciosa, maior confiança de operação. Os defeitos em cabos são consequências de operações erradas ou do próprio desgaste natural, sendo os defeitos mais comuns: arames rompidos, amassamento do cabo, deformação do trançado ou gaiola de passarinho e nó ou dobra. Considere um guindaste de carga nominal 20 t com fator de segurança igual a 5, em que o cabo de aço possui 25 mm de diâmetro. Assinale a alternativa que fornece a MELHOR tensão de resistência recomendada
 

Provas

Questão presente nas seguintes provas
2624536 Ano: 2023
Disciplina: Engenharia Mecânica
Banca: FUMARC
Orgão: AL-MG
Considere um freio traseiro automotivo de duas sapatas internas que são aplicadas contra a face interna de um tambor de freios. Para esse tipo de freio, considere uma força de acionamento de 1 kN, que a distância entre a força e o pivotamento é de 150 mm e que o momento devido ao atrito é de 2 x 10-4 N.m x Pmáx e o momento devido à força normal é 4 x 10-4 N.m x Pmáx ; sendo Pmáx a pressão máxima da qual ambos os momentos dependem. Assinale a alternativa que MELHOR indica a pressão máxima de frenagem.
 

Provas

Questão presente nas seguintes provas
2624535 Ano: 2023
Disciplina: Engenharia Mecânica
Banca: FUMARC
Orgão: AL-MG

O ensaio de cisalhamento consiste na aplicação de uma força perpendicular ao eixo longitudinal do corpo. Essa força aplicada no plano da seção transversal é chamada de cortante (Figura 1). Reagindo a essa força, o material desenvolve em sua seção transversal uma resistência ao cisalhamento. É exatamente essa resistência que pode ser determinada através do presente ensaio, simultaneamente à medição da deformação sofrida pelo eixo. Considere que o ensaio forneceu uma tensão de cisalhamento para fratura de 100 GPa, sabendo que o diâmetro do corpo de prova é de 10 mm.

Assinale a alternativa que MELHOR indica a força suportada pelo corpo de prova.

Enunciado 3168687-1

 

Provas

Questão presente nas seguintes provas