Foram encontradas 4.782 questões.
Peças cujas seções têm a forma de polígonos regulares são obtidas em fresadoras empregando-se o dispositivo denominado
Provas
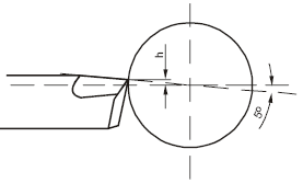
A figura abaixo mostra a posição de ataque de uma ferramenta para o torneamento de uma peça.

A altura da ferramenta de corte em relação ao eixo geométrico do torno é recomendada no processo de
Provas
Uma das práticas elementares de um mecânico consiste na identificação do tipo de material a partir da observação do aspecto da fagulha liberada por ele (material), quando desbastado pela ação de um esmeril. As figuras I e II representam o aspecto da faísca liberada pelo material quando da usinagem do centro e da periferia, respectivamente.

Analisando as figuras, é possível concluir tratar-se de uma peça
Provas
Em uma ECDR - engrenagem cilíndrica de dentes retos, perfil envolvente, o parâmetro definido no sistema métrico como módulo é dado pela relação entre
Provas
Na afiação de uma ferramenta de aço rápido, o rebolo a ser utilizado deverá apresentar
Provas
Em uma guia de requisição de materiais, no item rebolo, foi especificado pelo técnico o código A36K6V. Neste código, a dureza do aglomerante é dada por
Provas
A figura abaixo representa um rolamento rígido de esferas lubrificado em banho de óleo.

Nesse caso, com o rolamento parado, a altura do óleo deve estar no nível
Provas
Um aço de fácil usinagem, caracterizado pelo alto teor de enxofre e 0,4% de carbono em sua composição química, pela norma ABNT é designado pelo número
Provas
O meio de resfriamento recomendado num processo de têmpera de uma ferramenta de aço rápido é o banho em
Provas
Em mecanismos oscilantes, com carga variável, tendo como agravante um limitado espaço radial para a montagem de apoios, deve-se optar por rolamentos
Provas
Caderno Container