Foram encontradas 600 questões.
Em sistemas hidráulicos, é importante determinar qual a potência de acionamento da bomba. Para uma bomba hidráulica que opera com uma vazão de 12 l/min, a uma pressão de 250 bar e com rendimento de 80%, qual é a potência de acionamento dessa bomba?
Provas
Os circuitos digitais, muitas vezes, são representados pelos circuitos lógicos. Estes circuitos, por sua vez, também podem ser representados por uma função booleana.

(Arquivo pessoal; imagem usada com autorização.)
O circuito lógico da imagem é representado corretamente pela função:
Provas
Um dos instrumentos mais utilizados nas medições de peças é o paquímetro.

(Arquivo pessoal; imagem usada com autorização.)
Na figura, o valor da medida mostrada em polegada fracionária é:
Provas
Circuitos pneumáticos são formados por uma série de atuadores e válvulas montados de forma lógica para atender a determinada finalidade. Cada uma das válvulas tem uma função dentro do circuito.

(Arquivo pessoal; imagem usada com autorização.)
No circuito pneumático da imagem, a válvula indicada pelo número 1 tem a função de controlar
Provas
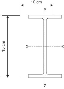
A figura a seguir mostra uma viga biapoiada de seção constante com 4 m de comprimento. Sobre essa viga é colocada uma carga distribuída com valor igual a 5 kN/m.

(Arquivo pessoal; imagem usada com autorização.)
Dados:
• Tensão na flexão: \( \sigma = { \large M.y \over I} \)
• Seção transversal da viga:

• Momento de Inércia: 500 cm4
(Arquivo pessoal; imagem usada com autorização.)
Para essas condições de carregamento, determine qual a máxima tensão de flexão atuante sobre a viga.
Provas
Portas lógicas são a base para a construção dos circuitos digitais.

(Arquivo pessoal; imagem usada com autorização.)
No diagrama está representado um circuito elétrico com um led e uso de porta do tipo:
Provas
Um instrumento de medição que realiza medidas próximas umas das outras, mas distantes da medida real, é um instrumento
Provas
A rotação de um motor elétrico de corrente alternada depende do número de polos e da frequência da rede de alimentação do motor. A utilização de inversores de frequência tornou mais versátil o uso desse tipo de motor, pois os inversores possibilitam a alteração da rotação do motor alterando a frequência da alimentação. Para que um motor com 4 polos tenha uma rotação de 360 rpm, a frequência de alimentação a ser ajustada no inversor é:
Provas
Muitas vezes é necessária a determinação experimental da tensão atuante em um ponto de um componente ou de uma estrutura mecânica. Para essa medição, são utilizados strain gauges que medem indiretamente a deformação no ponto da estrutura, e a partir dessa deformação determina-se a tensão atuante nesse ponto. O princípio de funcionamento dos strain gauges para medir a deformação é a variação
Provas
Nos circuitos elétricos, é importante conhecer qual a corrente elétrica que passa pelos componentes deles.

(Arquivo pessoal; imagem usada com autorização.)
No circuito da imagem, a corrente que passa pelo resistor R1 é:
Provas
Caderno Container