Foram encontradas 670 questões.
Em relação às atribuições do auxiliar de biblioteca, quanto ao serviço de circulação de acervo, analise as afirmativas a seguir:
I. Realiza e controla os empréstimos, devoluções, reservas e renovações.
II. Alimenta e mantém o cadastro de usuários.
III. Coordena a aquisição de publicações.
Assinale a opção correta:
Provas
Questão presente nas seguintes provas
Vários tipos de coleções podem fazer parte de uma biblioteca, como, por exemplo, obras de referência, obras gerais, materiais especiais e periódicos. Considerando a coleção de periódicos, os tipos de materiais que podem ser encontrados nesse acervo são:
Provas
Questão presente nas seguintes provas
Sobre as atividades do setor de desenvolvimento de coleções, assinale a alternativa que corresponde a uma das atividades do setor.
Provas
Questão presente nas seguintes provas
De acordo com a norma ABNT NBR-6023 – Elaboração de referências de 2011 da Associação Brasileira de Normas Técnicas, catalogação na fonte é aquela em que a ficha catalográfica é elaborada quando o livro está em fase de impressão. Segundo a norma, a parte do livro em que ela aparece é:
Provas
Questão presente nas seguintes provas
Ao atender um usuário que não encontrou a informação desejada na biblioteca, analise as afirmativas a seguir sobre o procedimento do auxiliar de biblioteca:
I. Solicita o atendimento do bibliotecário de referência para auxiliar na busca da informação.
II. Oferece um material que não tem interesse para ver se o usuário aceita.
III. Indica ao usuário para que ele procure a informação na Internet.
IV. Comunica a possibilidade de utilizar o serviço de empréstimos entre bibliotecas.
De acordo com as afirmativas apresentadas, assinale a alternativa que contém somente procedimentos adequados:
Provas
Questão presente nas seguintes provas
No que tange à disciplina constitucional das penas, assinale a resposta correta.
Provas
Questão presente nas seguintes provas
Não consiste em direito social previsto no Art. 6º, caput da Constituição da República:
Provas
Questão presente nas seguintes provas
Quanto ao regime constitucional da remuneração dos servidores públicos, selecione a alternativa correta.
Provas
Questão presente nas seguintes provas
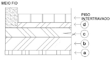
A execução de pisos intertravados, de elementos pré-moldados de concreto, é feita sobre camadas, conforme o desenho a seguir.

A identificação correta da sequência dessas camadas (a, b, c, d.) respectivamente é:
Provas
Questão presente nas seguintes provas
Na figura a seguir, as tubulações enumeradas representam, respectivamente:

Provas
Questão presente nas seguintes provas
Cadernos
Caderno Container