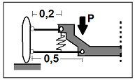
A figura abaixo mostra um sistema de suspensão de um veículo, o qual possui um peso P = 14 kN que se
distribui uniformemente nas quatro rodas. Sendo a constante de rigidez da mola K = 43 kN/m e considerando
que as barras têm o comportamento de um corpo rígido sem qualquer interferência inercial, a frequência natural
(rd/s) para o sistema da figura, cujas dimensões estão em metro (g=9,81 m/s2), é
Os óleos lubrificantes representam um papel importante para o funcionamento de máquinas e equipamentos,
no que diz respeito aos movimentos das peças e suas proteções. Por outro lado, sobre o seguinte: óleos
lubrificantes, é CORRETO afirmar que
A empilhadeira mostrada na figura pesa 15 kN e transporta um contêiner de carga. Ela possui duas rodas
dianteiras e duas rodas traseiras. O valor da carga em N que pode ser transportada antes que a empilhadeira
comece a pender para frente sobre as rodas dianteiras é
Na atualidade, as redes de dados e voz são construídas de acordo com a norma técnica NBR-14565 e o
cabeamento balanceado tipo UTP categoria 6 tem largura de banda de frequência especificada até
Considere o circuito abaixo, alimentado por uma fonte vi (t), em que R= 10 kΩ e C =0,1μF e a tensão de saída
é vo (t). A função de transferência, no domínio da frequência de V0/Vi, é