Magna Concursos

Foram encontradas 272 questões.

2460842 Ano: 2013
Disciplina: Física
Banca: UECE
Orgão: UECE
Provas:

Em um teste de qualidade de bola de futsal padrão FIFA, duas bolas b1 e b2 são soltas em queda livre de uma altura de 2 m, chocando-se contra uma placa horizontal e retornando cada uma a uma altura de h1 = 55 cm e h2 = 65 cm. As variações na energia cinética das bolas são !$ \Delta E_1 !$ e !$ \Delta !$E2 (para as bolas b1 e b2 respectivamente) e, no momento linear, são !$ \Delta !$p1 e !$ \Deltap !$2 (para as bolas b1 e b2 respectivamente), tomadas entre os instantes imediatamente antes e imediatamente após a colisão com a placa. Se as bolas têm massas iguais e o atrito com o ar pode ser desprezado, pode-se afirmar corretamente que

 

Provas

Questão presente nas seguintes provas
2460841 Ano: 2013
Disciplina: Física
Banca: UECE
Orgão: UECE
Provas:

Calor intenso e permanência de temperaturas elevadas por vários dias refletem-se necessariamente na expansão do consumo residencial de energia elétrica. Considere um consumo médio residencial de 160 kWh por mês. No Rio de Janeiro, onde o consumo cresceu aproximadamente 16%, a temperatura máxima na capital chegou a ficar, em média, no início do verão, 7 °C acima da esperada. Considere que o calor específico da água é 4,2 J/g °C. Os 16% de energia a mais consumida no período de um mês em um domicílio seriam suficientes para aquecer de 7 °C aproximadamente quantos quilogramas de água?

 

Provas

Questão presente nas seguintes provas
2460840 Ano: 2013
Disciplina: Física
Banca: UECE
Orgão: UECE
Provas:

A UECE tem um sistema de geração de energia elétrica do tipo solar fotovoltaica, com potência instalada de 5 kW, utilizado para pesquisas e desenvolvimentos tecnológicos. Nesse tipo de sistema, a transformação de energia solar em elétrica é feita em células fotovoltaicas. Essas células geram uma tensão elétrica cujo valor depende, dentre outros fatores, da corrente elétrica que passa por seus terminais, conforme o exemplo do gráfico a seguir.

Enunciado 2938267-1

Para os valores de tensão e corrente correspondentes aos pontos no gráfico, pode afirmar corretamente que as potências P1, P2 e P3 geradas pela célula são tais que

 

Provas

Questão presente nas seguintes provas
2460839 Ano: 2013
Disciplina: Física
Banca: UECE
Orgão: UECE
Provas:

De acordo com dados da Associação Brasileira de Energia Eólica, a capacidade de produção instalada dessa fonte energética é aproximadamente 2.700 MW. Em 2012, o fator de capacidade da fonte eólica, que é a proporção entre o que foi gerado nas usinas e a sua capacidade instalada, foi, em média, 33%. Considerando um consumo médio residencial de 160 kWh por mês, essa geração eólica seria suficiente para atender aproximadamente quantos milhões de domicílios?

 

Provas

Questão presente nas seguintes provas
2460838 Ano: 2013
Disciplina: Física
Banca: UECE
Orgão: UECE
Provas:

Duas massas diferentes e puntiformes, m1 e m2, estão sobre um disco de raio R que gira horizontalmente com velocidade angular constante próximo à superfície da Terra. As massas giram com o disco sob ação da força de atrito estático, estando m1 e m2 a uma distância d1 e d2 da borda do disco, respectivamente. Suponha que a rotação acontece a uma velocidade tal que as massas ficam simultaneamente na iminência de deslizamento do disco. Assim, deve-se ter

 

Provas

Questão presente nas seguintes provas
2460837 Ano: 2013
Disciplina: Física
Banca: UECE
Orgão: UECE
Provas:

Medidas em física devem ser expressas com observância ao uso correto de algarismos significativos. Assim, se a densidade de um corpo é dada por 0,102 kg/L e seu volume é 0,007 m3, a forma correta de expressar sua massa, em kg, é

 

Provas

Questão presente nas seguintes provas
2460836 Ano: 2013
Disciplina: Física
Banca: UECE
Orgão: UECE
Provas:

No Brasil, a navegação pela internet com telefones celulares utiliza ondas de rádio com frequências entre 1.900 e 2.100 MHz, no caso de tecnologia 3G. A rede de telefonia de quarta geração (4G), que possibilita maiores velocidades de navegação, teve sua instalação iniciada nas seis cidades-sede da Copa das Confederações, incluindo Fortaleza. As ondas de rádio para transmissão com essa nova tecnologia terão frequências entre 2,5 GHz e 2,69 GHz. Considere que a velocidade de propagação dessas ondas é Vluz = 3⋅108 m/s. Assim, os menores comprimentos de onda, em metros, associados à transmissão em 3G e 4G são, respectivamente,

 

Provas

Questão presente nas seguintes provas
2460835 Ano: 2013
Disciplina: Física
Banca: UECE
Orgão: UECE
Provas:

Uma estrada sem curvas à esquerda ou à direita liga duas cidades no sentido Leste-Oeste. O trecho sobe e desce uma montanha de modo que, no pico, a trajetória pode ser aproximada por um arco de círculo. Em uma parte final do trajeto há um vale, e no ponto mais baixo também se pode aproximar a trajetória por um arco de círculo de mesmo raio que o anterior. No pico da montanha, o módulo da força normal da estrada sobre o carro é metade do peso do carro. No ponto mais baixo do vale essa normal tem módulo 50% maior do que o peso do carro. Despreze todos os atritos e considere a gravidade constante. Assim, a razão entre a velocidade do carro no pico e no vale é

 

Provas

Questão presente nas seguintes provas
2460833 Ano: 2013
Disciplina: Física
Banca: UECE
Orgão: UECE
Provas:

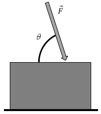
Um bloco repousa sobre uma superfície plana, fixa, e sofre ação de uma força !$ \vec{F} !$ orientada conforme a figura a seguir. O coeficiente de atrito estático entre o bloco e a superfície é !$ \mu !$.

Enunciado 2938259-1

Na ausência da gravidade, a condição para que não haja deslizamento do bloco é

 

Provas

Questão presente nas seguintes provas
2460832 Ano: 2013
Disciplina: Física
Banca: UECE
Orgão: UECE
Provas:

Uma corda desliza sem atrito sobre uma superfície horizontal pela ação de uma força de módulo F aplicada horizontalmente em uma das pontas. Se essa extremidade da corda se desloca de uma distância d na mesma direção e sentido da força, o trabalho realizado por essa força é

 

Provas

Questão presente nas seguintes provas