Foram encontradas 761 questões.
Abaixo é apresentada a matriz transformação inversa que relaciona os componentes simétricos com os seus respectivos fasores:

O tipo de falta que essa matriz apresenta nas suas condições de contorno é:
Provas
Questão presente nas seguintes provas
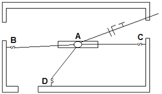
A figura abaixo apresenta uma planta elétrica com uma luminária no ponto A, interruptores paralelos nos pontos B e C e um interruptor intermediário no ponto D. No ponto A chega um circuito composto de fase, neutro e terra.

Para se comandar a luminária por meio desses interruptores, é necessário que entre os pontos A e B, A e C e A e D passem, respectivamente:
Provas
Questão presente nas seguintes provas
As tecnologias WiMAX e LTE são tecnologias recentes para a
transmissão de dados. A respeito delas, é correto afirmar que:
Provas
Questão presente nas seguintes provas
A respeito do Simple Network Management Protocol – SNMP,
analise os itens a seguir:
I. Utilizado para trocar informações de gerenciamento de redes, é utilizado o protocolo padrão.
II. Pouco utilizado em redes de dados baseada no TCP/IP.
III. Baseia-se no modelo cliente e servidor.
Está correto somente o que se afirma em:
I. Utilizado para trocar informações de gerenciamento de redes, é utilizado o protocolo padrão.
II. Pouco utilizado em redes de dados baseada no TCP/IP.
III. Baseia-se no modelo cliente e servidor.
Está correto somente o que se afirma em:
Provas
Questão presente nas seguintes provas
Analise as seguintes afirmativas a respeito dos padrões de
canalização utilizados em Sistemas de Transmissão digitais
multiplexados no tempo.
I. O padrão PDH possui cada canal multiplexado operando de forma plesiócrona.
II. O padrão SDH de transmissão de sinais foi concebido para uma arquitetura de multiplexação síncrona.
III. O sinal PDH transporta os diferentes tipos de sinais SDH.
Está correto somente o que se afirma em:
I. O padrão PDH possui cada canal multiplexado operando de forma plesiócrona.
II. O padrão SDH de transmissão de sinais foi concebido para uma arquitetura de multiplexação síncrona.
III. O sinal PDH transporta os diferentes tipos de sinais SDH.
Está correto somente o que se afirma em:
Provas
Questão presente nas seguintes provas
No que diz respeito à propagação dos sinais, a degradação da
qualidade em um sistema celular está associada, entre outros, à
redução do valor da relação portadora/ruído (RPR) na entrada do
receptor. A técnica que mitiga esse efeito, de modo a manter o
desempenho do sistema dentro de um padrão adequado, é:
Provas
Questão presente nas seguintes provas
As faixas de frequências de operação dos satélites na banda C
para Downlink e Uplink são, respectivamente:
Provas
Questão presente nas seguintes provas
Analise as afirmativas abaixo a respeito dos limites estabelecidos
pela Agência Nacional de Telecomunicações - ANATEL baseadas
nas diretrizes da International Commission on Non-Ionizing
Radiation Protection - ICNIRP quanto à exposição humana aos
campos elétricos, magnéticos e eletromagnéticos de
radiofrequência. Considere V para a(s) afirmativa(s) verdadeira(s)
e F para a(s) falsa(s).
( ) São divididos em exposição ocupacional e exposição da população em geral.
( ) Exposição máxima a radiofrequências em até 300 GHz.
( ) Campo elétrico sem restrição para radiofrequências superiores a 10 MHz.
A sequência correta é:
( ) São divididos em exposição ocupacional e exposição da população em geral.
( ) Exposição máxima a radiofrequências em até 300 GHz.
( ) Campo elétrico sem restrição para radiofrequências superiores a 10 MHz.
A sequência correta é:
Provas
Questão presente nas seguintes provas
A configuração da interligação física dos equipamentos que
compõem a rede é denominada topologia. A topologia que, para
incluir uma nova estação na rede, basta conectá-la ao
concentrador, e que permite isolar a fonte de uma falha de
sistema ou equipamento, é:
Provas
Questão presente nas seguintes provas
Uma técnica utilizada para a distribuição de conteúdo na Internet
é Content Distribution Networks – CDNs. A respeito dessa técnica,
é correto afirmar que:
Provas
Questão presente nas seguintes provas
Cadernos
Caderno Container