Foram encontradas 615 questões.

Com base nos dados da tabela acima e na classificação internacional do Comitê de Especialistas em Diagnóstico e Classificação do Diabetes Melito (Expert Committee on the Diagnosis and Classification of Diabetes Mellitus), aceita pela Sociedade Brasileira de Endocrinologia e Metabologia, julgue o item que se segue.
O paciente B apresenta tolerância diminuída a glicose.
Provas

O paciente A é um intolerante de jejum.
Provas

A sobreposição entre duas mantas deve ser de 10 cm, com aderência entre ambas.
Provas

A manta asfáltica é aplicada com uso de maçarico a gás, integrando-se completamente à impregnação.
Provas

A impregnação, executada com resina epóxi, deve ser efetuada a quente (temperatura superior a 60º C).
Provas

Considerando a curva pressiométrica apresentada na figura acima, construída a partir dos resultados obtidos em ensaio pressiométrico para a determinação in situ das características de resistência e de compressibilidade de determinado solo, julgue o
item a seguir.
A pressão PB, denominada pressão de fluência, corresponde ao último ponto da fase pseudoelástica.
Provas

item a seguir.
A primeira fase, representada pelo trecho em que a pressão é maior ou igual a zero e menor ou igual a PA, corresponde à fase indeformável do solo, sendo PA a pressão limite.
Provas

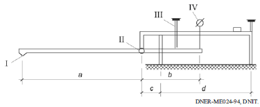
O componente IV indica um termômetro.
Provas

O componente II indica uma articulação.
Provas
Ao contrário dos particulares, que dispõem de ampla liberdade quando pretendem adquirir, alienar, locar bens, contratar a execução de obras ou serviços, o poder público, para fazê-lo, necessita adotar um procedimento preliminar rigorosamente determinado e preestabelecido na conformidade da lei. Tal procedimento denomina-se licitação.
Celso Antônio Bandeira de Mello. Curso de direito administrativo. 25 ed. 2008, p. 514, (com adaptações).
Com referência ao tema do texto acima, julgue o item a seguir.
Quando um órgão público realiza licitação na modalidade convite, e não obtém o número legal mínimo de três propostas aptas à seleção, se não houver limitação de mercado, ele é obrigado a repetir o ato, se houver interessados em participar do certame licitatório.
Provas
Caderno Container