Foram encontradas 441 questões.
Respondida
Assinale a opção correta de acordo com a NBR 8403:1984, que
trata da aplicação de linhas em desenhos.
Respondida
Considere que determinado projeto, com índice de desempenho de
custos e de prazo próximo ao planejado, tenha sido concluído com
grande margem de atraso. Nessa situação, o atraso pode ser
justificado pelo fato de
Respondida
Assinale a opção correta a respeito do desenvolvimento de projetos
urbanos de assentamentos humanos sustentáveis, de acordo com
a Agenda Habitat.
A
Em cidades consolidadas, a preservação de patrimônios
históricos, sobretudo aqueles sob a proteção da convenção da
UNESCO, impede o desenvolvimento de assentamentos
humanos sustentáveis.
B
A diversificação espacial, por meio do uso misto de atividades,
como serviços e moradias, compromete a gestão de
assentamentos humanos sustentáveis em razão da
multiplicidade de demandas relacionadas à infraestrutura
urbana.
C
A atuação conjunta de países e atores de organizações
públicas, privadas, voluntárias e comunitárias compromete
o gerenciamento e o desenvolvimento dos assentamentos
humanos sustentáveis, devido à interferência de diferentes
agentes nos processos decisórios.
D
Os assentamentos humanos equitativos comprometem as
classes sociais de baixa renda, devido ao fato de não oferecer
igualdade de oportunidades para o desenvolvimento social dos
membros dessa camada da sociedade.
E
De acordo com o referido documento, deve-se garantir
e viabilizar a participação feminina nas discussões sobre
políticas urbanas voltadas ao planejamento e ao
desenvolvimento de assentamentos humanos sustentáveis.
Respondida
De acordo com o disposto na NBR 13532:1995, que trata das
atividades técnicas de projeto de arquitetura exigíveis para
a construção de edificações, assinale a opção correta.
Respondida
No que se refere a sistemas de condicionamento de ar e seus
complementos, assinale a opção correta.
A
Os condicionadores de janela, aparelhos compactos, com um
corpo único, e que podem ser instalados na parede ou na
janela, são mais silenciosos que os da linha split .
B
O sistema split é dividido em duas ou mais unidades: uma
externa (condensadora) e uma ou mais unidades internas
(evaporadoras). Um aspecto negativo desse produto é o fato de
o compressor, item com maior nível de ruído, localizar-se na
unidade interna.
C
Os condicionadores de ar do tipo fan coil utilizam água gelada
em seu sistema, podendo o insuflamento interno ser direto
ou em sistemas com ramais de dutos. Na unidade externa,
a aparelhagem conta com um ou mais chillers .
D
O condicionador de ar self contained , mais eficaz que os
modelos split tradicionais, reúne a condensadora e a
evaporadora em um único gabinete. Esse aparelho, que
prescinde de casa de máquinas, tem a vantagem de possuir
o ciclo reverso, ou seja, resfria e também aquece.
E
De acordo com a tabela a seguir, o equipamento de ar
condicionado recomendado para resfriar um quarto com
dimensões 2,50 m × 3,00 m em um apartamento deve ter
capacidade de, no mínimo, 10.000 BTUs.
Respondida
Em relação a instalações hidrossanitárias, assinale a opção correta.
A
Em um edifício de escritórios de 6 andares, cada andar com
120 m², uma pessoa por 6 m², 50 L de água por pessoa e uma
reserva de incêndio igual a 20%, os reservatórios inferior (3/5)
e superior (2/5) devem armazenar, respectivamente, 3.600 L
e 2.400 L de água.
B
O sistema hidropneumático de abastecimento de água é mais
caro que os sistemas direto e indireto porque, além dos
reservatórios inferior e superior, engloba uma bomba
centrífuga, um injetor de ar e um tanque de pressão.
C
Na figura a seguir, os números 1, 2, 4 e 5 ilustram,
respectivamente, um sifão, uma caixa sifonada, uma caixa de
inspeção e uma caixa de gordura.
D
O registro de pressão, que deve ser utilizado totalmente
fechado ou totalmente aberto, tem como função fechar
totalmente o fluxo de água de um ambiente para possibilitar os
serviços de manutenção da rede.
E
A seguir, os elementos identificados por números na figura I
correspondem aos mesmos elementos indicados por números
na figura II, ou seja, em ambas, 1 e 3 correspondem à coluna
de ventilação; 2, ao tubo de queda; 4, ao ramal de descarga.
Respondida
Com relação ao projeto de arquitetura para edifícios, assinale
a opção correta.
Respondida
Com base nas figuras precedentes, que ilustram modelos de janelas,
assinale a opção correta.
A
A janela 2, de guilhotina, possibilita, ao mesmo tempo, a
entrada do ar frio e a saída do ar quente, mas exige uma
constante regulagem para a manutenção da tensão dos cabos e
do nível das folhas.
B
A janela 3 projeta-se para o exterior, o que facilita o trabalho
de limpeza e a colocação de grades de segurança.
C
A janela 4, além de liberar 100% do vão para a ventilação, não
apresenta nenhuma desvantagem, pois permite o
direcionamento do ar para a direita ou para a esquerda e é fácil
de limpar.
D
A janela 5 é denominada pivotante ou basculante vertical e, do
ponto de vista da ventilação, equivale à de abrir.
E
A janela 1, embora a limpeza tanto de sua face interna como
externa seja difícil, tem a vantagem de liberar 70% do vão para
efeito de ventilação.
Respondida
Com base nas plantas de escritório representadas nas figuras
precedentes, assinale a opção correta.
A
Para se darem duas demãos de pintura nas paredes externas do
escritório com tinta látex PVA de 3,6 L que renda 30 m² por
demão serão necessários, no máximo, 3 galões.
B
Uma chapa de compensado naval de 220 mm × 160 mm ×
25 mm será insuficiente para confeccionar as três portas do
escritório.
C
Com referência à iluminação natural, a localização do
empregado que trabalhará na mesa B será mais confortável que
a daquele que trabalhará na mesa A.
D
Se a superfície do piso de todos os ambientes do escritório X
for revestida com placas de porcelanato de 0,50 cm × 0,50 cm,
serão necessárias 102 unidades para tal revestimento,
considerando-se uma estimativa de 10% referentes a perdas.
E
Se o pé-direito do banheiro do escritório X for igual a 2,60 m,
então, se forem estimados 10% de perdas, serão necessários
cerca de 500 azulejos de 20 cm × 20 cm para cobrir as paredes
internas desse cômodo.
Respondida
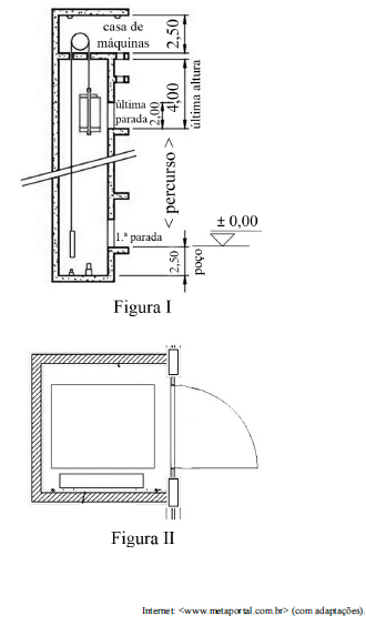
Considerando as figuras precedentes, que mostram alguns aspectos
do projeto de um poço de elevador de determinado edifício,
assinale a opção correta.
A
A finalidade do poço de elevador é conter o contrapeso quando
a cabine estiver na última parada; estando a cabine no primeiro
piso, o poço deverá conter a parte inferior da cabine.
B
A figura I representa, em planta, a caixa de um elevador
vedada com alvenaria revestida, que, na figura II, está
representada em corte.
C
Na parte superior do corte está representada uma folga
de 2,00 m para frenagem do elevador, em caso de pane do
sistema.
D
Se o edifício em questão tiver 3 pavimentos, cada um deles
com pé-direito de 3,00 m, e as lajes, inclusive a da casa de
máquinas, tiverem, cada uma, 0,15 m de espessura, então
a altura total do poço deverá ser maior que 15,00 m.
E
A cota de coroamento do poço será de +16,10 m se a medida
piso-a-piso dos pavimentos for de 3,15 m e todas as lajes
tiverem 15 cm de espessura.