Foram encontradas 370 questões.

A figura acima mostra uma rede PERT-CPM associada a um processo produtivo. Nela, os círculos indicados por letras representam as diversas atividades do processo, os números adjacentes aos círculos representam os tempos de duração, em horas, das respectivas atividades, e as setas representam as relações de precedência. Acerca dessa rede, julgue os seguintes itens.
O caminho crítico da rede tem a duração de 31 horas.
Provas

A figura acima mostra uma rede PERT-CPM associada a um processo produtivo. Nela, os círculos indicados por letras representam as diversas atividades do processo, os números adjacentes aos círculos representam os tempos de duração, em horas, das respectivas atividades, e as setas representam as relações de precedência. Acerca dessa rede, julgue os seguintes itens.
A atividade N poderá ser realizada após a conclusão da atividade K ou da atividade L.
Provas
Disciplina: Segurança e Saúde no Trabalho (SST)
Banca: CESPE / CEBRASPE
Orgão: TCE-ES
A respeito de obras e serviços de engenharia elétrica, julgue os itens subseqüentes.
Segundo a NBR-5410, qualquer instalação ou reforma de instalação existente deve ser inspecionada visualmente e ensaiada antes de ser posta em serviço pelo usuário, de forma a se verificar se as prescrições estão sendo atendidas. A inspeção visual deve preceder os ensaios e ser realizada com a instalação desenergizada, devendo incluir a verificação das medidas de proteção contra choques elétricos e a seleção das linhas elétricas.
Provas
Disciplina: Segurança e Saúde no Trabalho (SST)
Banca: CESPE / CEBRASPE
Orgão: TCE-ES
A respeito de obras e serviços de engenharia elétrica, julgue os itens subseqüentes.
A NR-10 exige que, ao final de trabalho de ampliação de uma instalação elétrica, seja elaborado, por profissional devidamente qualificado, laudo técnico, que deverá ser apresentado às autoridades competentes sempre que solicitado.
Provas
Disciplina: Segurança e Saúde no Trabalho (SST)
Banca: CESPE / CEBRASPE
Orgão: TCE-ES
A respeito de obras e serviços de engenharia elétrica, julgue os itens subseqüentes.
Segundo a NR-10, todo profissional, para inspecionar uma instalação elétrica, deve estar apto a prestar primeiros socorros a acidentados, especialmente por meio das técnicas de reanimação cardiorrespiratória, e a manusear e operar equipamentos de combate a incêndio utilizados na instalação.
Provas
Disciplina: Segurança e Saúde no Trabalho (SST)
Banca: CESPE / CEBRASPE
Orgão: TCE-ES
Julgue os itens seguintes, relativos às prescrições da NR-10, norma regulamentadora que trata da segurança em instalações e serviços em eletricidade.
É terminantemente proibida a ligação simultânea de mais de um aparelho à mesma tomada de corrente por meio do emprego de acessórios que aumentem a quantidade de saídas.
Provas
Disciplina: Segurança e Saúde no Trabalho (SST)
Banca: CESPE / CEBRASPE
Orgão: TCE-ES
Julgue os itens seguintes, relativos às prescrições da NR-10, norma regulamentadora que trata da segurança em instalações e serviços em eletricidade.
A NR-10 estabelece prescrições para proteção contra riscos de incêndio e de explosão que possam ser causados pela instalação elétrica.
Provas
Disciplina: Segurança e Saúde no Trabalho (SST)
Banca: CESPE / CEBRASPE
Orgão: TCE-ES
A NR-6 é a norma regulamentadora que trata de equipamento de proteção individual (EPI) e estabelece várias prescrições. A respeito desse assunto, julgue os itens que se seguem.
Os EPIs incluem capacete, capuz, óculos, máscara, protetor auditivo, respirador, luva, meia, perneira, calça e macacão.
Provas
Disciplina: Segurança e Saúde no Trabalho (SST)
Banca: CESPE / CEBRASPE
Orgão: TCE-ES
A NR-6 é a norma regulamentadora que trata de equipamento de proteção individual (EPI) e estabelece várias prescrições. A respeito desse assunto, julgue os itens que se seguem.
EPI é todo dispositivo ou produto de uso individual utilizado pelo trabalhador, destinado à proteção contra riscos que podem ameaçar a segurança e a saúde no trabalho. Em todas as circunstâncias, o EPI adequado deve ser fornecido gratuitamente pelo empregador ao empregado, em perfeito estado de conservação e funcionamento, cabendo ao empregado decidir se o utilizará ou não, em razão de sua experiência e da confiança que tem em sua própria habilidade.
Provas

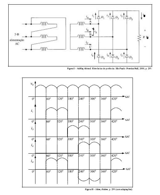
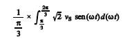
A figura I acima mostra o diagrama de um retificador trifásico não-controlado de onda completa em ponte que está funcionando perfeitamente. Esse retificador é alimentado por um transformador trifásico, com relação de transformação igual a 1:1, a partir de uma fonte trifásica senoidal equilibrada com tensão nominal de linha igual a vS. A figura II mostra os gráficos das formas de onda de algumas grandezas elétricas importantes do referido retificador. Considerando essas informações, julgue os seguintes itens.
O valor médio da tensão de saída v0 pode ser calculado pela expressão a seguir.

Provas
Caderno Container