Foram encontradas 400 questões.
No que se refere a Diagramas de Tubulação e Instrumentação – P&IDs (Piping and Instrumentation Diagrams), marque V para verdadeiro ou F para falso e, em seguida, assinale a alternativa que apresenta a sequência correta.
( ) P&IDs são desenhos esquemáticos que mostram o arranjo funcional de todos os sistemas e equipamentos de processo e utilidades, contendo informações sobre todos os equipamentos, tubulações, controle de processo, instrumentação e inter-relações entre estes elementos.
( ) A filosofia de shutdown e intertravamento de todos os equipamentos deverão ser claramente representadas em Diagramas de Tubulação e Instrumentação.
( ) Quando necessário, para um entendimento claro do processo, outros set points de instrumentos poderão também estar indicados.
Provas
Observe os símbolos de linha para instrumentação ilustrados logo abaixo e, em seguida, assinale a alternativa correta quanto ao que cada um representa.

Provas
No que diz respeito aos protocolos de comunicação, analise as assertivas abaixo.
I. Na ciência da computação, um protocolo é uma convenção ou padrão que controla e possibilita uma conexão, comunicação ou transferência de dados entre dois sistemas computacionais.
II. De maneira simples, um protocolo pode ser definido como “as regras que governam” a sintaxe, semântica e sincronização da comunicação.
III. Os protocolos podem ser implementados pelo hardware apenas.
É correto o que se afirma em
Provas
Em relação às funções lógicas básicas, correlacione os símbolos (Coluna A) com suas respectivas funções representadas (Coluna B) e, em seguida assinale a alternativa que apresenta a sequência correta.
| COLUNA A |
COLUNA B |
![]() |
( ) Função Lógica NÃO (NOT). |
![]() |
( ) Função Lógica E (AND). |
![]() |
( ) Função Lógica OU (OR). |
Provas
Em relação à eletrônica digital, assinale a alternativa incorreta.
Provas

A figura se trata de um
Provas
É composta basicamente de material dielétrico (em geral, sílica ou plástico), segundo uma longa estrutura cilíndrica, transparente e flexível, de dimensões microscópicas comparáveis às de um fio de cabelo. Esta descrição refere-se à(ao)
Provas

A figura se trata de um
Provas
Leia o trecho abaixo e, em seguida, assinale a alternativa que preenche correta e respectivamente as lacunas.
O é implementado quando a malha de já não responde satisfatoriamente, principalmente em processos de grande inércia e quando o possui uma contínua perturbação na variável regulante. Neste tipo de controle, normalmente encontrase variáveis de processo, controladores e elemento final de controle.
Provas

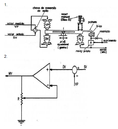
As figuras se tratam de, respectivamente,
Provas
Caderno Container


