Foram encontradas 50 questões.
Segundo a legislação ambiental e urbanística do município de Macaíba/RN, os infratores ao cumprimento da lei ficam sujeitos às seguintes penalidades para infrações ambientais, EXCETO:
Provas
Conforme o Plano Diretor Participativo do município de Macaíba/RN, as áreas especiais são porções da zona urbana e da zona de expansão urbana, situadas em zonas adensáveis ou não, com destinação específica ou normas próprias de uso e ocupação do solo, e cujos parâmetros urbanísticos prevalecem sobre os demais parâmetros definidos nesta lei do Plano Diretor Participativo, compreendendo, dessa forma, EXCETO:
Provas
Disciplina: Direito Administrativo
Banca: Consulplan
Orgão: Pref. Macaíba-RN
“Não precisa, portanto, a administração ser provocada para o fim de rever seus atos; pode fazê-lo de ofício. Aliás, não lhe compete apenas sanar as irregularidades; é necessário que também as previna, evitando-se reflexos prejudiciais aos administrados ou ao próprio Estado. Registra-se, ainda, que este princípio envolva dois aspectos quanto à atuação administrativa: aspectos de legalidade, em relação aos quais a administração, de ofício, procede à revisão dos atos ilegais; e aspectos de mérito, em que reexamina atos anteriores quanto à conveniência e oportunidade de sua manutenção ou desfazimento.” As informações se referem ao Princípio da:
Provas
Disciplina: Direito Administrativo
Banca: Consulplan
Orgão: Pref. Macaíba-RN
“Conferir direitos aos usuários dos diversos serviços prestados pela administração, ou por seus delegados, e estabelecer obrigações efetivas aos prestadores. Não é difícil perceber que este princípio revela o descontentamento da sociedade diante de sua antiga impotência para lutar contra deficiente prestação de tantos serviços públicos, que incontáveis prejuízos já causaram aos usuários. De fato, sendo tais serviços prestados pelo Estado ou por delegados seus, sempre ficaram inacessíveis para os usuários os meios efetivos para assegurar seus direitos. Os poucos meios existentes se revelaram insuficientes ou inócuos para sanar as irregularidades cometidas pelo Poder Público na execução de seus serviços.” As informações se referem ao Princípio da:
Provas
“Conforme a Lei nº 6.766/1979, entre os diversos requisitos urbanísticos para loteamentos, os lotes terão área mínima de e frente mínima de 5 m, salvo quando o loteamento se destinar à urbanização específica ou edificação de conjuntos habitacionais de interesse social, previamente aprovados pelos órgãos públicos competentes.” Assinale a alternativa que completa corretamente a afirmativa anterior.
Provas
A NBR nº 5.410/2004 (Instalações Elétricas de Baixa Tensão) estabelece as condições a que devem satisfazer as instalações elétricas de baixa tensão, a fim de garantir a segurança de pessoas e animais, o funcionamento adequado da instalação e a conservação dos bens. Aplica-se, principalmente, às instalações elétricas de edificações qualquer que seja seu uso (residencial, comercial, público, industrial, de serviços, agropecuário, hortigranjeiro etc.), incluindo as pré-fabricadas. Aplica-se também a, EXCETO:
Provas
“De acordo com as normas técnicas, a tubulação de ventilação deve ser instalada com aclive mínimo de , de modo que qualquer líquido que porventura nela venha a ingressar possa escoar totalmente por gravidade para dentro do ramal de descarga ou de esgoto em que o ventilador tenha origem.” Assinale a alternativa que completa corretamente a afirmativa anterior.
Provas
Ponto do telhado é a altura da cumeeira, ou seja, é o ponto mais alto do telhado. Para o cálculo desse ponto, é necessário saber o vão a ser vencido e o grau de inclinação – ou porcentagem de inclinação – da telha a ser utilizada. O ponto do telhado para um vão de 7,0 m, com inclinação de 30%, sendo a cumeeira no meio do vão, é:
Provas
Segundo a legislação pertinente, antes da elaboração do projeto de loteamento, o interessado deverá solicitar à Prefeitura Municipal, ou ao Distrito Federal, quando for o caso, que defina as diretrizes para o uso do solo, traçado dos lotes, do sistema viário, dos espaços livres e das áreas reservadas para equipamento urbano e comunitário, apresentando, para este fim, requerimento e planta do imóvel contendo, pelo menos, EXCETO:
Provas
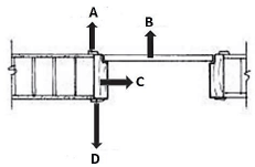
Observe a imagem a seguir:

A, B, C e D representam, em planta, os elementos de uma porta que são, respectivamente:
Provas
Caderno Container