Foram encontradas 395 questões.
No que se refere a tolerâncias, analise as afirmações a seguir.
I – Tamanho Nominal é aquele usado ao se falar de um elemento, podendo ser diferente do tamanho real, como, no exemplo, “tubo de ½ polegada".
II – Tamanho Básico é o tamanho teórico exato de uma peça.
III – Tolerância Bilateral é a variação em ambas as direções a partir da dimensão básica, como, no exemplo, 1,238
0,003 mm.
Está correto o que se afirma em
I – Tamanho Nominal é aquele usado ao se falar de um elemento, podendo ser diferente do tamanho real, como, no exemplo, “tubo de ½ polegada".
II – Tamanho Básico é o tamanho teórico exato de uma peça.
III – Tolerância Bilateral é a variação em ambas as direções a partir da dimensão básica, como, no exemplo, 1,238
0,003 mm. Está correto o que se afirma em
Provas
Questão presente nas seguintes provas

Ao se considerarem as figuras acima, à esquerda tem-se a representação isométrica de uma peça, sendo as demais as respectivas vistas. Tais vistas correspondem a
Provas
Questão presente nas seguintes provas

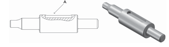
Na representação acima, a figura à direita diz respeito a um eixo usado em uma prensa. O detalhe A reproduz um
Provas
Questão presente nas seguintes provas

A medida indicada pela representação do paquímetro acima, em centímetros, é
Provas
Questão presente nas seguintes provas
Um fluido incompressível escoa, em regime permanente, em um duto que se inicia com um diâmetro de 25 mm e, após uma redução, passa a ter um diâmetro de 20 mm. A razão entre as velocidades do fluido, antes e depois da redução do duto, é igual a
Provas
Questão presente nas seguintes provas
Ao se utilizar equipamento de respiração autônoma, sabe-se que o
Provas
Questão presente nas seguintes provas
As tubulações para ar comprimido, adotadas para a trans- missão de sinais para válvulas de controle, NÃO podem ser produzidas em
Provas
Questão presente nas seguintes provas
Sobre os tipos de orifícios adotados em placas de orifício, analise as afirmativas a seguir.
I – O orifício concêntrico é utilizado para fluidos com sólidos em suspensão.
II – Durante a instalação da placa de orifício excêntrico, o orifício deverá ser tangente inteiramente ao tubo, admitindo-se um afastamento máximo da ordem de 1/16".
III – A placa de orifício segmental é destinada ao uso em fluidos em regime laminar e com alta porcentagem de sólidos em suspensão.
Está correto APENAS o que se afirma em
I – O orifício concêntrico é utilizado para fluidos com sólidos em suspensão.
II – Durante a instalação da placa de orifício excêntrico, o orifício deverá ser tangente inteiramente ao tubo, admitindo-se um afastamento máximo da ordem de 1/16".
III – A placa de orifício segmental é destinada ao uso em fluidos em regime laminar e com alta porcentagem de sólidos em suspensão.
Está correto APENAS o que se afirma em
Provas
Questão presente nas seguintes provas
Um goniômetro é um instrumento usado para medir
Provas
Questão presente nas seguintes provas
As classes de tolerância para medida básica entre 30 mm e 50 mm são as apresentadas a seguir.
Medidas: 30 - 50 mm
IT6: 0,016
IT7: 0,025
IT8: 0,039
IT9: 0,062
IT10: 0,100
IT11: 0,160
Para o furo com tamanho básico de 32 mm, com ajuste deslizante, H7/g6, o diâmetro máximo e o diâmetro mínimo, em milímetros, são, respectivamente,
Medidas: 30 - 50 mm
IT6: 0,016
IT7: 0,025
IT8: 0,039
IT9: 0,062
IT10: 0,100
IT11: 0,160
Para o furo com tamanho básico de 32 mm, com ajuste deslizante, H7/g6, o diâmetro máximo e o diâmetro mínimo, em milímetros, são, respectivamente,
Provas
Questão presente nas seguintes provas
Cadernos
Caderno Container