Magna Concursos

Foram encontradas 1.925 questões.

889528 Ano: 2011
Disciplina: Engenharia Eletrônica
Banca: CESGRANRIO
Orgão: Petrobrás
Enunciado 3104830-1
O circuito da figura acima é uma fonte de tensão regulada que usa como referência um diodo zener com 6 V de tensão nominal. A tensão não regulada de entrada !$ (V_{nr}) !$ tem valor nominal de 15 V e admite uma variação de !$ ± 20\% !$em torno do seu valor nominal. A resistência de carga pode assumir valores que variam de 100 !$ Ω !$ até a resistência infinita (ckt aberto).
Nessas condições, qual será a corrente máxima, em mA, suportada pelo diodo?
 

Provas

Questão presente nas seguintes provas
889527 Ano: 2011
Disciplina: Engenharia Eletrônica
Banca: CESGRANRIO
Orgão: Petrobrás

Enunciado 3104829-1

A figura acima mostra o conjunto de leds e os algarismos de 0 a 9 que formam o dispositivo de sete segmentos. Cada segmento é um led independente que, na figura, é representado por uma letra minúscula. Para acender qualquer um dos segmentos, usa-se uma função combinacional de quatro variáveis (4 bits) dada por Sx = f(V, X, Y, Z), onde:

• V corresponde ao bit mais significativo;

• X assume uma das sete letras dos sete segmentos;

• Sx=1 significa segmento aceso;

• Sx=0 significa segmento apagado ou combinações indiferentes (don’t care).

Considerando o exposto, o segmento, cuja função (Sx) terá o menor número de mintermos, ou seja, o menor número de células com nível lógico 1 no mapa de Karnaugh, é o

 

Provas

Questão presente nas seguintes provas
889526 Ano: 2011
Disciplina: Engenharia Eletrônica
Banca: CESGRANRIO
Orgão: Petrobrás
Enunciado 3104828-1
O circuito da figura usa um transistor NPN !$ ( \beta=100 \, e \, V_{BE}=0,6 \, V) !$.
Analisando as condições e os dados do circuito, conclui-se que o transistor está saturado e o valor aproximado da potência dissipada no resistor !$ R_C !$, em mW, é
 

Provas

Questão presente nas seguintes provas
889525 Ano: 2011
Disciplina: Engenharia Eletrônica
Banca: CESGRANRIO
Orgão: Petrobrás
Enunciado 3104827-1
O tipo de configuração montada com o transistor mostrada na figura acima corresponde ao tipo de polarização conhecido por
 

Provas

Questão presente nas seguintes provas
889524 Ano: 2011
Disciplina: Engenharia Eletrônica
Banca: CESGRANRIO
Orgão: Petrobrás
Um amplificador de potência, tendo, em sua entrada, um sinal com potência de 2 mW, apresenta, em sua saída, um sinal de potência equivalente a 4 W.
O ganho desse amplificador, em dB, é
Dado: Considere o log10(2) = 0,3
 

Provas

Questão presente nas seguintes provas
889523 Ano: 2011
Disciplina: Engenharia Elétrica
Banca: CESGRANRIO
Orgão: Petrobrás
Enunciado 3104825-1
O circuito da figura acima, montado para ensaios de medidas elétricas, serve para identificar a tensão nominal e a resistência interna de uma bateria desconhecida. Variando- se o potenciômetro P, foram obtidas as seguintes medidas:
Tensão no voltímetro Corrente no amperímetro
13,4 V 2 A
11,0 V 5 A
A tensão nominal da bateria, em V, e a sua resistência interna, em !$ Ω !$, são, respectivamente,
 

Provas

Questão presente nas seguintes provas
889522 Ano: 2011
Disciplina: Engenharia Elétrica
Banca: CESGRANRIO
Orgão: Petrobrás
Enunciado 3104824-1
O diagrama auxiliar mostrado acima pode ser empregado na partida de motores trifásicos com chave estrela-triângulo. Nesse circuito, o botão normalmente aberto B1 inicia o processo de energização da máquina, e o botão normalmente fechado B0 desliga a mesma.
A esse respeito, analise as afirmativas abaixo.
I – Esse tipo de acionamento reduz a corrente de partida do motor e é amplamente utilizado nos parques industriais.
II – Para o circuito acima, enquanto o motor estiver operando com conexão em triângulo, as contatoras K1 e K2 e o relé temporizado KT1 estarão energizados.
III – O torque da máquina é independente do tipo de conexão que está sendo utilizado, ou seja, para a mesma tensão de alimentação e a mesma velocidade da máquina, o torque produzido por meio da conexão estrela é o mesmo que o torque produzido por meio da conexão triângulo.
Está correto APENAS o que se afirma em
 

Provas

Questão presente nas seguintes provas
889521 Ano: 2011
Disciplina: Engenharia Elétrica
Banca: CESGRANRIO
Orgão: Petrobrás
Considere as informações a seguir para responder a questão.
Enunciado 3104823-1
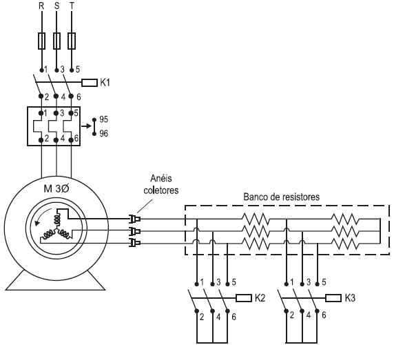
O esquema apresentado acima é de acionamento de um motor trifásico de rotor bobinado. Nesse circuito, um banco de resistores é conectado ao rotor do motor através dos anéis coletores, enquanto que o estator é conectado à rede elétrica através da contatora K1.
Em relação ao diagrama apresentado, analise as afirmativas a seguir.
I – O aumento da resistência do rotor no motor de indução aumenta o torque de partida da máquina.
II – Este tipo de acionamento é utilizado na prática para realizar, através da variação da resistência no rotor, o controle de velocidade da máquina na operação em regime permanente.
III – A conexão do banco de resistores aumenta a resistência no rotor, mas não altera as perdas ôhmicas do mesmo.
Está correto APENAS o que se afirma em
 

Provas

Questão presente nas seguintes provas
889520 Ano: 2011
Disciplina: Engenharia Elétrica
Banca: CESGRANRIO
Orgão: Petrobrás
Considere as informações a seguir para responder a questão.
Enunciado 3104822-1
O esquema apresentado acima é de acionamento de um motor trifásico de rotor bobinado. Nesse circuito, um banco de resistores é conectado ao rotor do motor através dos anéis coletores, enquanto que o estator é conectado à rede elétrica através da contatora K1.
Observando o diagrama apresentado, tem-se como procedente a seguinte situação:
 

Provas

Questão presente nas seguintes provas
889519 Ano: 2011
Disciplina: Engenharia Elétrica
Banca: CESGRANRIO
Orgão: Petrobrás
Enunciado 3104821-1
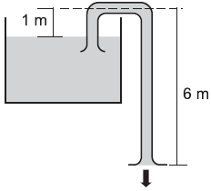
O sistema apresentado acima é composto de um reservatório d’água e de um tubo em U que se encontra totalmente cheio. A curvatura do tubo está 1 m acima da superfície da água, e 6 m acima da extremidade de saída do tubo, conforme ilustra a figura.
Considere as seguintes informações:
• tanto a superfície do reservatório quanto a extremidade de saída do tubo estão à pressão atmosférica;
• o escoamento é permanente, incompressível, sem atrito e ao longo de uma linha de corrente;
• o reservatório é suficientemente grande em comparação com o tubo para que o nível do mesmo permaneça constante.
Com base nas informações e adotando a aceleração gravitacional de 10 !$ m/s^2 !$, qual a velocidade do jato na extremidade de saída do tubo?
 

Provas

Questão presente nas seguintes provas