Foram encontradas 3.569 questões.
Nos materiais sujeitos a corrosão galvânica, as células podem ser classificadas em três grupos distintos de:
Provas
Considere o diagrama de fase do aço carbono com 0,8%C na solução sólida eutetóide e 6,7%C na solução sólida de Fe3C.
Em uma liga com 0,2%C à temperatura ambiente, que sofreu resfriamento próximo do equilibrio, qual a quantidade de cementita?
Provas
Observe a figura abaixo.

No plano cartesiano, qual a abscissa do centro de gravidade?
Provas
Observe a figura abaixo.

Qual o momento de inércia, em mm4, em relação ao eixo x da figura?
Provas
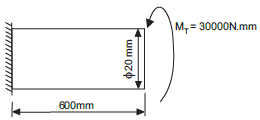
Observe a figura abaixo.

Considere o módulo de rigidez igual a 80000 MPa. Qual o ângulo de distorção, em radianos, formado no corpo cilíndrico?
Provas
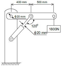
Observe a figura abaixo que representa um guincho composto por uma coluna, uma lança, um atuador hidráulico e pinos nas articulações.

Qual a tensão de cisalhamento, devido ao esforço cortante, em MPa, no pino entre o atuador hidráulico e a lança?
Provas
Observe a figura abaixo.

Considere as forças F1 e F2, em N, respectivamente iguais a 1600 e 2400.
Qual a tensão normal, devida a esforço axial, em MPa, na seção transversal da parte A?
Provas
Em uma operação de fresagem, com uma fresa de 50mm de diâmetro e 20 dentes a uma rotação de 300RPM, com um avanço por dente de 0,15mm, a velocidade de avanço, em mm/min, é de:
Provas
As operações de usinagem em que a direção da velocidade de avanço é perpendicular ao eixo principal de rotação em um torno mecânico são:
Provas
Em um processo de torneamento cilíndrico no qual o passe com 50mm de diâmetro tenha uma velocidade de corte de 20m/min, tem-se uma velocidade de rotação da árvore, em RPM, igual a:
Provas
Caderno Container