Foram encontradas 705 questões.
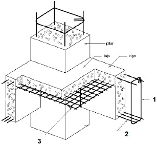
A figura a seguir ilustra parte de uma estrutura de concreto armado.

As armaduras indicadas com os números 1, 2 e 3 resistem, respectivamente e principalmente, a:
Provas
A figura a seguir apresenta a seção transversal de um pilar de concreto armado.

Obs.: unidades em cm.
Tomando por base o exposto na NBR6118:2014 e a seção transversal apresentada, analise as afirmativas a seguir.
I. Desconsiderando a possibilidade do uso de coeficientes adicionais para majoração dos esforços solicitantes, o menor valor admitido para a dimensão x é 19 cm.
II. O diâmetro mínimo admissível para a armadura longitudinal é de 8 mm.
III. Admitindo armadura longitudinal com diâmetro de 16 mm, o diâmetro dos estribos não pode ser inferior a 5 mm.
Está correto o que se afirma em
Provas
Em uma peça de concreto armado com seção transversal retangular submetida a ações normais, o conjunto de deformações específicas do concreto e do aço definem seis domínios de deformação.
O domínio em que a ruptura do concreto ocorre simultaneamente com a ruptura da armadura, provocando grandes deformações na estrutura, é o domínio
Provas
Suponha que um pesquisador tenha as seguintes informações de uma amostra de dados:
- Média = 5
- Variância = 25
- Soma dos desvios absolutos em relação à média = 10
- Tamanho da amostra = 5
Assim, o coeficiente de variação dessa amostra em termos decimais será igual a
Provas
Considere que um pesquisador deseje calcular a desigualdade de renda do país. Ele calcula a curva de Lorenz e obtém que a área entre a reta de perfeita igualdade e essa curva é igual a 0,3.
Com essas informações, o pesquisador deduz que o índice de Gini será igual a
Provas
Considere os dados da tabela a seguir.
| Produto | 2020 | 2021 | ||
| preço | quantidade | preço | quantidade | |
| 1 | 2 | 3 | 2 | 5 |
| 2 | 3 | 3 | 4 | 2 |
| 3 | 5 | 2 | 6 | 5 |
Usando 2020 como base, os índices de Laspeyres de preço e quantidade são, respectivamente,
Provas
Suponha que X tenha distribuição normal com média μ e variância σ2. Considere uma amostra aleatória X1, X2 e X3.
Dos estimadores da média populacional a seguir, assinale o que é viesado.
Provas
Em relação ao poder de um teste de hipóteses, não é possível afirmar que
Provas
Em relação à distribuição Normal, assinale V para a afirmativa verdadeira e F para a falsa.
( ) Se X segue uma distribuição Normal, então a média é igual à mediana e igual à moda.
( ) Quando o tamanho da amostra é grande, a distribuição normal serve como aproximação da distribuição binomial.
( ) Quanto menor a variância, mais achatada é a função densidade de probabilidade da distribuição Normal.
As afirmativas são, respectivamente,
Provas
Suponha que X seja uma variável aleatória contínua com a seguinte função densidade de probabilidade:
\( \large f(x) = \begin{cases} k2x, 0 < x < 1 \\ 0, \text{ caso contrário} \end{cases} \)
O valor de k e o valor esperado de X são, respectivamente,
Provas
Caderno Container