Foram encontradas 250 questões.
Na operação de uma máquina, no instante em que o volume \( V \) é 400 cm3, a pressão \( P \) é de 80 kPa e está caindo a uma taxa de 10 kPa/min. Sabendo que o volume de ar dentro do cilindro varia segundo a relação \( PV^{1,4}=C \), na qual \( C \) é constante, assinale a opção que apresenta, aproximadamente, a taxa de variação de volume nesse instante.
Provas
Os motores do ciclo diesel com câmara de pré-combustão tendem a apresentar algumas vantagens em relação aos motores de ciclo diesel de injeção direta de potências parecidas. Com relação a essas vantagens, assinale a opção INCORRETA.
Provas
Segundo Macintyre (1997), conforme o modo de atuação do vapor no rotor, as turbinas a vapor são classificadas como turbinas:
Provas
De acordo com Macintyre (1997), como é denominado o tipo de máquina operatriz mais comumente utilizado em instalações de ar comprimido que pode operar em plena carga, meia carga ou em vazio, por meio da abertura automática das válvulas de admissão?
Provas
A aceleração de um cursor em movimento retilíneo é dada por \( a=50sen(\dfrac{\pi t}{2}) \), onde \( \alpha \) é medida em \( mm/s^2 \) e o tempo \( t \) em segundos. No instante inicial do movimento, o cursor estava na origem do sistema de coordenadas e partiu do repouso. Com base nessas informações, qual é a posição do cursor 4 segundos após o início do movimento?
Provas
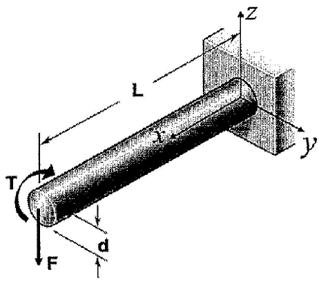
Examine a figura abaixo.

Conforme apresentado na figura, uma barra maciça de diâmetro “d” e comprimento “L" encontra-se engastada em uma de suas extremidades. Na outra extremidade atuam uma força “F" no sentido “-Z” e um momento T de intensidade T = F.L/2 em torno do eixo \( \chi \), Despreze efeitos de concentração de tensão e assinale a opção que apresenta a expressão correta para o cálculo da tensão principal máxima atuante nessa barra.
Dado: \( I = \dfrac{\pi d^4}{64}; J=\dfrac{\pi d^4}{32} \)
Provas
A derivada \( f'(x) \) da função \( f(x)=\sqrt{\dfrac{x}{x+1}} \) é dada por:
Provas
Assinale a opção que NÃO apresenta consequências da superalimentação de um motor diesel.
Provas
Considere um submarino de diâmetro \( d \) e um conjunto motor e hélice capaz de produzir um impulso no eixo do submarino de massa \( M \) que obedece à seguinte função: \( E(V)=b.V \). Considere também que o arrasto hidrodinâmico obedece à função \( A(V)=1/2.c_S.A.V^2 \) e assinale a opção que apresenta a aceleração em função da velocidade.
Provas
Segundo Teles (2001), existem vários meios de ligação entre tubulações industriais. Nos locais onde uma tubulação industrial se liga a uma bomba, normalmente é utilizada uma ligação:
Provas
Caderno Container