Foram encontradas 1.200 questões.
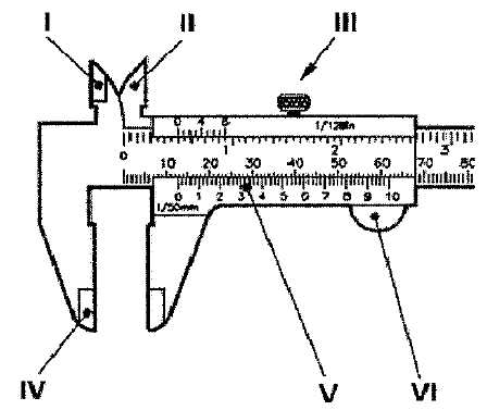
Assinale a opção que apresenta corretamente a nomenclatura das partes do paquímetro ilustrado abaixo.

Provas
Um motor de combustão interna à gasolina, de quatro tempos, quatro cilindros e volume total deslocado de 2000 cilindradas possui relação de compressão de 11:1. O volume da câmara de combustão para cada cilindro desse motor, em cm3 , será de:
Provas
Examine a figura abaixo.

Coloque F (falso) ou V (verdadeiro) nas afirmativas abaixo, relativas à figura acima e seus cortes, e assinale, a seguir, a opção correta.
( ) As vistas superior e lateral direita estão representadas em corte.
( ) Os cortes são indicados nas vistas superior e lateral esquerda.
( ) O noine do corte originado pelo plano de corte transversal é corte BB.
( ) O nome do corte originado pelo plano de corte longitudinal horizontal é corte AA.
Provas
Analise a figura abaixo.

A roda de apoio em um andaime é mantida em posição na perna por meio de um pino de 4 mm de diâmetro. Despreze o atrito entre a perna interna do andaime e o tubo usado na roda e suponha que a roda esteja submetida a uma força normal de 5 kN. Assim, determine a tensão de cisalhamento média, em MPa, desenvolvida sobre o pino e assinale a opção correta.
Provas
Assinale a- opção que apresenta processos considerados de usinagem.
Provas
Examine a figura abaixo.

Um Cabo especializado da Marinha do Brasil, ao analisar o desenho técnico mecânico de um componente, percebeu que havia, no canto inferior direito da folha de papel, o símbolo apresentado na figura acima. Dessa maneira, o Cabo pode concluir que o desenho técnico está representado no:
Provas
Latões comuns são ligas que contêm cobre e:
Provas
Com relação aos processos de fabricação mecânica, assinale a opção que apresenta o processo em que a ferramenta denominada fieira é utilizada.
Provas
Na fundição, moldes são recipientes cujas cavidades formam a peça a ser fundida através do vazamento do metal líquido. Com base nesse processo, é correto afirmar que:
Provas
Uma liga de ferro-carbono foi submetida ao tratamento de têmpera com resfriamento rápido em um meio contendo água. A estrutura obtida será de:
Provas
Caderno Container