Foram encontradas 100 questões.
Observe a tabela abaixo.
|
Capacidade de Condução de Corrente (A) |
||
| Seção nominal (mm2) | 2 condutores | 3 condutores |
| 1,5 | 19,5 | 17,5 |
| 2,5 | 27 | 24 |
| 4,0 | 36 | 32 |
| 6,0 | 46 | 41 |
Considere um motor de indução monofásico de 6 CV alimentado em 230 Vca, com rendimento de 80% e com fator de potência 0,80 indutivo. Calcule a corrente nominal do motor e com os dados da tabela acima dimensione o condutor de alimentação do motor, de acordo com o critério de capacidade de condução de corrente, e assinale a opção correta. Dado: 1 CV = 736W
Provas
Um motor de indução trifásico de dois pólos e 60 Hz está operando com escorregamento igual a 3%, com potência de entrada de 20,960 kW e uma corrente terminal de 20 A.
Sabendo que a resistência de enrolamento do estator é 0,80 ohm/fase determine a potência dissipada no rotor e assinale a opção correta.
Provas
Observe a figura abaixo.

Dada a associação de capacitares da figura acima, qual a capacitância equivalente, vista dos terminais AB?
Provas
Observe o circuito abaixo.

Através do circuito equivalente de Thevenin nos terminais AB, qual o valor da resistência RL que permite a máxima transferência de potência para a carga (RL)?
Provas
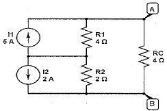
Dado o circuito abaixo determine a corrente no resistor Rc e assinale a opção correta.

Provas
NÃO pode ser chamado de atuador:
Provas

Calcule através do gráfico da figura acima o fator de carga mensal da unidade consumidora, considerando um consumo mensal de 73.000 kWh, e assinale a opção correta.
Provas

Considerando o gráfico da figura acima e sabendo que o fator de demanda da unidade é de 0,6, calcule a carga instalada da unidade consumidora e assinale a opção correta.
Provas
Com relação ao processo de soldagem MIG/MAG, assinale a opção INCORRETA.
Provas
Assinale a opção que NÃO apresenta uma característica dos AmpOp ideais.
Provas
Caderno Container