Foram encontradas 490 questões.
A Figura abaixo representa o cabeçote de um motor diesel com pré-câmara.

Nessa Figura, o elemento Q é denominado
Provas
A Figura abaixo representa um paquímetro com resolução igual a 1/128 da polegada.

A largura do conector elétrico, em polegada fracionária, registrada nesse paquímetro é
Provas
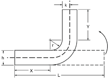
Uma chapa de comprimento L e espessura h é dobrada a 90º, conforme a Figura abaixo.

A medida k é calculada usando-se a seguinte expressão:
!$ k= \large {2(L-Y-X)-r \over \pi} !$
Ao valor da medida k corresponde a distância da face superior da chapa à linha onde não há qualquer deformação, denominada linha
Provas
As engrenagens de um redutor são dispostas conforme a Figura abaixo. G1 gira a 1.300 rpm no sentido horário, e todas têm o mesmo módulo, igual a 6 mm.

| Engrenagem | G1 | G2 | G3 | G4 |
| Nº de dentes | 26 | 65 | 20 | 13 |
As velocidades, em rpm, das engrenagens G2, G3 e G4 são, respectivamente,
Provas
Existe um tipo de manutenção em que se atua emergencialmente e de modo aleatório para sanar uma falha. A utilização desse tipo de manutenção apresenta uma tendência de queda ao longo dos anos, causada principalmente, pela adoção de métodos de acompanhamento sistemático que permitem a operação contínua do equipamento pelo maior tempo possível.
O tipo de manutenção descrita acima é a
Provas
Em uma empresa recém-criada, a Gerência da Qualidade escolheu seguir uma ferramenta básica de qualidade, e nomeou um supervisor para explicar ao quadro de funcionários que deveriam selecionar somente os itens úteis e necessários à atividade, separando tudo o que não fosse útil para o setor, tais como, materiais quebrados e sem utilidade, estoque de materiais em excesso e materiais já utilizados, descartando, ainda, tudo o que não servisse mais.
O conceito apresentado por esse supervisor faz parte da ferramenta de qualidade denominada
Provas
Para implantar as ferramentas de qualidade em uma empresa, o chefe do Departamento de Qualidade decidiu estabelecer alguns princípios usados a partir de 1950, dentre os quais estão:
1º) ter como objetivo melhorar constantemente o produto e o serviço;
2º) fomentar o trabalho em equipe e de maneira harmônica, eliminando barreiras entre departamentos;
3º) introduzir a qualidade no produto desde seu primeiro estágio, tornando desnecessária a inspeção em massa;
4º) melhorar sempre e constantemente o sistema de produção e de serviços, de modo a melhorar a qualidade e a produtividade, resultando em redução de custos;
5º) investir em treinamento dos funcionários no local de trabalho.
Tais princípios fazem parte do(das)
Provas
A Figura abaixo representa um sistema de travamento de uma porca castelo.

Esse sistema é chamado de trava por
Provas
O sistema de abastecimento usado quando a pressão da água fornecida pela rede pública é suficiente e descontínua, em que há necessidade de prever um reservatório superior, fazendo com que a alimentação de água potável de um prédio de até dois andares seja descendente, é denominado sistema
Provas
A Figura abaixo mostra as engrenagens cilíndricas de dentes retos, G1, G2 e G3 que têm, respectivamente, 17, 54 e 15 dentes, e módulo igual a 5,5 mm.

A distância L, medida em milímetros, é igual a
Provas
Caderno Container