Foram encontradas 490 questões.
A compreensão dos desequilíbrios ácido-básico requer o conhecimento de definições e princípios fundamentais. Sobre os aspectos destes distúrbios, assinale a afirmativa INCORRETA.
Provas
A identificação específica dos parasitos do sangue pode ser realizada por esfregaços sanguíneos. Considerando o método da gota espessa, assinale a afirmativa correta.
Provas
Determinado analista clínico recebeu duas amostras para exame parasitológico –a primeira (paciente Anélly) continha aspirado de úlcera cutânea para pesquisa de leishmaniose tegumentar; a segunda (paciente Robbie) apresentava aspirado de medula óssea para pesquisa de leishmaniose visceral. Para os casos de Anéllye Robbie, visando o diagnóstico de leishmaniose, o analista clínico deve proceder a pesquisa de:
Provas
A manutenção para testar e detectar vazamentos na tubulação que alimenta a caixa d’água deve ser feita seguindo os seguintes passos, EXCETO:
Provas
O programa de manutenção consiste na determinação das atividades essenciais de manutenção, sua periodicidade responsável pela execução, documentos de referência, referências normativas e recursos necessários, todos referidos individualmente aos sistemas e, quando aplicável, aos elementos componentes e equipamentos. O programa de manutenção deve considerar projetos, memoriais, orientação dos fornecedores, e manual de uso, operação e manutenção (quando houver), além de características específicas, como:
Provas
Toda instalação ou parte que, como resultado das verificações, for considerada insegura, deve ser imediatamente desenergizada, no todo ou na parte afetada, e somente deve ser recolocada em serviço após correção dos problemas detectados. Toda falha ou anormalidade constatada no funcionamento da instalação, ou em qualquer de seus componentes, sobretudo os casos de atuação dos dispositivos de proteção sem causa conhecida, deve ser comunicada a uma pessoa advertida ou qualificada, providenciando-se a correção do problema. Tal tipo de manutenção elétrica refere-se à:
Provas
Os SVVIE (Sistemas Verticais de Vedação Internos e Externos) da edificação habitacional, com ou sem função estrutural, sob ação de cargas devidas a peças suspensas, não podem apresentar fissuras, deslocamentos horizontais instantâneos, ou deslocamentos horizontais residuais, lascamentos, ou rupturas, nem permitir o arrancamento dos dispositivos de fixação nem seu esmagamento. Para isso, deve-se adotar o seguinte critério:
Provas
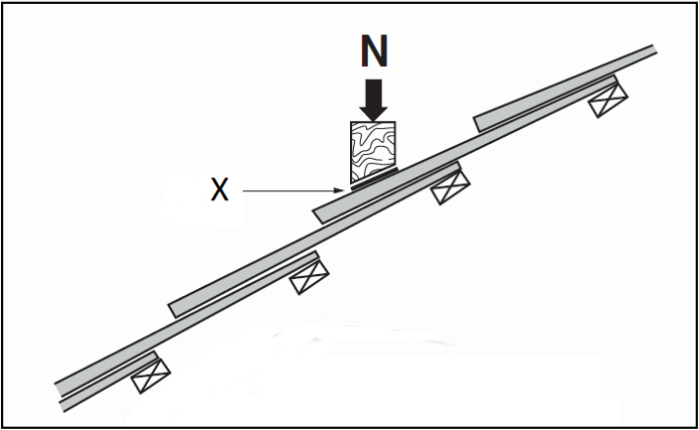
Para a manutenção de coberturas, a carga N, conforme a imagem, deve ser transmitida na posição mais desfavorável, por meio do cutelo de madeira, diretamente sobre a telha ou sobre dispositivos distribuidores de carga do tipo tábuas, pranchas e outras, especificados pelo fabricante ou construtor. O cutelo deve ser conformado para transmitir a carga na direção vertical, intercalando-se com material resiliente.

(Carga concentrada transmitida com o auxílio de cutelo de madeira. EM: NBR 15.575-5/2021.)
A letra X na imagem se trata de:
Provas
Em manutenção rotineira de dispositivo destinado à produção de ar sintético medicinal, a partir de suprimento dos gases nitrogênio medicinal e oxigênio medicinal, podemos afirmar que o profissional da área estará inspecionando um:
Provas
Em uma manutenção de edificação habitacional, a separação física (cujo meio é preenchido por ar) entre ponto de utilização ou ponto de suprimento e o nível de transbordamento dos reservatórios, aparelhos sanitários, ou outros componentes associados ao ponto de utilização, denomina-se:
Provas
Caderno Container