Magna Concursos

Foram encontradas 1.174 questões.

70995 Ano: 2009
Disciplina: Engenharia Ambiental e Sanitária
Banca: FCC
Orgão: INFRAERO
Provas:

A eutrofização

 

Provas

Questão presente nas seguintes provas
70994 Ano: 2009
Disciplina: Engenharia Ambiental e Sanitária
Banca: FCC
Orgão: INFRAERO
Provas:

O efluente de uma estação de tratamento de esgotos é analisado por dois laboratórios, a partir de amostras coletadas simultaneamente pelo operador. Consistentemente, os dois laboratórios apresentam resultados com uma diferença de 21,4% para nitrogênio amoniacal (maior valor em relação ao menor). Uma causa para esta diferença é

 

Provas

Questão presente nas seguintes provas
70993 Ano: 2009
Disciplina: Direito Ambiental
Banca: FCC
Orgão: INFRAERO
Provas:

A Resolução CONAMA nº 357 de 2005

 

Provas

Questão presente nas seguintes provas
70992 Ano: 2009
Disciplina: Engenharia Ambiental e Sanitária
Banca: FCC
Orgão: INFRAERO
Provas:

O precipitador eletrostático

 

Provas

Questão presente nas seguintes provas
70991 Ano: 2009
Disciplina: Engenharia Ambiental e Sanitária
Banca: FCC
Orgão: INFRAERO
Provas:

Na matriz energética do Brasil predominam

 

Provas

Questão presente nas seguintes provas
70990 Ano: 2009
Disciplina: Engenharia Mecânica
Banca: FCC
Orgão: INFRAERO
Provas:

Duas barras cilíndricas, I e II, de mesmo diâmetro estão submetidas à mesma carga de tração, dentro da zona elástica. A barra I tem o triplo do comprimento e o triplo do módulo de elasticidade da barra II.

A expectativa é que o incremento de comprimento da barra I em relação à barra II seja

 

Provas

Questão presente nas seguintes provas
70989 Ano: 2009
Disciplina: Engenharia Mecânica
Banca: FCC
Orgão: INFRAERO
Provas:

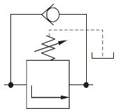
Para o comando de um atuador pneumático de dupla ação, utilizou-se a válvula direcional representada abaixo.

Enunciado 3454439-1

Trata-se de uma válvula

 

Provas

Questão presente nas seguintes provas
70988 Ano: 2009
Disciplina: Engenharia Mecânica
Banca: FCC
Orgão: INFRAERO
Provas:

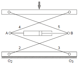
O enunciado abaixo refere-se a questão.

A figura abaixo representa esquematicamente um aparelho de elevação de carga acionado por um sistema hidráulico.

Enunciado 3454438-1

Para nivelar o aparelho de elevação com a plataforma superior de carga e descarga é necessário aumentar o limite de curso em alguns milímetros. Sem alterar o nível em relação à plataforma inferior, uma possível solução seria aumentar

 

Provas

Questão presente nas seguintes provas
70987 Ano: 2009
Disciplina: Engenharia Mecânica
Banca: FCC
Orgão: INFRAERO
Provas:

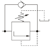
O enunciado abaixo refere-se a questão.

A figura abaixo representa esquematicamente um aparelho de elevação de carga acionado por um sistema hidráulico.

Enunciado 3454437-1

Para que a plataforma não adquira uma velocidade exces sivamente alta na descida, o operador deve liberar e blo quear o fluxo de óleo intermitentemente. Esse problema seria solucionado se fosse colocada na saída do óleo do atuado uma válvula do tipo

 

Provas

Questão presente nas seguintes provas
70986 Ano: 2009
Disciplina: Engenharia Mecânica
Banca: FCC
Orgão: INFRAERO
Provas:

O enunciado abaixo refere-se a questão.

A figura abaixo representa esquematicamente um aparelho de elevação de carga acionado por um sistema hidráulico.

Enunciado 3454436-1

Deseja-se aumentar a capacidade de carga desse dispositivo de elevação. De acordo com os padrões de segurança, a estrutura suporta esse incremento de carga, porém, o sistema hidráulico atuaria no limite de sua capacidade. Como há um excedente de óleo no reservatório, a solução mais simples e econômica seria

 

Provas

Questão presente nas seguintes provas