Foram encontradas 865 questões.
Qual das alternativas abaixo NÃO representa uma das etapas da lavra a céu aberto?
Provas
Questão presente nas seguintes provas
O ácido clorídrico fumegante possui densidade aproximada de 1,20 g.cm-3. Sabendo-se que essa solução possui 36,5% em massa de ácido clorídrico (massa molar HCl = 36,5 g.mol-1), determine o volume de água destilada que se usa na diluição de 100mL dessa solução, com o objetivo de se preparar uma solução 0,5 mol/L do mesmo ácido.
Provas
Questão presente nas seguintes provas
2427830
Ano: 2012
Disciplina: TI - Organização e Arquitetura dos Computadores
Banca: IFPI
Orgão: IFPI
Disciplina: TI - Organização e Arquitetura dos Computadores
Banca: IFPI
Orgão: IFPI
Área de armazenamento temporário projetada para acelerar a transferência de dados dentro do computador é o(a):
Provas
Questão presente nas seguintes provas
Qual ferramenta para a linguagem de programação Java realiza mapeamento objeto-relacional (ORM)?
Provas
Questão presente nas seguintes provas
Uma carga trifásica equilibrada em estrela é alimentada por uma fonte trifásica simétrica. Podemos afirmar, que:
Provas
Questão presente nas seguintes provas
Para alguns autores, a comunicação visual pode ser casual e intencional. A intencional pode ser examinada por dois aspectos, quais sejam:
Provas
Questão presente nas seguintes provas

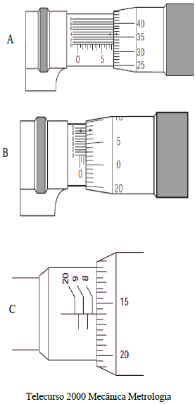
De acordo com os micrômetros indicados acima, as leituras apresentadas pelos instrumentos A, B e C são, respectivamente:
Provas
Questão presente nas seguintes provas
No desenvolvimento de pesquisa que envolve seres humanos e que se submete à apreciação de um Comitê de Ética em Pesquisa, exige-se do pesquisador um procedimento que caracteriza a autonomia como um dos referenciais básicos do modelo principialista da bioética. Esse procedimento consiste em:
Provas
Questão presente nas seguintes provas
O teor de ácido acético de uma dada marca de vinagre pode ser determinado a partir de uma titulação com solução de hidróxido de sódio. Entretanto, para que o erro desse processo seja o menor possível, escolhe-se um indicador que apresente uma faixa de viragem (pH de viragem) o mais próximo possível do pH encontrado no ponto de equivalência da titulação. Analisando os valores abaixo, qual o indicador mais adequado para determinar o teor de ácido acético, usando uma solução padrão de hidróxido de sódio.
| Indicador | Faixa de viragem (pH) |
| Violeta de metila | 0-1,6 |
| Azul de bromofenol | 3,0-4,6 |
| Vermelho de metila | 4,4-6,2 |
| Azul de bromotimol | 6,0-7,6 |
| Fenolftaleína | 8,0-10,0 |
Provas
Questão presente nas seguintes provas
O Banco Central (BACEN), órgão responsável pela política monetária, tem como objetivo regular o montante de moeda, crédito e as taxas de juros, de forma compatível com o nível de atividade econômica. São suas funções, EXCETO:
Provas
Questão presente nas seguintes provas
Cadernos
Caderno Container