Foram encontradas 200 questões.
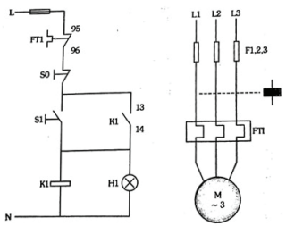
Em se tratando de motores e comandos elétricos, um dos momentos mais críticos é a partida, pois é
nesse instante que o motor elétrico requisita uma corrente muito maior do que a sua corrente nominal para
vencer o estado de inércia. A depender das condições de partida, esse pico de corrente pode, inclusive, disparar os dispositivos de proteção do circuito. Por isso, é muito importante conhecer e saber dimensionar os
dispositivos de proteção. A figura a seguir, ilustra um circuito de força e de comando de uma partida direta
de um motor trifásico:
Franchi, Claiton Moro. Acionamentos Elétricos. São Paulo: Érica, 5. ed. 2014.
Sabendo que o relé térmico representado se trata de um relé de classe 20 e considerando os demais dispositivos de proteção da figura, assinale a única alternativa correta:
Franchi, Claiton Moro. Acionamentos Elétricos. São Paulo: Érica, 5. ed. 2014.
Sabendo que o relé térmico representado se trata de um relé de classe 20 e considerando os demais dispositivos de proteção da figura, assinale a única alternativa correta:
Provas
Questão presente nas seguintes provas
Durante uma aula prática de Circuitos Elétricos, foi pedido aos alunos que verifi cassem as
tensões e correntes em um resistor de 220 Ω conectado a uma fonte de 9 V. O aluno João utilizou
o multímetro digital em diferentes modos de medição, conforme descrito a seguir:
Situação 1: multímetro confi gurado para medir tensão contínua, ligado em paralelo ao resistor.
Situação 2: multímetro confi gurado para medir corrente contínua, ligado em série com o resistor. Situação 3: multímetro confi gurado para medir corrente contínua, ligado em paralelo com o resistor.
Com base nessas situações, assinale a alternativa que indica corretamente o comportamento esperado do multímetro e do circuito em cada caso.
Situação 1: multímetro confi gurado para medir tensão contínua, ligado em paralelo ao resistor.
Situação 2: multímetro confi gurado para medir corrente contínua, ligado em série com o resistor. Situação 3: multímetro confi gurado para medir corrente contínua, ligado em paralelo com o resistor.
Com base nessas situações, assinale a alternativa que indica corretamente o comportamento esperado do multímetro e do circuito em cada caso.
Provas
Questão presente nas seguintes provas
Em um centro de usinagem CNC, padrão
FANUC, foi desenvolvido o programa a seguir:
Observa-se a omissão de um comando essencial na linha N50, que é crítico para garantir a correta profundidade da furação em Z. Qual comando e parâmetro deveriam ser inseridos em N50 para que o programa funcione corretamente?
Fonte: IFSP, 2025.
Observa-se a omissão de um comando essencial na linha N50, que é crítico para garantir a correta profundidade da furação em Z. Qual comando e parâmetro deveriam ser inseridos em N50 para que o programa funcione corretamente?
Fonte: IFSP, 2025.
Provas
Questão presente nas seguintes provas
Os Controladores Lógicos Programáveis
(CLPs) são amplamente utilizados na automação
industrial por substituírem sistemas de comando
baseados em relés.
Considerando sua aplicação em circuitos de comando elétrico, assinale a alternativa correta:
Considerando sua aplicação em circuitos de comando elétrico, assinale a alternativa correta:
Provas
Questão presente nas seguintes provas
Em um circuito hidráulico com bomba de
deslocamento fi xo, deseja-se limitar a pressão máxima do sistema e descarregar o excesso para o
tanque quando o valor ajustado for atingido, protegendo bomba e tubulações contra sobrepressões.
Qual válvula deve ser utilizada?
Provas
Questão presente nas seguintes provas
Em um programa em C para microcontrolador (como Arduino), qual é a função da void loop()?
Provas
Questão presente nas seguintes provas
- EletrotécnicaCircuitos Elétricos em Eletrotécnica
- EletrotécnicaInstalações Elétricas em Eletrotécnica
Uma residência será alimentada por um padrão de entrada monofásico, com tensão de 127
V. A carga total instalada é de 6.350 W. Considerando um fator de demanda de 0,8, determine
a corrente elétrica total calculada que deve ser
considerada para o dimensionamento do disjuntor geral do padrão de entrada:
Provas
Questão presente nas seguintes provas
Analise a descrição de um desenho técnico
(hipotético) de uma peça mecânica representada
em três vistas ortogonais:
• Vista frontal: mostra um retângulo de 80 mm × 40 mm com um furo central de ⌀20 mm;
• Vista superior: mostra um retângulo de 80 mm × 60 mm;
• Vista lateral direita: mostra um retângulo de 60 mm × 40 mm.
Com base nas descrições destas três vistas, qual das alternativas a seguir melhor descreve a forma tridimensional da peça?
• Vista frontal: mostra um retângulo de 80 mm × 40 mm com um furo central de ⌀20 mm;
• Vista superior: mostra um retângulo de 80 mm × 60 mm;
• Vista lateral direita: mostra um retângulo de 60 mm × 40 mm.
Com base nas descrições destas três vistas, qual das alternativas a seguir melhor descreve a forma tridimensional da peça?
Provas
Questão presente nas seguintes provas
Um circuito com duas resistências elétricas em série é montado por um técnico. Sabe-se
que R1
= 1kΩ e R2 = 2kΩ. A alimentação desse circuito é feita por uma fonte senoidal de 12V
(pico) e frequência de 10kHz. O canal 01 de um
osciloscópio é conectado aos terminais da fonte e
o canal 02 é conectado aos terminais do resistor
R2
. Com base nessas informações pode-se afirmar
que:
Provas
Questão presente nas seguintes provas
Em um experimento de laboratório com um
carrinho em um trilho de ar inclinado, o movimento do carrinho ocorre com aceleração constante.
No instante em que o cronômetro é zerado (t0 =
0s), o carrinho passa por um sensor com uma velocidade inicial de v0 = 0,50 m/s. Após percorrer
uma distância de 2,00 m ao longo do trilho em linha reta, ele é detectado por um segundo sensor
com uma velocidade final de v = 2,50 m/s.
Considerando o movimento descrito, assinale a alternativa que apresenta os valores corretos para a aceleração (a) e o intervalo de tempo (Δt) do percurso.
Considerando o movimento descrito, assinale a alternativa que apresenta os valores corretos para a aceleração (a) e o intervalo de tempo (Δt) do percurso.
Provas
Questão presente nas seguintes provas
Cadernos
Caderno Container