Foram encontradas 50 questões.
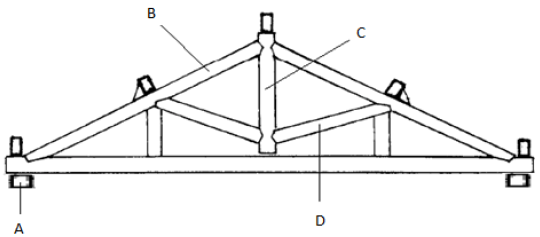
Analise a Figura abaixo correspondente a uma tesoura de uma coberta.

Assinale a alternativa em que os elementos “A”, “B”, “C” e “D” estão CORRETA e respectivamente apresentados:
Provas
Questão presente nas seguintes provas
São consideradas medidas de proteção coletivas para os canteiros de obra:
Provas
Questão presente nas seguintes provas
Para a promoção da acessibilidade e de acordo com a NBR 9050, as dimensões mínimas dos boxes de banheiros devem ser de:
Provas
Questão presente nas seguintes provas
No controle administrativo, é imprescindível ordenar os serviços ou insumos pelo maior valor dos seus custos totais, permitindo identificar rapidamente os que consumirão maiores recursos e, por consequência, aqueles em que uma racionalização de métodos e procedimentos trará maior economia. Qual a ferramenta utilizada com essa finalidade?
Provas
Questão presente nas seguintes provas
No planejamento e programação de tempos e recursos financeiros, em obras civis, é utilizado:
Provas
Questão presente nas seguintes provas
A Figura abaixo representa um tipo de conexão utilizada na Instalação Predial de Água Fria.

Como é chamada o tipo de conexão representado na Figura?
Provas
Questão presente nas seguintes provas
De acordo com a NBR – 5674, a gestão do sistema de manutenção deve considerar as características das edificações. Assinale a alternativa que NÃO apresenta característica relevante para esse sistema:
Provas
Questão presente nas seguintes provas
TEXTO II

Comparando-se o Texto II com o Texto I, só NÃO se pode afirmar que:
Provas
Questão presente nas seguintes provas
No que diz respeito às instalações do canteiro de obras, assinale V, para o que for Verdadeiro, e F, para o que for Falso.
( ) É obrigatório cozinha apenas quando houver preparo de refeições nos canteiros de obras.
( ) Independentemente do número de trabalhadores e da existência ou não de cozinha, em todo canteiro de obra deve haver local exclusivo para o aquecimento de refeições, dotado de equipamento adequado e seguro para o aquecimento.
( ) As instalações sanitárias devem se ligar diretamente com os locais destinados às refeições para evitar grandes deslocamentos.
( ) Os alojamentos devem possuir beliches e armários individuais e em número suficiente para os alojados, sendo permitido o uso de até três camas na mesma vertical.
( ) Todo canteiro de obra deve possuir vestiário para troca de roupa dos trabalhadores que não residem no local.
A sequência CORRETA é:
Provas
Questão presente nas seguintes provas
TEXTO I
Concertos de leitura
Penso que, de tudo o que as escolas podem fazer com as crianças e os jovens, não há nada de importância maior que o ensino do prazer da leitura. Todos falam na importância de alfabetizar, saber transformar símbolos gráficos em palavras. Concordo. Mas isso não basta. É preciso que o ato de ler dê prazer. As escolas produzem, anualmente, milhares de pessoas com habilidade de ler mas que, vida afora, não vão ler um livro sequer. Acredito piamente no dito do evangelho: "No princípio está a Palavra…". É pela palavra que se entra no mundo humano. (...)
As razões por que as pessoas não gostam de ler, eu as descobri acidentalmente muitos anos atrás. Uma aluna foi à minha sala e me disse: "Encontrei um poema lindo!". Em seguida disse a primeira linha. Fiquei contente porque era um de meus favoritos. Aí ela resolveu lê-lo inteiro. Foi o horror. Foi nesse momento que compreendi. Imagine uma valsa de Chopin, por exemplo a vulgarmente chamada "do minuto". Peço que o pianista Alexander Brailowiski a execute. Os dedos correm rápidos sobre as teclas, deslizando, subindo, descendo. É uma brincadeira, um riso. Aí eu pego a mesma partitura e peço que um pianeiro a execute. As notas são as mesmas. Mas a valsa fica um horror: tropeções, notas erradas, arritmias, confusões. O que a gente deseja é que ele pare. Pois a leitura é igual à música. Para que a leitura dê prazer é preciso que quem lê domine a técnica de ler. A leitura não dá prazer quando o leitor é igual ao pianeiro: sabem juntar as letras, dizer o que significam — mas não têm o domínio da técnica. O pianista dominou a técnica do piano quando não precisa pensar nos dedos e nas notas: ele só pensa na música. O leitor dominou a técnica da leitura quando não precisa pensar em letras e palavras: só pensa nos mundos que saem delas; quando ler é o mesmo que viajar. E o feitiço da leitura continua me espantando. Faz uns anos um amigo rico me convidou para passar uns dias no apartamento dele em Cabo Frio. Aceitei alegre, mas ele logo me advertiu: "Vão também cinco adolescentes…". Senti um calafrio. E tratei de me precaver. Fui a uma casa de armas, isto é, uma livraria, escolhi uma arma adequada, uma versão simplificada da Odisséia, de Homero, comprei-a e viajei, pronto para o combate. Primeiro dia, praia, almoço, modorra, sesta. Depois da sesta, aquela situação de não saber o que fazer. Foi então que eu, valendo-me do fato de que eles não me conheciam, e falando com a autoridade de um sargento, disse: "Ei, vocês aí. Venham até a sala que eu quero lhes mostrar uma coisa!". Eles obedeceram sem protestar. Aí, comecei a leitura. Não demorou muito. Todos eles estavam em transe. Daí para a frente foi aquela delícia, eles atrás de mim pedindo que continuasse a leitura. Ensina-se, nas escolas, muita coisa que a gente nunca vai usar, depois, na vida inteira. Fui obrigado a aprender muita coisa que não era necessária, que eu poderia ter aprendido depois, quando e se a ocasião e sua necessidade o exigisse. É como ensinar a arte de velejar a quem mora no alto das montanhas…Nunca usei seno ou logaritmo, nunca tive oportunidade de usar meus conhecimentos sobre as causas da Guerra dos Cem Anos, nunca tive de empregar os saberes da genética para determinar a prole resultante do cruzamento de coelhos brancos com coelhos pretos, nunca houve ocasião que eu me valesse dos saberes sobre sulfetos. Mas aquela experiência infantil, a professora nos lendo literatura, isso mudou minha vida. Ao ler — acho que ela nem sabia disso — ela estava me dando a chave de abrir o mundo. Há concertos de música. Por que não concertos de leitura? Imagino uma situação impensável: o adolescente se prepara para sair com a namorada, e a mãe lhe pergunta: "Aonde é que você vai?". E ele responde: "Vou a um concerto de leitura. Hoje, no teatro, vai ser lido o conto A terceira margem do rio, de Guimarães Rosa. Por que é que você não vai também com o pai?". Aí, pai e mãe, envergonhados, desligam o Jornal Nacional e vão se aprontar…
(Adaptado de: ALVES, R. Entre a ciência e a sapiência: o dilema da educação. São Paulo: Editorial
Loyola, 1996.)
Sobre a função da escola no desenvolvimento do prazer de ler, o Texto I assim se posiciona:
Provas
Questão presente nas seguintes provas
Cadernos
Caderno Container