Foram encontradas 365 questões.
Para representar a estrutura cristalina dos materiais, utiliza-se um modelo típico de arranjo cristalino formado por átomos, gerando assim um padrão devido à repetição de diversas unidades estruturais. Essas unidades estruturais são chamadas:
Provas
Para a obtenção de produtos de alta qualidade através de métodos de conformação mecânica, alguns fatores metalúrgicos precisam ser observados. São eles:
Provas
O processo de conformação no qual uma barra é forçada a passar por uma fieira através de um esforço de tração do lado da saída dessa fieira é denominado:
Provas
Os compressores alternativos utilizados em sistemas pneumáticos são responsáveis pelo fornecimento de ar comprimido para o funcionamento adequado dos demais elementos que compõem a rede. Marque a opção que representa o fundamento de seu princípio de funcionamento.
Provas
O uso de lubrificantes gasosos, líquidos ou sólidos na interface deslizante dos elementos de máquinas e equipamentos traz muitos benefícios ao funcionamento dos dispositivos mecânicos ou eletromecânicos em geral, sobretudo no coeficiente de atrito. Para os lubrificantes líquidos ou sólidos, existem duas propriedades essenciais que devem ser partilhadas. São elas:
Provas
A figura abaixo mostra os esforços aplicados no decorrer da extensão de uma viga, bem como as distâncias entre os pontos de aplicação das forças em relação aos apoios A e B. Sabendo-se que P = 5 kN, a = 2 m e L = 6 m, assinale a alternativa que indica os valores corretos das reações nos apoios A e B.

Provas
A lei de Pascal afirma que a pressão aplicada num determinado ponto de um fluido em repouso é transmitida de forma integral a todos os demais pontos do fluido. Assim, ao aplicarmos uma força de 300 N no êmbolo (1) de uma prensa hidráulica, qual será a força transmitida no êmbolo (2), sabendo-se que A1 = 20 cm2 e A2 = 200 cm2?

Provas
A válvula direcional, representada na figura abaixo, é:

Provas
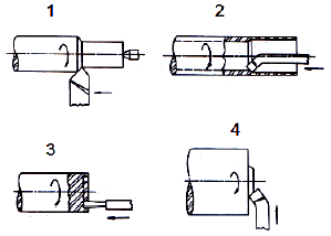
O processo de torneamento é um método de usinagem utilizado para confeccionar superfícies de revolução por meio de ferramentas de corte apropriadas, de forma que a peça gira em torno do eixo principal de rotação da máquina e a ferramenta de corte avança simultaneamente em uma trajetória coplanar com o referido eixo.
Dessa maneira, assinale a alternativa que relaciona corretamente o método de torneamento utilizado de acordo com a forma da trajetória indicada nas figuras abaixo.

Provas
Simplificando a equação booleana !$ Y = \overline {ABC} + \overline A B \overline C + \overline A \overline B C + \overline A B C !$ obtém-se:
Provas
Caderno Container