Foram encontradas 1.792 questões.
Uma empresa especializada na execução de serviços de cabeamento de voz, dados e elétricos em geral realizou a instalação de um patch panel como parte de complementação do sistema de cabeamento estruturado de uma instituição, iniciado por uma outra empresa do ramo. Considerando esta situação, julgue o item que se segue.
Patch cords e patch panels desempenham as mesmas funções. A diferença é que patch cords são também utilizados nos ramais de PABX, mas patch panels são exclusivos para redes internas de computadores.
Provas
- Normas e LegislaçõesEngenharia Legal
- Normas e LegislaçõesLicitações e Contratos da Administração Pública
Durante procedimento de fiscalização de serviços de engenharia de uma obra pública, os profissionais encarregados dessa função constataram algumas irregularidades no que diz respeito às medições dos serviços e pagamentos executados. Com relação a esse assunto, julgue os itens a seguir quanto à irregularidade das ações.
Falta de pagamento de serviços pendentes por falta de material no mercado ou que não chegaram dentro do prazo previsto.
Provas
- Normas e LegislaçõesEngenharia Legal
- Normas e LegislaçõesLicitações e Contratos da Administração Pública
Durante procedimento de fiscalização de serviços de engenharia de uma obra pública, os profissionais encarregados dessa função constataram algumas irregularidades no que diz respeito às medições dos serviços e pagamentos executados. Com relação a esse assunto, julgue os itens a seguir quanto à irregularidade das ações.
Medições e pagamentos executados com critérios diferentes dos que foram estipulados no edital de licitação e contrato.
Provas
Considere que um transformador de força em uma subestação de extra-alta tensão recebe energia elétrica por meio de uma linha de transmissão aérea para suprir uma carga que é conectada pelo lado de menor tensão. A respeito desta situação hipotética, julgue os itens subseqüentes.
O abaixamento de tensão no transformador para suprir a carga, durante uma sobretensão, será acompanhado de significativa variação da freqüência industrial, caso estejam instalados filtros de harmônicos próximos ao transformador.
Provas
Considere que um transformador de força em uma subestação de extra-alta tensão recebe energia elétrica por meio de uma linha de transmissão aérea para suprir uma carga que é conectada pelo lado de menor tensão. A respeito desta situação hipotética, julgue os itens subseqüentes.
Suponha que não há pára-raios instalados próximo ao transformador nem na entrada da linha. Nessa situação, a falta de pára-raios na subestação pode ser justificada, provavelmente, pela baixa incidência de descargas atmosféricas no local, não constituindo falha de projeto.
Provas
Uma subestação em extra-alta tensão de um sistema elétrico de potência possui vários tipos de disjuntores instalados no seu pátio. Acerca deste assunto, julgue os itens a seguir.
Nas chaves de terra, podem ser instalados acessórios, tais como hastes com molas e dispositivos que proporcionem jatos de ar comprimido, cuja finalidade é facilitar a extinção do arco.
Provas
Uma subestação em extra-alta tensão de um sistema elétrico de potência possui vários tipos de disjuntores instalados no seu pátio. Acerca deste assunto, julgue os itens a seguir.
As chaves seccionadoras em sistemas de energia elétrica em alta e extra-alta tensão podem ser utilizadas para manobra de bancos de capacitores
Provas
Uma subestação em extra-alta tensão de um sistema elétrico de potência possui vários tipos de disjuntores instalados no seu pátio. Acerca deste assunto, julgue os itens a seguir.
Disjuntores em SF 6 são apropriados para interrupção de correntes capacitivas em alta e extra-alta tensão.
Provas
Uma subestação em extra-alta tensão de um sistema elétrico de potência possui vários tipos de disjuntores instalados no seu pátio. Acerca deste assunto, julgue os itens a seguir.
Considere que em um dos circuitos da subestação existam disjuntores a ar comprimido. Este tipo de disjuntor utiliza um jato de ar para extinguir o arco fotovoltaico que é formado durante uma falta.
Provas
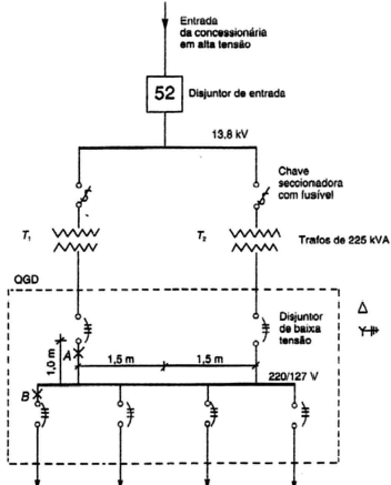
p>A figura a seguir mostra o diagrama unifilar de uma subestação, destacando-se o quadro geral de distribuição (QGD) dentro da área tracejada no diagrama.

Hélio Creder. Instalações Elétricas. LTC, 14.ª ed., 2000, p. 409.
Com base nas informações acima, julgue os itens subseqüentes.
No QGD, além de disjuntores, são mostrados quatro transformadores de corrente (TCs), os quais são utilizados para medir as correntes necessárias para alimentar as cargas.
Provas
Caderno Container