Foram encontradas 120 questões.
O ciclo Rankine opera na entrada da turbina, com a substância de trabalho, no estado gasoso, como a água e alguns hidrocarbonetos, ao passo que, na entrada da bomba hidráulica a substância de trabalho está no estado líquido.
Ciclos de turbina a gás podem operar de forma eficiente com hélio, como fluido de trabalho, e com energia solar.
Provas
No que se refere à instrumentação e à calibração de instrumentos de medição, julgue o item subsecutivo.
Em alguns casos, a dispersão é mais bem caracterizada pela estimativa agrupada da variância do que pelo desvio padrão.
Provas
No que se refere à instrumentação e à calibração de instrumentos de medição, julgue o item subsecutivo.
A experiência ou o conhecimento geral do comportamento e das propriedades dos materiais e de instrumentos relevantes são imprescindíveis na avaliação de incertezas do tipo A.
Provas
No que se refere à instrumentação e à calibração de instrumentos de medição, julgue o item subsecutivo.
A variância da distribuição de uma variável aleatória não pode ser empregada como medida da dispersão de valores.
Provas

No que se refere ao circuito apresentado, que está subdivido em quatro blocos, julgue o item subsequente.
A tensão reversa máxima em cada diodo do bloco B é igual a 24 V.
Provas

No que se refere ao circuito apresentado, que está subdivido em quatro blocos, julgue o item subsequente.
Se os dois capacitores localizados entre a ponte retificadora e o regulador de tensão forem retirados do circuito, e se o restante do circuito for mantido inalterado, então a tensão IN 1, na entrada do bloco D, será constante e igual a 12 V.
Provas

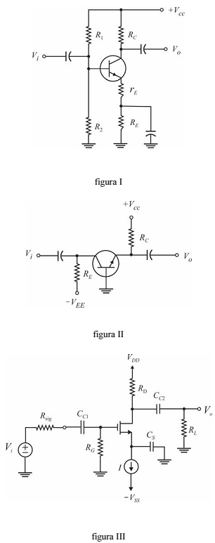
Julgue o item seguinte, referente aos amplificadores mostrados nas figuras I, II e III.
O circuito da figura I é um amplificador na configuração emissor comum com resistência de emissor. O valor do resistor rE influencia a impedância de entrada do circuito.
Provas

Julgue o item seguinte, referente aos amplificadores mostrados nas figuras I, II e III.
O circuito da figura III está na configuração dreno comum e a impedância de entrada desse amplificador é igual a RG.
Provas

Julgue o item seguinte, referente aos amplificadores mostrados nas figuras I, II e III.
O circuito da figura II é um amplificador na configuração base comum, e o seu ganho de corrente é menor que 2.
Provas

Com relação aos circuitos mostrados nas figuras I, II, III e IV, julgue o item a seguir, considerando que, nesses circuitos, todos os componentes sejam ideais.
A tensão de saída no circuito da figura IV é dada por v0 = 4v1 - 5v2.
Provas
Caderno Container