Foram encontradas 425 questões.
Utilize os dados a seguir para responder à questão.
O Balance de Verificação de uma entidade, em 30 de junho de 2022 (final do 2º trimestre) tem as seguintes informações.
|
Conta Contábil |
Saldo (em R$) |
|
Bancos |
24.000,00 |
|
Bens Móveis |
100.000,00 |
|
Caixa |
3.500,00 |
|
Capital Social |
1.000.000,00 |
|
CMV |
234.567,00 |
|
Contas a Receber |
68.000,00 |
|
Depreciação Acumulada |
17.300,00 |
|
Despesa com Depreciação |
3.300,00 |
|
Despesa com IR e CSLL |
27.530,00 |
|
Despesa com Perda Estimada de Crédito de Liquidação Duvidosa |
770,00 |
|
Despesa com Salários |
75.560,00 |
|
Despesa de Juros |
345,00 |
|
Despesas Gerais e Administrativas |
245.000,00 |
|
Duplicatas Descontadas |
35.500,00 |
|
Edifícios e Casas |
700.000,00 |
|
Encargos Financeiros a apropriar |
1.500,00 |
|
Estoques |
340.000,00 |
|
Fornecedores |
177.770,00 |
|
Perda Estimada de Crédito de Liquidação Duvidosa (ativo) |
3.400,00 |
|
Receita Bruta |
654.500,00 |
|
Receita de Juros |
900,00 |
|
Reservas de Lucros |
113.030,00 |
|
Salários a Pagar |
90.000,00 |
|
Terrenos |
200.000,00 |
O resultado líquido do período totalizou, em R$:
Provas
Observe a imagem a seguir.

As medidas do paquímetro, em milímetros e em polegadas, são de
Provas
Observe a imagem a seguir.

A medida no micrometro, em milésimo de polegadas, é de
Provas
Observe a imagem a seguir.

A medida mostrada no micrometro é de
Provas
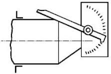
Observe a imagem a seguir.

Após tornear o cone externo utilizamos uma ferramenta para conferência do ângulo denominado de
Provas
A imagem a seguir representa um tipo de torneamento.

Esse torneamento é denominado de
Provas
Observe a imagem a seguir.

Para realizar o primeiro faceamento de uma peça circular, devemos manter as medidas
Provas
A operação que consiste em fazer no material uma superfície plana perpendicular ao eixo geométrico da peça, mediante a ação de uma ferramenta de corte que se desloca por meio do carro transversal.
O enunciado descreve o
Provas
É correto afirmar que NÃO há a necessidade de aplicação de fluido de corte na calibração com alargador para os materiais de ferro
Provas
No processo de calibragem do furo com alargador manual, são obtidos furos padronizados com classe de tolerância
Provas
Caderno Container