Foram encontradas 50 questões.
Em desenho técnico, peças que utilizam cortes ou seções para sua representação devem ter as áreas em que efetivamente se cortou material hachuradas. Sobre hachuras, considere as seguintes afirmativas:
1. As hachuras em uma peça composta (soldada, rebitada, remanchada ou colada) são feitas na mesma direção.
2. As hachuras, nos desenhos de conjunto, em peças adjacentes, devem ser feitas em direções opostas ou com espaçamentos diferentes.
3. As hachuras são formadas por linhas inclinadas a 45º em relação às linhas principais do contorno ou eixos de simetria.
4. Quando há uma cota representada na parte cortada da peça, as hachuras têm prioridade na representação. Portanto, as hachuras devem passar por cima da escrita da cota, pois a representação do material é fundamental no entendimento da peça.
Assinale a alternativa correta.
Provas
A ABNT (Associação Brasileira de Normas Técnica) define, em sua norma NBR 8403-1984, os tipos de linha técnicas utilizadas para padronizar as representações de peças e conjuntos mecânicos. Essas linhas estão sempre presentes nos desenhos técnicos e, para poder ler e interpretar esses desenhos, é preciso conhecer os tipos de linhas e o que elas representam. De acordo com o que define a NBR 8403-1984, numere a coluna da direita de acordo com sua correspondência com a coluna da esquerda.
.
Assinale a alternativa que apresenta a numeração correta da coluna da direita, de cima para baixo.
Provas
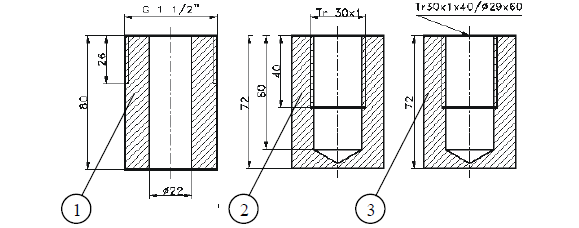
Observe os desenhos abaixo:

Os desenhos 1, 2 e 3 representam peças rosqueadas em corte. Sobre a leitura e interpretação desses desenhos, considere as seguintes afirmativas:
1. A peça 1 se trata de uma peça cilíndrica com furo de 22 mm e tem rosca Geométrica externa de 1 ½” de diâmetro externo.
2. A peça 2 é cilíndrica e tem uma rosca trapezoidal externa de 60 mm de comprimento e rosca interna de 30 mm de diâmetro interno com passo de 1 mm.
3. A peça 3 tem rosca trapezoidal interna de 30 mm de diâmetro, com passo de 1 mm, com comprimento de 40 mm, feita em um furo básico de 29 mm de diâmetro com 60 mm de comprimento.
4. As hachuras representadas nas 3 peças deveriam ser interrompidas na linha fina de representação da rosca, porque a linha fina representa o diâmetro externo da rosca.
Assinale a alternativa correta.
Provas
Com relação ao desenho de uma peça mecânica cuja representação e fabricação têm um nível maior de complexidade, identifique como verdadeiros (V) os recursos que muitas vezes é necessário que se utilize ou como falsos (F) os que não são requeridos:
( ) Recursos de cortes, seções e ou vistas auxiliares para seu perfeito e completo entendimento.
( ) A execução do desenho de detalhes da peça realizados em escala de redução.
( ) Desenhos da peça em perspectiva, identificando, com linhas tracejadas, toda sua parte interna.
( ) A representação da peça em 1º e em 3º diedros desenhados na mesma folha.
Assinale a alternativa que apresenta a sequência correta, de cima para baixo.
Provas
Entre os elementos de fixação que são utilizados na união entre peças é comum encontrarmos os parafusos. Quanto aos tipos de cabeças de parafusos e suas aplicações, numere a coluna da direita de acordo com sua correspondência com a coluna da esquerda.

Assinale a alternativa que apresenta a numeração correta da coluna da direita, de cima para baixo.
Provas
Em mecânica é muito comum a necessidade de se unir peças como chapas, perfis e barras. Qualquer construção, por mais simples que seja, exige a união de peças entre si. Essa união pode ser feita pelo que é chamado de elemento de fixação. Para se fazer a leitura e a interpretação de desenho técnico mecânico, é necessário conhecer, entre outros, os elementos de fixação. Os mais comumente utilizados são os rebites, pinos, cavilhas, parafusos, porcas, arruelas, chavetas, contrapinos, anéis elásticos etc. De acordo com o elemento de fixação e sua definição, numere a coluna da direita de acordo com sua correspondência com a coluna da esquerda.

Assinale a alternativa que apresenta a numeração correta da coluna da direita, de cima para baixo.
Provas
Para suportar eixos rotativos, são usados mancais com rolamentos ou com buchas. Para que o eixo possa girar satisfatoriamente na bucha, é preciso que algumas condições sejam satisfeitas. Acerca disso, considere as condições abaixo especificadas:
1. Precisão de ajuste: A folga entre eixo e bucha deve ser a menor possível, mas suficiente para que a rotação se processe livremente e o óleo destinado à lubrificação possa infiltrar-se entre as superfícies em contato do eixo e da bucha.
2. Reduzido coeficiente de atrito: Para que o atrito seja reduzido ao mínimo possível, as buchas devem ser feitas de material que apresente o menor coeficiente de atrito possível quando em contato com o eixo. Em geral, o material das buchas é bronze, latão ou ligas especiais antifricção. Um fator muito importante para reduzir o atrito entre eixo e bucha é o grau de acabamento das suas superfícies.
3. Resistência mecânica: A fim de que o eixo possa se apoiar numa superfície bastante ampla, na bucha, é preciso que esta última tenha comprimento suficiente. O comprimento da bucha varia entre 1,5 e 2 vezes a dimensão do diâmetro do eixo.
4. Lubrificação: Os tipos de lubrificação empregados nas buchas são dois: o de circulação forçada e o de circulação de anel. O tipo de lubrificação forçada é o utilizado nos motores de explosão, motores Diesel e outros tipos de motores congêneres. O tipo de lubrificação de anel é o comumente usado nos mancais das máquinas elétricas. Em geral, o anel que faz circular o óleo é de ferro, porém no caso das máquinas elétricas prefere-se anel de material antimagnético.
Assinale a alternativa correta.
Provas
De acordo com a NBR 10126 (ABNT), que trata da cotagem em desenho técnico, a cotagem é definida como a representação gráfica no desenho da característica do elemento, através de linhas, símbolos, notas e valor numérico numa unidade de medida. Quanto à aplicação da cotagem em um desenho, é correto afirmar:
Provas
No sistema de transmissão de movimentos esquematizado ao lado, sabe-se que:
· A circunferência 1 representa uma roda dentada com raio R, girando no sentido da seta com velocidade V.
· A circunferência 2 representa uma roda dentada de raio R/2.
· A circunferência 3 representa uma roda dentada de raio 2R.
O sentido de giro e a velocidade da roda dentada 3 será:

Provas
Com relação aos compressores, considere as seguintes afirmativas:
1. Os compressores podem ser classificados, conforme seu princípio de operação, em dois tipos principais: estáticos ou de deslocamento positivo.
2. Os compressores estáticos são subdivididos em alternativos ou rotativos.
3. Os compressores positivos são subdivididos em centrífugos ou axiais.
4. Compressor de parafuso simples e parafuso duplo são tipos de compressores dinâmicos.
Assinale a alternativa correta.
Provas
Caderno Container