Foram encontradas 520 questões.
Em relação à Demonstração do Valor Adicionado (DVA), são feitas as seguintes afirmações:
I. A entidade, sob a forma jurídica de sociedade por ações, com capital aberto, ou não, deve elaborar a DVA e apresentá-la como parte das demonstrações contábeis divulgadas ao final de cada exercício social. É recomendada, entretanto, a sua elaboração por todas as entidades que divulgam demonstrações contábeis.
II. A demonstração em questão tem por objetivo apresentar, de forma ordenada e sintética, a riqueza gerada pela entidade em determinado período, bem como a sua distribuição.
III. O valor adicionado recebido em transferência representa a parte da riqueza da empresa que foi gerada por terceiros e enviada à empresa.
IV. As receitas financeiras, de equivalência patrimonial, de aluguel e royalties, devem ser consideradas como Valor Adicionado recebido em transferência, pois representam a riqueza que foi criada pela própria entidade e por terceiros.
V. A Lei n. 11.638/2007 tornou obrigatória a DVA para todas as companhias abertas.
VI. A distribuição da riqueza criada deve ser detalhada, minimamente, da seguinte forma: pessoal e encargos; impostos, taxas e contribuições; juros e aluguéis; juros sobre o capital próprio (JCP) e dividendos; lucros retidos/prejuízos do exercício.
Estão corretas
Provas
Provas
- Demonstrações ContábeisBP: Balanço Patrimonial
- Demonstrações ContábeisDRE: Demonstração do Resultado do Exercício
Utilizando os dados a seguir, responda à questão.

Provas
- Demonstrações ContábeisBP: Balanço Patrimonial
- Demonstrações ContábeisDRE: Demonstração do Resultado do Exercício
Utilizando os dados a seguir, responda à questão.

Provas
a corrente de sensibilização do disjuntor é igual a 1,25 ID, os fatores de correção para temperatura e agrupamento (fct e fca) são respectivamente 1,0 e 0,75, a corrente nominal do circuito (In) é igual a 75A e a corrente máxima do condutor de 35mm² (com isolação de PVC) nas condições de 30°C e sem agrupamento é Imax.cond = 110 A.
A partir desses dados, propõe-se um projeto em que: → o tempo de atuação do disjuntor (tD) para uma corrente de curto-circuito (Icc) de 5kA é igual a 0,20s, → a constante K para PVC é igual a 115, → a corrente de ruptura do disjuntor (IRD) é igual a 10kA, → a corrente nominal do disjuntor (ID) é igual a 90A.
Este projeto
Provas

Os maiores graus de proteção (IP) previstos para os componentes da instalação, nos volumes 0, 1 e 2 próximos à piscina são dados respectivamente por
Provas
Quando uma tensão CC de 10 V foi aplicada a dois dos terminais, uma corrente de 25 A foi medida.
Os valores da resistência de armadura e da reatância síncrona aproximada em ohms usados no modelo do gerador nas condições nominais são, respectivamente,
Provas
Observe a chave estrela-triângulo da figura a seguir:

Considere NA = normalmente aberto e NF = normalmente fechado.
Para o seu correto funcionamento, os contatos auxiliares A, B, C e D, correspondem a
Provas
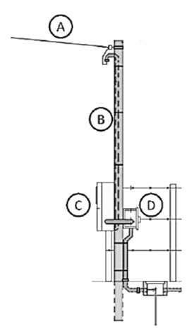
Considere a figura a seguir, que apresenta a entrada de energia em uma instalação elétrica:

Provas

Considerando que cada condutor de proteção é conectado nos pontos de iluminação e tomada, é necessário que, nos trechos A, B, C, D e E, passem os seguintes condutores:
Provas
Caderno Container