Magna Concursos

Foram encontradas 630 questões.

1312893 Ano: 2013
Disciplina: Engenharia Civil
Banca: DIRENS Aeronáutica
Orgão: CIAAR
Provas:

A vida útil de uma estrutura está intimamente ligada à durabilidade do material quando submetido às agressividades sujeitas no ambiente onde essa estrutura está edificada. Associe as colunas, relacionando, de acordo com a NBR 6.118/2007, a classe de agressividade e o cobrimento nominal das peças (vigas, pilares e lajes), para um c de 10 mm. A seguir, assinale a alternativa que apresenta a relação correta. (Algumas letras poderão não ser usadas.)

Classe de agressividade

(1) Classe I

(2) Classe II

(3) Classe III

(4) Classe IV

Cobrimento nominal das peças

(A) 45 mm para lajes.
(B) 30 mm para pilares e vigas.
(C) 20 mm para lajes.
(D) 25 mm para lajes.
(E) 50 mm para pilares e vigas.

(F) 40 mm para pilares e vigas.'

 

Provas

Questão presente nas seguintes provas
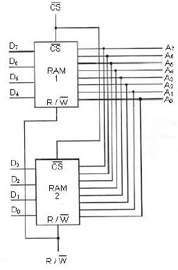
1309364 Ano: 2013
Disciplina: Engenharia Eletrônica
Banca: DIRENS Aeronáutica
Orgão: CIAAR

O circuito abaixo representa uma forma de expansão para memórias RAM. O endereço de localidade inicial, localidade final e a sua capacidade são, respectivamente,

Enunciado 1309364-1

 

Provas

Questão presente nas seguintes provas
1309016 Ano: 2013
Disciplina: Engenharia Mecânica
Banca: DIRENS Aeronáutica
Orgão: CIAAR

Nos motores de combustão interna (explosão) há um conjunto de peças fixas e móveis, cujo funcionamento e nomenclatura devem ser bem compreendidos pelos profissionais da engenharia mecânica, em especial. São denominações destas peças móveis, exceto:

 

Provas

Questão presente nas seguintes provas
1308905 Ano: 2013
Disciplina: Odontologia
Banca: DIRENS Aeronáutica
Orgão: CIAAR
Provas:

O direcionamento da s cargas sobre o sistema implante-prótese é um aspecto relevante para a longevidade do tratamento reabilitador, visto que a interface osso-implante pode sofrer efeitos deletérios, de acordo com a direção da carga aplicada. Para implantes, cujo corpo está angulado em 30°, estima-se que uma força de 100 N aplicada sobre o sistema implante-prótese resulta em componentes vestibular e axial (em N), respectivamente, de

 

Provas

Questão presente nas seguintes provas
1308337 Ano: 2013
Disciplina: Engenharia Mecânica
Banca: DIRENS Aeronáutica
Orgão: CIAAR

Algumas reações ocorrem durante resfriamento e possuem características próprias, como, por exemplo, uma fase que se separa em duas outras fases ou duas fases que formam uma terceira.

Enunciado 1308337-1

Considerando a denominação de reações que ocorrem no diagrama de fases níquel- cromo apresentado anteriormente, a região que ocorre no resfriamento na composição percentual destacada e que passa pelo círculo tracejado representa

 

Provas

Questão presente nas seguintes provas
1307717 Ano: 2013
Disciplina: Engenharia Eletrônica
Banca: DIRENS Aeronáutica
Orgão: CIAAR

Enunciado 1307717-1

Considerando o circuito apresentado pela figura, o valor de RX para que se obtenha na saída Vo uma tensão igual a 25 V é de

 

Provas

Questão presente nas seguintes provas
1307568 Ano: 2013
Disciplina: Odontologia
Banca: DIRENS Aeronáutica
Orgão: CIAAR
Provas:

Dolder, em 1964, na universidade de Zurich, construiu cerca de 600 trabalhos removíveis, cujos resultados foram acompanhados por uma década. E, segundo seus registros, os resultados se apresentaram altamente favoráveis sob diversos aspectos. Com base no relato anterior, analise as afirmativas abaixo.

I. Contenção dos dentes suportes, manutenção da saúde gengival, durabilidade do trabalho protético e satisfação da expectativa do paciente quanto à estética são os objetivos deste trabalho protético, utilizando a barra de Dolder.

II. Até onde seja possível, a barra deverá ser alinhada perpendicularmente à bissetriz do ângulo formado pelas linhas estabelecidas ao longo das cristas dos rebordos edentados posteriores.

III. Quando não for possível utilizar uma única barra de Dolder, é aconselhável usar tantos segmentos retilíneos quantos necessários, unindo-os por meio de soldagem às bases metálicas das raízes, de acordo com sua distribuição no arco.

Estão corretas as afirmativas

 

Provas

Questão presente nas seguintes provas
1307403 Ano: 2013
Disciplina: TI - Sistemas Operacionais
Banca: DIRENS Aeronáutica
Orgão: CIAAR

Os sistemas operacionais implementam, basicamente, três estratégias para determinar em qual área livre um programa será carregado para execução. Assinale a técnica que não pertence a essas estratégias.

 

Provas

Questão presente nas seguintes provas
1307346 Ano: 2013
Disciplina: Odontologia
Banca: DIRENS Aeronáutica
Orgão: CIAAR
Provas:

O periodonto tenta s e acomodar às forças exercidas sobre a coroa. Esta capacidade adaptativa varia entre diferentes pessoas e na mesma pessoa em momentos diferentes. O efeito das forças oclusais sobre o periodonto é influenciado pela magnitude, direção, duração e frequência. Em relação ao exposto, assinale a afirmativa correta.

 

Provas

Questão presente nas seguintes provas
1307310 Ano: 2013
Disciplina: Odontologia
Banca: DIRENS Aeronáutica
Orgão: CIAAR
Provas:

Leia o trecho abaixo e, em seguida, assinale a alternativa que preenche correta e respectivamente as lacunas. A anemia perniciosa é uma anemia megaloblástica causada pela má absorção de uma vitamina. O fator , produzido pelas células parietais do revestimento estomacal, é necessário para absorção da vitamina .

 

Provas

Questão presente nas seguintes provas