Foram encontradas 510 questões.
Quanto à arquitetura racionalizada e à modulação, assinale a opção correta.
Provas
Com base nas três figuras de pré-moldados de concreto acima e a respeito de industrialização e racionalização, assinale a opção correta.
Provas
Com relação à Política Nacional do Meio Ambiente, assinale a opção correta.
Provas
De acordo com o Estatuto da Cidade, as diretrizes de ordenação e controle do uso do solo visam
Provas
Os objetivos do Estatuto da Cidade, visa promover a
I reforma urbana.
II especulação imobiliária.
III ordenação do uso e ocupação do solo urbano.
IV gestão democrática da cidade.
V instalação de equipamentos de controle de tráfego.
VI diminuição da densidade urbana.
Com base nas diretrizes de política urbana do Estatuto da Cidade, estão certos apenas os itens
Provas
Quanto ao geoprocessamento, assinale a opção correta.
Provas
Considere as descrições dos quatro materiais de revestimento a seguir.
* Pintura acrílica - à base de tinta de alta resistência e grande desempenho sobre diversos tipos de superfícies, como emboço, massa corrida ou acrílica, gesso, concreto, cimento amianto etc.
* Pintura epóxi - à base de tintas epoxídicas compostas por dois componentes sintéticos. Deve ser usada em período curto após a mistura, e tem bom poder de aderência e boa resistência à corrosão e aos gases, porém é relativamente caro e bastante difícil de aplicar.
* Revestimento com laminado melamínico (fórmica) - como a sua superfície é lisa e não retém sujeira, não há proliferação de fungos e bactérias e a conservação é simples.
* Cerâmica - uma superfície revestida com placas cerâmicas é formada basicamente por 6 camadas de materiais diferentes: base, chapisco, emboço, argamassa colante, rejunte, revestimento cerâmico. O rejuntamento pode ser iniciado no mínimo 3 dias após concluído o assentamento das peças. As juntas estruturais devem ser demarcadas conforme o projeto.
Acerca de revestimentos e com base nas informações apresentadas, assinale a opção correta.
Provas
Os pisos de alta resistência caracterizam-se pela elevada resistência à abrasão: tipo industrial – composto somente de quartzo de 7 mm a 10 mm de espessura; tipo pesado – composto de quartzo e carborundum de 10 mm a 15 mm de espessura; tipo superpesado – composto de quartzo, carborundum e agregados metálicos de 12 mm a 20 mm de espessura.
Para se evitarem trincas indesejáveis, nos pisos e contrapisos, recomendam-se as juntas com perfil plástico tipo I no acabamento.
Considerando as características de cada tipo de piso de alta resistência, assinale a opção correta.
Provas

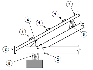
Para orientar a comunicação com o pessoal da obra, é preciso dominar a terminologia das peças que compõem uma obra. Com relação ao telhado esquematizado na figura acima, é correto afirmar que
Provas

Considerando as figuras acima, assinale a opção correta.
Provas
Caderno Container