Foram encontradas 260 questões.
Uma estufa do laboratório no CEFET-MG possui potência de 3.000 Watts, a tensão é 220 Volts. O
quadro elétrico de funcionamento possui 5 disjuntores (P1 a P5), conforme a figura abaixo.
O disjuntor que mais se aproxima e suporta a corrente de alimentação do forno é:
O disjuntor que mais se aproxima e suporta a corrente de alimentação do forno é:
Provas
Questão presente nas seguintes provas
Analise a figura.

O multímetro está regulado na escala para medição de
Provas
Questão presente nas seguintes provas
Analise a figura:

Segundo a classificação do eletrodo revestido pela Norma American Welding Society (AWS), assinale a alternativa correta.
Provas
Questão presente nas seguintes provas
Uma barra com seção circular de diâmetro 20 mm está sujeita a uma tração axial de 3 KN. O
comprimento inicial da barra é 200 mm (l
o). Assinale a opção correta que apresenta o valor da
tensão normal na barra em (MPa). Considere (Pi) = 3.
Provas
Questão presente nas seguintes provas
Sobre os tipos de tratamento térmico dos aços liga à base de (Fe-C), assinale (V) para as afirmativas
verdadeiras e (F) para as falsas.
( ) Recozimento é o aquecimento acima da temperatura de recristalização seguido de um resfriamento brusco, e um de seus objetivos é remover as tensões internas.
( ) Recozimento tem por objetivo remover as tensões internas, diminuir a dureza e ajustar o tamanho do grão.
( ) Têmpera é o processo que modifica a estrutura interna do material acompanhado do ganho de dureza, proveniente do resfriamento rápido em qualquer meio gasoso.
( ) Esferoidização é mais aplicável em aços de médio e alto teor de carbono, e um dos seus objetivos é melhorar a usinabilidade do material.
( ) Revenimento é aplicado após a têmpera. Uma das alterações da sua estrutura alcançada é a redução de dureza e resistência à tração.
A sequência correta é
( ) Recozimento é o aquecimento acima da temperatura de recristalização seguido de um resfriamento brusco, e um de seus objetivos é remover as tensões internas.
( ) Recozimento tem por objetivo remover as tensões internas, diminuir a dureza e ajustar o tamanho do grão.
( ) Têmpera é o processo que modifica a estrutura interna do material acompanhado do ganho de dureza, proveniente do resfriamento rápido em qualquer meio gasoso.
( ) Esferoidização é mais aplicável em aços de médio e alto teor de carbono, e um dos seus objetivos é melhorar a usinabilidade do material.
( ) Revenimento é aplicado após a têmpera. Uma das alterações da sua estrutura alcançada é a redução de dureza e resistência à tração.
A sequência correta é
Provas
Questão presente nas seguintes provas
No que se refere aos objetivos do tratamento térmico dos aços, analise as afirmativas a seguir:
I. Reduzir a tensão interna proveniente de trabalho mecânico. II. Melhorar a usinabilidade para facilitar o corte. III. Melhorar a ductilidade dos aços para realização de trabalhos mecânicos.
Estão corretas
I. Reduzir a tensão interna proveniente de trabalho mecânico. II. Melhorar a usinabilidade para facilitar o corte. III. Melhorar a ductilidade dos aços para realização de trabalhos mecânicos.
Estão corretas
Provas
Questão presente nas seguintes provas
A questão deve ser respondidas com base nas informações contidas na figura a seguir.

( ) A região 1 do gráfico campo de tolerância é indicada para ajustes fixos. ( ) A região 3 do gráfico campo de tolerância é indicada para ajustes móveis. ( ) O campo de tolerância (h) indica um sistema de ajuste denominado eixo base. ( ) O campo de tolerância (F) indica que o furo será sempre maior que a dimensão nominal. ( ) O campo de tolerância acima da linha zero indica que todas as dimensões aceitáveis da peça são maiores que a dimensão nominal da cota.
A sequência correta é
Provas
Questão presente nas seguintes provas
A questão deve ser respondidas com base nas informações contidas na figura a seguir.

Provas
Questão presente nas seguintes provas
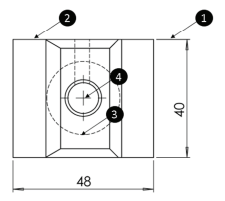
Analise a vista do desenho.

Os números destacados no desenho indicam linhas de:
Provas
Questão presente nas seguintes provas
Analise o desenho técnico:
Em relação ao tipo de corte e à linha indicada pela seta, assinale a opção correta:
Em relação ao tipo de corte e à linha indicada pela seta, assinale a opção correta:
Provas
Questão presente nas seguintes provas
Cadernos
Caderno Container