Foram encontradas 265 questões.
O gráfico a seguir registra a componente horizontal sx
do movimento
de oscilação de um pêndulo gigante sx
: 
Com base nesses dados, é correto afirmar que

Com base nesses dados, é correto afirmar que
Provas
Questão presente nas seguintes provas
Ao realizar uma prática experimental para a obtenção do módulo de
elasticidade de uma haste metálica, um grupo de estudantes, por meio
de uma linearização dos dados coletados, obteve o seguinte gráfico: 
Com base nesses dados, analise as asserções a seguir e a relação entre elas.
I- A linearização pressupõe um pré-tratamento algébrico antes de se esboçar a relação gráfica entre as grandezas que se quer relacionar
PORQUE
II- ao fazer a linearização, reduz-se a expressão não-linear a uma reta, em um gráfico com eixos onde houve uma substituição de variáveis.
Sobre as asserções, é correto afirmar que

Com base nesses dados, analise as asserções a seguir e a relação entre elas.
I- A linearização pressupõe um pré-tratamento algébrico antes de se esboçar a relação gráfica entre as grandezas que se quer relacionar
PORQUE
II- ao fazer a linearização, reduz-se a expressão não-linear a uma reta, em um gráfico com eixos onde houve uma substituição de variáveis.
Sobre as asserções, é correto afirmar que
Provas
Questão presente nas seguintes provas
Leia o texto abaixo:
A aceleração da gravidade foi medida no Departamento de Física da UFMG, no dia 29 de julho de 1981, uma quarta-feira, no local onde hoje se situa o Auditório 4, e que na época era parte de um grande espaço destinado a aulas práticas de Física Geral.
A medição foi realizada pelo técnico João Gualda, da Coordenadoria de Geofísica do Observatório Nacional (ON), RJ, dentro do programa de estabelecimento da Rede Gravimétrica Fundamental Brasileira. Acompanharam a operação o Prof. Luiz Muniz Barreto, então Diretor do ON, o Prof. Rodrigo Dias Társia do Departamento de Física e o Prof. Domingos S.L. Soares, que na ocasião ministrava uma aula prática de Termodinâmica.
O valor encontrado foi
g = 9,78 38 163(4) m/s².
Para comparação, o valor medido no Aeroporto da Pampulha foi
g = 9,78 38 550(4) m/s².
Os valores obtidos foram corrigidos dos efeitos de marés continentais, segundo informação fornecida pelo técnico que realizou a medida. Semelhantemente aos oceanos, a crosta terrestre sofre deformações, especialmente devido à influência da Lua. As correções obviamente são feitas para o instante da realização da medida.
Fonte: Disponível em: <http://lilith.fisica.ufmg.br/~dsoares/g/g.htm>
Com base no texto anterior e em seus conhecimentos sobre precisão e incertezas, avalie as seguintes afirmações:
I- Sem a devida indicação dos instrumentos utilizados para essa medição, não é possível deduzir se a medida foi feita por um pêndulo oscilante ou um gravímetro de mola selado à vácuo.
II- As medições no campus da UFMG são exatas em relação às medidas realizadas no aeroporto da Pampulha em 4 milionésimos.
III- Sem conhecer o valor absoluto de g em Belo Horizonte, é impossível afirmar qual dos dois valores de g apresentados é o mais preciso.
IV- Embora o algarismo duvidoso seja na casa decimal 10–7, ambos valores de g apresentados possuem oito algarismos significativos.
Estão corretas apenas
A aceleração da gravidade foi medida no Departamento de Física da UFMG, no dia 29 de julho de 1981, uma quarta-feira, no local onde hoje se situa o Auditório 4, e que na época era parte de um grande espaço destinado a aulas práticas de Física Geral.
A medição foi realizada pelo técnico João Gualda, da Coordenadoria de Geofísica do Observatório Nacional (ON), RJ, dentro do programa de estabelecimento da Rede Gravimétrica Fundamental Brasileira. Acompanharam a operação o Prof. Luiz Muniz Barreto, então Diretor do ON, o Prof. Rodrigo Dias Társia do Departamento de Física e o Prof. Domingos S.L. Soares, que na ocasião ministrava uma aula prática de Termodinâmica.
O valor encontrado foi
g = 9,78 38 163(4) m/s².
Para comparação, o valor medido no Aeroporto da Pampulha foi
g = 9,78 38 550(4) m/s².
Os valores obtidos foram corrigidos dos efeitos de marés continentais, segundo informação fornecida pelo técnico que realizou a medida. Semelhantemente aos oceanos, a crosta terrestre sofre deformações, especialmente devido à influência da Lua. As correções obviamente são feitas para o instante da realização da medida.
Fonte: Disponível em: <http://lilith.fisica.ufmg.br/~dsoares/g/g.htm>
Com base no texto anterior e em seus conhecimentos sobre precisão e incertezas, avalie as seguintes afirmações:
I- Sem a devida indicação dos instrumentos utilizados para essa medição, não é possível deduzir se a medida foi feita por um pêndulo oscilante ou um gravímetro de mola selado à vácuo.
II- As medições no campus da UFMG são exatas em relação às medidas realizadas no aeroporto da Pampulha em 4 milionésimos.
III- Sem conhecer o valor absoluto de g em Belo Horizonte, é impossível afirmar qual dos dois valores de g apresentados é o mais preciso.
IV- Embora o algarismo duvidoso seja na casa decimal 10–7, ambos valores de g apresentados possuem oito algarismos significativos.
Estão corretas apenas
Provas
Questão presente nas seguintes provas
Leia o texto abaixo.
O Mars Climate Orbiter (MCO)
Em 11 de dezembro de 1998, a NASA lançava o MCO, uma sonda espacial de 638 kg cujo objetivo era estudar o clima marciano. No entanto, em 23 de setembro de 1999, quando a sonda fazia a manobra de inserção na órbita de Marte, a comunicação com a sonda foi perdida.
Um dos relatórios produzidos posteriormente para entender os motivos do acidente determinou que a causa principal foi o uso de sistemas de unidades conflitantes. Os softwares utilizados pela equipe de controle na Terra forneciam dados no sistema de unidades usuais dos Estados Unidos (similar ao sistema imperial) enquanto que a sonda utilizava unidades do Sistema Internacional de Unidades. Como resultado, instruções erradas foram enviadas para a sonda, fazendo-a se aproximar demais do planeta. Acredita-se que ela foi destruída pelo atrito de entrada da atmosfera ou que tenha sido perdida no espaço caso tenha conseguido sair da atmosfera. Custo da missão: 327,6 milhões de dólares.
De acordo com o relatório, o sistema em terra que calculava o impulso da sonda produziu resultados em libra-força segundo (lbf.s) enquanto o sistema de cálculo de trajetória esperava o resultado em Newtonsegundo (N.s).
Fonte: Disponível em: <https://cienciaprogramada.com.br/2020/08/nasa-perdemilhoes-erros-unidade>
Com base no texto e em seus conhecimentos sobre unidades e movimento linear, avalie as seguintes afirmações (considere 1lb = 0,45kg):
I- Os valores digitados no sistema da equipe de controle para a força dos propulsores deveriam ser corrigidos por um fator multiplicativo de 2,2 antes de serem enviados para a sonda.
II- O envio de parâmetros menores para o tempo de acionamento dos propulsores da sonda poderia ter evitado o acidente.
III- O valor da libra-força em relação ao Newton é diferente na Terra e em Marte.
IV- A aplicação de um impulso de 1276 N.s é capaz de variar a velocidade da sonda em 2 m/s.
Estão corretas apenas
O Mars Climate Orbiter (MCO)
Em 11 de dezembro de 1998, a NASA lançava o MCO, uma sonda espacial de 638 kg cujo objetivo era estudar o clima marciano. No entanto, em 23 de setembro de 1999, quando a sonda fazia a manobra de inserção na órbita de Marte, a comunicação com a sonda foi perdida.
Um dos relatórios produzidos posteriormente para entender os motivos do acidente determinou que a causa principal foi o uso de sistemas de unidades conflitantes. Os softwares utilizados pela equipe de controle na Terra forneciam dados no sistema de unidades usuais dos Estados Unidos (similar ao sistema imperial) enquanto que a sonda utilizava unidades do Sistema Internacional de Unidades. Como resultado, instruções erradas foram enviadas para a sonda, fazendo-a se aproximar demais do planeta. Acredita-se que ela foi destruída pelo atrito de entrada da atmosfera ou que tenha sido perdida no espaço caso tenha conseguido sair da atmosfera. Custo da missão: 327,6 milhões de dólares.
De acordo com o relatório, o sistema em terra que calculava o impulso da sonda produziu resultados em libra-força segundo (lbf.s) enquanto o sistema de cálculo de trajetória esperava o resultado em Newtonsegundo (N.s).
Fonte: Disponível em: <https://cienciaprogramada.com.br/2020/08/nasa-perdemilhoes-erros-unidade>
Com base no texto e em seus conhecimentos sobre unidades e movimento linear, avalie as seguintes afirmações (considere 1lb = 0,45kg):
I- Os valores digitados no sistema da equipe de controle para a força dos propulsores deveriam ser corrigidos por um fator multiplicativo de 2,2 antes de serem enviados para a sonda.
II- O envio de parâmetros menores para o tempo de acionamento dos propulsores da sonda poderia ter evitado o acidente.
III- O valor da libra-força em relação ao Newton é diferente na Terra e em Marte.
IV- A aplicação de um impulso de 1276 N.s é capaz de variar a velocidade da sonda em 2 m/s.
Estão corretas apenas
Provas
Questão presente nas seguintes provas
O manual de instruções de um forno do tipo mufla apresenta a seguinte orientação:
Atenção: Para o correto manuseio do equipamento e a proteção das amostras, a porta do equipamento só deverá ser aberta quando a diferença entre as temperaturas interna e externa for inferior a 50 ºF.
Considere uma sala com a seguinte temperatura:

Nesse caso, a maior temperatura interna segura para a abertura da porta do equipamento é
Provas
Questão presente nas seguintes provas
O multímetro digital é um instrumento muito versátil e extremamente
útil no estudo de circuitos elétricos. Essa versatilidade se dá devido às
diferentes maneiras em que o equipamento pode ser conectado e às
diversas funções em que ele pode ser configurado , tornando possível a
medição de diferentes grandezas e escalas em um único equipamento.
Considere o texto referente à utilização de um multímetro digital num experimento da Lei de Faraday.
Na primeira parte do experimento, ligou-se, em série, uma bobina pequena, um LED e o multímetro. Em seguida, mostrou-se que, durante a aproximação de um imã (ferromagneto) da bobina pequena, o LED acendia ligeiramente, e a leitura do multímetro variava brevemente com a luz quando configurado no modo , enquanto no modo lia-se um valor constante.
Na segunda parte do experimento, mantido o arranjo, posicionou-se a bobina pequena dentro de uma bobina de Helmholtz, de forma que se fez necessário, para a leitura correta, trocar a leitura de tensão de para do modo voltímetro.
A sequência que preenche, corretamente, as lacunas do texto é
Considere o texto referente à utilização de um multímetro digital num experimento da Lei de Faraday.
Na primeira parte do experimento, ligou-se, em série, uma bobina pequena, um LED e o multímetro. Em seguida, mostrou-se que, durante a aproximação de um imã (ferromagneto) da bobina pequena, o LED acendia ligeiramente, e a leitura do multímetro variava brevemente com a luz quando configurado no modo , enquanto no modo lia-se um valor constante.
Na segunda parte do experimento, mantido o arranjo, posicionou-se a bobina pequena dentro de uma bobina de Helmholtz, de forma que se fez necessário, para a leitura correta, trocar a leitura de tensão de para do modo voltímetro.
A sequência que preenche, corretamente, as lacunas do texto é
Provas
Questão presente nas seguintes provas
O comprimento de um objeto é frequentemente medido por meio
de comparação direta, utilizando instrumentos como uma régua
milimetrada ou um paquímetro universal. Contudo o comprimento
também pode ser medido por meio de efeitos indiretos, como o da
rotação de um parafuso, utilizando um micrômetro de arco.
Com base nas informações expostas e em seus conhecimentos acerca de instrumentos de medição, analise as seguintes afirmações:
I- Pode-se atribuir a todas as medições de comprimento listadas uma incerteza mínima de metade da menor escala do instrumento utilizado diretamente.
II- Dentre os instrumentos listados, apenas o paquímetro pode ser utilizado adequadamente para medir o comprimento transversal de uma fenda ou cavidade.
III- Dentre os instrumentos listados, o mais adequado para medir com três algarismos significativos a espessura do grafite utilizado em uma lapiseira 0.5mm é o micrômetro de arco.
IV- O cursor de um paquímetro universal é dotado de um parafuso, que tem como funcionalidade principal a realização de um ajuste fino, movendo o cursor suavemente a cada volta.
Estão corretas apenas
Com base nas informações expostas e em seus conhecimentos acerca de instrumentos de medição, analise as seguintes afirmações:
I- Pode-se atribuir a todas as medições de comprimento listadas uma incerteza mínima de metade da menor escala do instrumento utilizado diretamente.
II- Dentre os instrumentos listados, apenas o paquímetro pode ser utilizado adequadamente para medir o comprimento transversal de uma fenda ou cavidade.
III- Dentre os instrumentos listados, o mais adequado para medir com três algarismos significativos a espessura do grafite utilizado em uma lapiseira 0.5mm é o micrômetro de arco.
IV- O cursor de um paquímetro universal é dotado de um parafuso, que tem como funcionalidade principal a realização de um ajuste fino, movendo o cursor suavemente a cada volta.
Estão corretas apenas
Provas
Questão presente nas seguintes provas
Considere um carro com os pneus calibrados conforme sugerido pelo
manual: 30 libras/polegada2 nos pneus traseiros e 32 libras/polegada2
nos pneus dianteiros.
Para determinar a massa desse carro, sem utilizar uma balança, é necessário que se saiba também
Para determinar a massa desse carro, sem utilizar uma balança, é necessário que se saiba também
Provas
Questão presente nas seguintes provas
Um pequeno bloco de metal e uma esfera de isopor – ambos imersos
no ar – estão equilibrados em um suporte, como mostra a figura a
seguir.

Quando esse conjunto (bloco de metal, esfera de isopor e suporte) é inserido dentro de uma campânula, a pressão do ar nesse ambiente é reduzida drasticamente.
Nessa nova condição, é correto afirmar que:

Quando esse conjunto (bloco de metal, esfera de isopor e suporte) é inserido dentro de uma campânula, a pressão do ar nesse ambiente é reduzida drasticamente.
Nessa nova condição, é correto afirmar que:
Provas
Questão presente nas seguintes provas
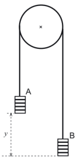
O texto e a imagem abaixo refere-se à questão
A máquina de Atwood é utilizada para determinar, experimentalmente,
o valor do campo gravitacional (g).
Um cronômetro digital registra o intervalo de tempo para que
os conjuntos A e B percorram a distância y a partir das posições
representadas na figura.
A massa total do conjunto é mantida constante, mas são realizados
diferentes ensaios ao variar a diferença entre as massas dos conjuntos
A e B.

Provas
Questão presente nas seguintes provas
Cadernos
Caderno Container