Foram encontradas 845 questões.
A corrosão é resultado de reações eletroquímicas heterogêneas que se desenvolvem, geralmente, na superfície de separação entre o metal e o meio corrosivo. Algumas variáveis podem aumentar a taxa de corrosão, como por exemplo, velocidade do fluido, temperatura, fatores mecânicos, entre outros.
Assinale a alternativa que apresenta somente fatores mecânicos que podem interferir negativamente no processo de corrosão.
Provas
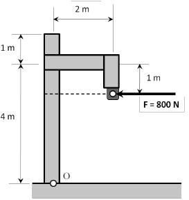
Analise a figura abaixo:

Assinale a alternativa que indica corretamente o momento gerado pela força F com relação ao ponto O na figura.
Provas
Os limites de consistência dos solos são teores de umidade que definem a mudança de estado dos solos.
Analise as descrições abaixo:
- Limite entre o estado semissólido e o estado sólido
- Limite entre o estado líquido e o estado plástico.
- Limite entre o estado plástico e o estado semissólido.
Assinale a alternativa que apresenta a denominação correta de cada limite, respectivamente
Provas
O solo é um material constituído por um conjunto de partículas sólidas, deixando entre si vazios que poderão estar parcial ou totalmente preenchidos pela água. Essa água contida no solo pode ser classificada.
Assinale a alternativa correta em relação ao assunto.
Provas
O princípio básico que rege o escoamento em canais é o da conservação da energia total, originada da análise do movimento da partícula elementar e integrada ao longo da seção, onde a distribuição de pressão é considerada hidrostática e a velocidade em termos médios. A equação descreve o comportamento de um fluido que se move ao longo de um tubo ou conduto.
Trata-se da equação de:
Provas
A eletricidade é uma das formas de aproveitar os recursos naturais para o desenvolvimento humano, sendo necessário o entendimento de conceitos relacionados:
1. A corrente elétrica, que é a movimentação
de cargas elétricas, ocorre quando uma fonte
externa de energia é aplicada sobre um corpo
(geralmente metálico), cujos elétrons passam
a mover-se de maneira ordenada, com direção
e intensidade ditados por essa fonte.
2. A resistência elétrica é a medida da oposição
que os átomos de um material oferecem à
passagem da corrente elétrica. Essa oposição
depende da natureza do material, de suas
dimensões e da sua temperatura.
3. A diferença de potencial elétrico entre dois
pontos é denominada tensão elétrica, que
pode ser definida como a força necessária
para movimentar elétrons.
Assinale a alternativa que indica todas as afirmativas corretas
Provas
Assinale a alternativa que indica a denominação correta dos solos pouco desenvolvidos, de modo geral muito rasos, que ainda apresentam características do material originário evidenciado pela presença de minerais primários. Estão sujeitos à erosão devido à baixa permeabilidade.
Provas
Que tipo de manutenção é realizada quando um equipamento possui uma falha ou condição anormal de operação e a correção dessa falha depende de decisão gerencial, em função do acompanhamento preditivo ou pela decisão de operar até quebrar?
Provas
Assinale a alternativa correta em relação ao funcionamento de motores a combustão.
Provas
Os condutos livres estão sujeitos à pressão atmosférica, pelo menos em um ponto da sua seção do escoamento. O escoamento nesses condutos pode se realizar de formas diferentes.
Assinale a alternativa correta em relação ao assunto.
Provas
Caderno Container