Foram encontradas 996 questões.
A potência ativa consumida por uma indústria é igual a
50 kW, com fator de potência igual a 0,95. Ao se prospectar
geradores a dísel que supram a carga elétrica necessária ao
funcionamento dessa indústria, deparou-se com as opções
a seguir.

A partir dessas informações, e considerando que 1 HP seja equivalente a 750 W, para suprir a necessidade da indústria, é correto optar pelo(s) grupo(s) gerador(es) do(s) fornecedor(es)

A partir dessas informações, e considerando que 1 HP seja equivalente a 750 W, para suprir a necessidade da indústria, é correto optar pelo(s) grupo(s) gerador(es) do(s) fornecedor(es)
Provas
Questão presente nas seguintes provas

Acerca da carga elétrica resistiva com as características apresentadas na tabela precedente, assinale a opção correta.
Provas
Questão presente nas seguintes provas
Na elaboração de um projeto de uma instalação elétrica, é
necessário
I determinar o método e a tensão de instalação.
II conhecer as potências dos pontos de utilização e calcular a corrente do projeto.
III escolher a bitola do condutor por capacidade de condução de corrente.
IV verificar se o condutor escolhido satisfaz quanto à queda de tensão admissível.
Assinale a opção correta.
I determinar o método e a tensão de instalação.
II conhecer as potências dos pontos de utilização e calcular a corrente do projeto.
III escolher a bitola do condutor por capacidade de condução de corrente.
IV verificar se o condutor escolhido satisfaz quanto à queda de tensão admissível.
Assinale a opção correta.
Provas
Questão presente nas seguintes provas
No circuito elétrico a seguir, a carga trifásica conectada
em triângulo é alimentada por uma fonte de tensão trifásica
senoidal equilibrada com sequência de fases ABC e o fasor
tensão VAB tem módulo igual a 220 V e fase igual a 0°.
Nessa situação, o valor da potência complexa trifásica da carga tem módulo e fase iguais, respectivamente, a
Nessa situação, o valor da potência complexa trifásica da carga tem módulo e fase iguais, respectivamente, a
Provas
Questão presente nas seguintes provas
Considerando circuitos elétricos operando em regime permanente
senoidal, assinale a opção correta acerca das relações dos
diferentes tipos de potência em seus componentes.
Provas
Questão presente nas seguintes provas
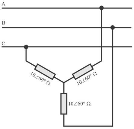
No circuito elétrico trifásico a seguir, a carga trifásica
conectada em estrela é alimentada por uma fonte de tensão
trifásica senoidal equilibrada com sequência de fases ABC e o
fasor tensão VA tem módulo igual a 220 V e fase 0°.
Nessa situação hipotética, o valor do fasor corrente na fase B do sistema terá módulo e fase respectivamente iguais a
Nessa situação hipotética, o valor do fasor corrente na fase B do sistema terá módulo e fase respectivamente iguais a
Provas
Questão presente nas seguintes provas
Julgue os itens que se seguem, acerca de cargas trifásicas
equilibradas alimentadas por meio de fontes de tensão trifásicas
senoidais também equilibradas.
I No caso de cargas trifásicas equilibradas conectadas em estrela, o fasor da corrente de linha é igual ao fasor da corrente de fase, enquanto que o módulo do fasor da tensão de linha é igual a √3 vezes o módulo do fasor da tensão de fase.
II No caso de cargas trifásicas equilibradas conectadas em triângulo, o fasor da tensão de linha é igual ao fasor da tensão de fase, enquanto que o módulo do fasor da corrente de linha é igual a √3 vezes o módulo do fasor da corrente de fase.
III No caso de cargas trifásicas equilibradas conectadas em triângulo, é possível determinar uma carga equivalente conectada em estrela, de modo que a relação entre suas impedâncias seja ZY = 3ZΔ.
Assinale a opção correta.
I No caso de cargas trifásicas equilibradas conectadas em estrela, o fasor da corrente de linha é igual ao fasor da corrente de fase, enquanto que o módulo do fasor da tensão de linha é igual a √3 vezes o módulo do fasor da tensão de fase.
II No caso de cargas trifásicas equilibradas conectadas em triângulo, o fasor da tensão de linha é igual ao fasor da tensão de fase, enquanto que o módulo do fasor da corrente de linha é igual a √3 vezes o módulo do fasor da corrente de fase.
III No caso de cargas trifásicas equilibradas conectadas em triângulo, é possível determinar uma carga equivalente conectada em estrela, de modo que a relação entre suas impedâncias seja ZY = 3ZΔ.
Assinale a opção correta.
Provas
Questão presente nas seguintes provas

No circuito precedente, a impedância equivalente vista entre os pontos A e B tem valor igual a
Provas
Questão presente nas seguintes provas
Uma impedância constituída pela associação em série de um
resistor, um capacitor e um indutor ideais, alimentada por uma
fonte de tensão senoidal com a frequência fundamental,
Provas
Questão presente nas seguintes provas
Os sistemas elétricos de baixa tensão são classificados segundo
diversos esquemas de aterramento, que diferem entre si em
função da situação de alimentação e das massas com relação à
terra. Acerca dos esquemas de aterramento, assinale a opção
correta de acordo com a norma ABNT 5410:2004.
Provas
Questão presente nas seguintes provas
Cadernos
Caderno Container